
Belt Drive Turntable System

Made in Chaina
Instruction manual
introduction
Thank you for purchasing by one Belt Drive Turntable System. This instruction manual contains important information about safety, usage and disposal. Use the product as described and keep this manual for future reference. If you sell this turntable or pass it on, also give this manual to the new owner.
important Safety Instructions
- Read all instructions before use.
- Keep these instructions for later use.
- Follow all instructions.
- Heed all warnings.
- Do not use this product near water.
- Clean only with a dry cloth.
- Do not block any ventilation openings. Install in accordance with the manufacturer.
- Do not place near any heat sources such as radiators, heat registers, or stoves.
- Do not defeat the safety purpose of the polarized or grounding-type plug. A polarized plug has two flat prongs with one wider than the other. A grounding-type plug has two flat prongs and a third grounding prong. The wide prong or the third prong is provided for your safety. If your outlets are not compatible with this product’s power plug, consult an electrician about replacing the obsolete outlets.
- Protect the power cord from being pinched or walked on, particularly close to the power plug or the point at which the power cord connects to the product.
- Unplug this product during lightning storms or when unused for long periods of time.
- Do not overload the electrical outlet. Use only power source as indicated.
- Only use attachments/accessories specified by the manufacturer.
- Refer all servicing to qualified service personnel. Servicing is required when the product has been damaged in any way, such as if the power cord is damaged, if the liquid has been spilled or objects have fallen onto/into the product if the product has been exposed to rain or moisture, if the product has been dropped, or if the product has been malfunctioning or not operating normally.
- This product should not be exposed to dripping or splashing water and objects filled with liquids, such as vases or bowls, should not be placed on the product.
- Use replacement parts as specified by the manufacturer.
- Upon completion of any service or repairs to this product, ask the service technician to perform safety checks.
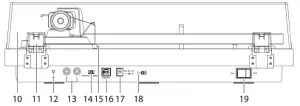
Product Description
- Counterweight
- Anti-skating Stick
- Turntable Planer
- Tonearm Lift Lever
- Tonearm Rest
- 33/45 RPM Selector
- Tonearm
- Stop/Start Dial
- Cartridge


- Lid
- Lid Hinge
- Ground Connector
- PHONO & Line Out Jacks
- PHONO & Line Out Switch
- Anti-skating Weight
- USB-PC Port
- AC-DC Power Jack
- Bluetooth Indicator
- Power Switch
Upon opening the turntable’s package, locate all of the following included Items.
- Turntable Unit
- Power Adapter
- Lid
- Counterweight
- Anti-skating Weight
- Planer with Belt
- 45 RPM Adaptor
- Slip Mat
- Cartridge Alignment Protractor
- USB-PC Cable
- Instruction Manual
This turntable is supplied with a factory-fitted cartridge that’s already adjusted. Note: Instructions provided in this manual for adjusting the cartridge are provided in case the cartridge is replaced at a later date by a different model.
installing the Lid
Install the Lid carefully over the hinge prongs.
Turntable Platter and Belt Setup
- Set the platter on the spindle. • Make sure that the platter is fully seated on the spindle.

- Place the belt on the motor pulley. • Align one of the planer openings with the motor pulley, and, while pulling both ends of the red ribbon that comes attached to the belt, place the belt on the motor pulley, as per the diagram. When doing this, be careful not to twist the belt.

- Remove the red ribbon from the belt.

- Place the slip mat on the platter.

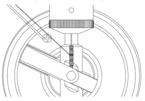
- Carefully rotate the Counterweight until the tonearm achieves a neutral, level balance. The tonearm should return to this balanced position if it is moved up or down. Perform this adjustment carefully.

- Once the tonearm is correctly balanced, return and lock it to the tonearm rest. Next, “Zero” the tonearm by holding the Counterweight still and gently rotating only the tracking force dial so the V is centered over the black line on the top of the tonearm. After, unlock the tonearm and check that it still maintains a level balance. ——-

- Rotate the counterweight counterclockwise (seen from the front) to adjust the tracking force according to the cartridge manufacturer’s recommendations.

Note: Each mark on the dial represents 0.05g. The recommended tracking force for the factory-installed cartridge is 3.5g±0.5g. The cartridge only goes up to 2g for one rotation of the tracking force dial, meaning you will need to make more than one rotation to reach 3.5g.
Cartridge Tracking Force Adjustment
The supplied Counterweight is suitable for cartridges weighing between 3.0-6.0g.
- Gently push and turn the Counterweight onto the rear of the tonearm (with the dial facing towards the front of the turntable).

- Remove the cartridge protection cap.
- Remove the tie-wrap and unlock the tonearm.
- Lower the tonearm lift and position the cartridge in the space between the tonearm rest and the platter.
Anti- skating Force Adjustment
The anti-skating force must be adjusted corresponding to the tracking force as follows:
| Tracking Force | Groove in the stub | |
| 5-10 mN | 1st from bearing ring | |
| 10-15 mN | 2nd from the bearing ring | |
| 15-20mN | 3rd from the bearing ring | |
| 20mN and larger | 4th from the bearing ring |
- Slip the loop of the anti-skating weight’s thread over the 3rd groove of the stick to set the correct anti-skating force for the farmers-fitters rArtrielne

2. Feed the thread through the hook of the wire support.
Setting Phono-Line Out Switch
This product has a built-in phono equalizer function. You can use the turntable, even if you do not have a phono amplifier or connectable equipment with a built-in phono amplifier. Use the Phono-Line Out Switch to set the output, as shown below.
| The connectable device being used | Position of Phono-Line Out Switch |
| A device with phono input | Phono |
| A device without phono input | Line |
Connection to an Amplifier (Device with Phono input, PHONO mode)
This turntable uses a moving magnetic cartridge. Set the PHONO & Line Out Switch on PHONO mode. Connect the phono out cables to the phono input on your amplifier of pre-amplifier (phono stage). Line inputs such as CD, Tuner, Tape, or Video are not suitable for phono inputs. Make sure the amplification of the selected input matches the type of cartridge being used. The factory-installed cartridge is 47k ohms / MM-input.
NOTE: If your amplifier does not have an input suitable for phono cartridges, you will need to purchase a separate phono amplifier for moving magnetic cartridges. This separate phono amplifier will then connect between your turntable and your amplifier.
Stereo System Connection (Device without phono input, LINE mode) Set the PHONO & Line Out Switch to LINE mode. The RCA PHONO & Line Out Jacks output analog line-level signals and can be connected directly with a pair of active/powered speakers of the appropriate input of your stereo system. The Red plug connects with the Right channel and the White plug connects with the Left channel.
NOTE: The RCA Jacks are not designed to be connected directly to passive/ unpowered speakers in LINE mode. If connected to the passive speakers, no sound will come out.
Main Power Connection
Unpack the power adapter from the foam packing material and plug the small end into the DC power jack located on the back of the turntable. Plug the power adapter plug into an electrical outlet.
Power Management Function
The turntable will automatically go into standby mode after 20 minutes of inactivity. To resume operation, simply press the power switch off, then press it to the “ON” position after 1 second.
operation
Turntable Operation
- After connecting to power, press the power switch to the “ON” position.
- Remove the stylus protector from the stylus.
- Place the slip mat on the platter and place a record on the slipmat. If using 45 RPM records, but the 45 RPM adapter on the center spindle before placing the record on the platter.
- Set the 33/45 RPM Selector according to the type of record.

- Turn the Start/Stop dial to the Start position. The platter will start spinning.
- Unlock the tonearm clip and set the Lift Lever to the up position.
- Position the tonearm over the desired location (groove) on the record.
- Move the tonearm lift lever to the down position to move the tonearm toward the record. Alternatively, place the needle over the desired location on the record.
- Carefully lower the tonearm on the record.
- When you are finished playing the record, raise the tonearm, return it to rest on the arm clip, and turn the Start/Stop dial to the Stop.
Bluetooth Operation
This turntable has a Bluetooth transmitter to wirelessly send audio to a Bluetooth speaker.
- Power on your Bluetooth speaker and ensure it is in pairing mode.
- Power on the turntable. BT will auto search when the turntable turns on and the BT LED indicator light will flash.
- When pairing, the light will flash twice per second and will become solid when paired successfully.
- To disconnect pairing, power off the turntable or turn off Bluetooth pairing on your Bluetooth speaker.
- This turntable will connect to the nearest Bluetooth speaker. If after 2 minutes no Bluetooth speaker can be found to pair with, the Bluetooth transmitter will become inactive and the LED will turn off. If you need to connect again, power off the turntable and the speaker then power on again.
| Bluetooth Indicator | Bluetooth Status |
| Flash | Auto searching and pairing |
| Solid | Paired successfully |
| Off | Inactive |
Recording onto a PC through USB Jack:
For installing and recording instructions, refer to the BRIEF INTRODUCTION OF AUDACITY webpage at https://www.audacityteam.org/download/
Recording the vinyl to your computer:
- Follow the instructions in this manual to play the vinyl.
- Open Audacity on your computer and follow the recording steps as instructed on the Audacity webpage referenced above.
Audacity and USB Connection
Audacity supports Windows95 /Window XP / Window 7 / Vista or more advanced version, with the EMS memory more than 128MB and Audacity take space of 5MB.
Instructions for PC Encoding After Recording Software instructions
1. Connect the USB cable to your turntable and your computer. No extra drivers are required.
2. Recording
2.1) Open Audacity
2.2) Open the “Edit” menu, then choose “Preferences”
2.3) Set your preferences as desired
Note: Check your computer’s audio properties and make sure”SSS USB Audio Device” is selected as shown below:
2.4) Adjust the output and input volume
2.5) Press the Record button • and the left and right tracks will appear on the interface

Note: If you do not see the sound wave on the interface when recording, please adjust the Ilene in volume to an appropriate level.
25.1 (5) Press the • button to start recording;
25.2 (5) Press the
buttons to skip to start
2.53 0 Press the
I button to skip to end;
25.4 (B) Press the
button to play;
233 ® Press the
button to pause the recording;
23.6 Press the
button to stop recording. 
3. Export the Music Files to Your Preferred Format
- Once you have finished recording, you should save your music to the computer.
- Open the File menu and choose ‘Export-to export to WAV, MP3, or Ogg formats. WAV format, MP3 format, or Ogg format.
- Choose a file format and write a file name to save the music recording.
Note: Audacity does not export MP3 files directly; you should download the LAME MP3 encoder. A link to find LAME MP3 can be found at https://wimmaudacItyteam.org/download/
Instructions for Installing LAME MP3 Encoder
- Download the “lame_enc.d11′ file, and install it to the software list
- Open Audacity, click the Main Menu, select its, then Parameter, then “File Formats’ and finally click’Searcher.”

- After opening, it will come to the following menu, click”YES’to go tollame_enc.d11; and find the file’s location.

- After finding the’lame_encdrfile, open it and click to finish the installation.

Maintenance and Cleaning
NOTE: Disconnect the power cable plug from the outlet as a precaution before maintenance.
Turntable Body
Your turntable requires little of no regular maintenance. Remove dust with a slightly damp antistatic cloth; never use a dry cloth as this will create static electricity and attract more dust! Antistatic cleaning agents are available at specialist stores but must be applied sparingly to avoid damage to rubber parts. It Is recommended to install the needle cover before cleaning or maintenance is carried out to avoid damage. If the turntable is not used over a long period of time, the drive belt should be removed to prevent unequal stretching.
NOTE: Always disconnect the record player from the power supply as a precaution before maintenance!
Useful Tips
The turntable should be positioned on a low-resonance surface such as wood or multiple layer plyboard to avoid structural vibrations disturbing playback.
Stylus Tip
- If dirt and grime are stuck to the stylus tip, clean it with a commercially-sold brush.
- We recommend using a stylus cleaner (not included) if the stylus tip is considered dirty. Clean the stylus tip by moving the brush from the rear to the front of the stylus tip.
Replacing the Stylus
Removing the Stylus
- In addition to the deterioration of sound quality, records may also be damaged as the cartridge’s stylus tip wears down.
- As a rule of thumb, replace the stylus after 300 to 500 hours of use.
- Be sure to disconnect the product’s power cable plug from the outlet. 1. Remove the protector from the cartridge. 2. Remove the stylus by pulling in the direction of the arrow.

Installing a New Replacement Stylus
- Grasp both sides of the stylus holder and insert the stylus grip Into the rear tab of the cartridge.

- Push up the stylus holder until it clicks and locks completely in place.

Cartridge Replacement
- Before replacement, put the stylus protector back on the stylus to prevent damage to the stylus during the replacement process.
- Carefully remove the wire leads from the original cartridge.
- Loosen the two screws on the headshell that are securing the cartridge and then remove the original cartridge.
- Mount the new cartridge to the headshell and tighten it lightly. Do not completely tighten the screws at this moment.
- Connect the wire leads to the new cartridge’s terminals. The wire lead color codes are as below:
Wire Channel White Left channel positive (Li-) Black Left channel negative (L—) Red Right channel positive (R+) Black Right channel negative (R-) - Adjust the cartridge’s position to make sure it is precisely aligned on the headshell so that the stylus will be tracking the grooves in parallel perfectly. To achieve this, place the included paper cartridge alignment protractor over the turntable spindle, carefully lift the tonearm and place the tip of the stylus on the points marked 130mm and 250mm respectively. Fine-tune the cartridge’s position on the headshell until the cartridge is perfectly in parallel with the reference lines at both points.
7. Tighten the screws completely once the perfect alignment is achieved.
NOTE: If you are unfamiliar or uncomfortable with completing this procedure, we recommend consulting with a professional to perform the installation. technical Specifications
Technical Specification
| Model | 1-ADO7U501, H005 | Speed Variance | ±1.5% |
| Nominal Speeds | 33 1/3 & 45RPM | Wow and Flutter | s0.1596 |
| Effective Tonearm Length | 8.6″ (218.5mm) | Signal to Noise | 55dB |
| Tracking Force Range | 3.0-6.0g | Overhang | 0.73in |
| Outboard Power Supply | 12V/ SOOmA AC-DC | Power Consumption | 5W |
| AC Power Adapter | Input: 100-240V 50/60Hz, Max. 200mA | ||
| Dimensions (W x H x D) | 16.34″x 10.2″x 4.44″(415 x 340 x 148mm) | ||
| Weight | 13.67Ibs (6.2kg) | ||
Cartridge
| Stylus Model | Audio Tech n ica AT-3600L |
| Frequency Response | 20Hz-20kHz |
| Recommended Load Resistance | 47kohms |
| Channel Balance | < 2.5dB |
| Amplifier Connection | MM – input |
| Channel Separation | > 18dB |
| Recommended Tracking Force | 3.5±0.5g |
| Output Voltage | 2.5mV |
| Weight | 5g |
Potential Incorrect Use and Fault Conditions
This turntable is manufactured to the highest standards and undergoes strict quality controls before leaving the factory. Faults that may possibly occur are not necessarily due to material or production faults but can sometimes be caused by incorrect use or unfortunate circumstances. Therefore the following list of common fault symptoms has been included here.
There is no power:
-The turntable is not connected to the power adapter.
– No power at the outlet.
The platter doesn’t turn although the unit is switched on:
-The unit is not connected to the main power supply.
– No power at the outlet.
– Drive belt is not installed or has slipped off.
No signal through one or both channels:
– Phono input not selected on the amplifier.
– Amplifier not switched on.
– Amplifier or speakers muted.
– No connection to the speakers.
– No connection between turntable and amplifier.
– Wire leads not connected the cartridge.
Strong hum on the phono input
– No ground connection from the
-Turntable is too close to the speakers.
Distorted or inconsistent sound from one or both channels:
-Turntable is connected to the wrong input of the amplifier.
– Needle or cantilever damaged.
– Drive belt overstretched or dirty.
– Platter bearing without oil, dirty or damaged.
– Dust on stylus. – MM / MC switch on pre-amplifier set incorrectly.
Cannot connect with Bluetooth speaker:
-The turntable is not in pairing mode.
– Your Bluetooth speaker is not in pairing mode.
-The Bluetooth transmitter has turned off because Bluetooth is not connected in 2 minutes.
The needle isn’t touching the record:
-The screw on the tonearm rest may have loosened during transport. Gently turn this screw clockwise to move the needle stylus closer to the record.
The needle is scratching the record’s surface:
– Gently turn the tonearm rest screw anticlockwise to move the needle stylus away from the turntable.
NOTE: Factory screw tightness is based on the thickness of the included slip mat If a thinner or thicker 3rd-party slip mat is used, gently adjust the screw as needed following the steps in the last two situations.
This product’s packaging is made from environmentally friendly material and can be disposed of at your local recycling plant.
FCC Warnings
Any changes or modifications not expressly approved by the party responsible for compliance could void the user’s authority to operate the equipment. Note: This equipment has been tested and found to comply with the limits for a Class B digital device, pursuant to part 15 of the FCC Rules. These limits are designed to provide reasonable protection against harmful interference in a residential installation. This equipment generates uses and can radiate radio frequency energy and, if not installed and used in accordance with the instructions, may cause harmful interference to radio communications. However, there is no guarantee that interference will not occur in a particular installation. If this equipment does cause harmful interference to radio or television reception, which can be determined by turning the equipment off and on, the user is encouraged to try to correct the interference by one or more of the following measures:
-Reorient or relocate the receiving antenna.
-Increase the separation between the equipment and receiver.
-Connect the equipment into an outlet on a circuit different from that to which the receiver is connected.
-Consult the dealer or an experienced radio/TV technician for help. This device complies with part 15 of the FCC Rules. Operation is subject to the following two conditions:
(1) This device may not cause harmful interference, and
(2) this device must accept any interference received, including interference that may cause undesired operation. This equipment complies with FCC radiation exposure limits set forth for an uncontrolled environment. This equipment should be installed and operated with a minimum distance of 20cm between the radiator & your body.


































