
USER MANUAL
Turntable Player DP-100
INTRODUCTION
Thanks for purchasing Donner Turntable Player DP-100, this turntable player is suitable for beginners as it is very easy to operate. Equipped with two built-in speakers so that you do not have to connect an extra amplifier to enjoy your vinyl records. Please check if the product package is intact while receiving it. If there is any damage or missing parts of the product, please feel free to contact our official email: [email protected], our support team will send you a new replacement immediately.
PRODUCT SPECIFICATION
| ITEM | Specification |
| Item model | DP-100 |
| Drive System | Belt Drive |
| Rated voltage (adaptor) | 100-240V |
| Speed | 33 1/3 RPM, 45 RPM, and 78 RPM |
| Bluetooth Input | Yes |
| Bluetooth Output | No |
| Bluetooth version | V5.0 |
| Bluetooth effective range | c. 393.7 inches |
| Frequency response range | 1801-1z-18KHz |
| Speaker output power | 3W x 2 |
| Speaker impedance | 4(1 |
| Operating temperature range | 14°F -104°F |
| Adaptor | DC 5V IA |
PACKAGE LIST
Turntable Player x 1
5V / IA DC Adaptor xl
User Manual xl
PRODUCT FEATURES
- Belt-driven system.
- LP Vinyl Records Size: support with 7″ / 10″ / 12″ record.
- Three Speed Modes: 33 1/3 RPM, 45 RPM, 78 RPM
- The tonearm is equipped with a damping lift that allows it slowly drop down or raising up.
- Built-in two stereo speakers.
- Removable dust cover.
- Equipped with a headphone jack, Aux input jack, and line output jack.
- Bluetooth Input: Users can connect their phone to the turntable via Bluetooth and use it as an amplifier. You can also connect an external speaker to the turntable to enjoy better sound. (Note: the turntable player can only support Bluetooth input, do not support Bluetooth output.)
- Bluetooth Mode: the voice prompts for Bluetooth status: Di dong. The indicator light for Bluetooth status: blue.
- LP Mode: the voice prompts for LP status: Di dong. The indicator light for LP status: green.
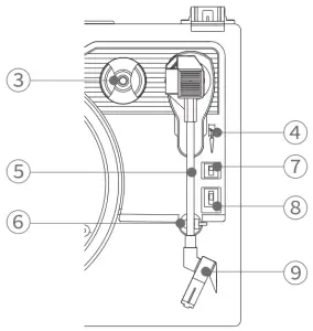
PRODUCT STRUCTURE
![]() |
|
![]() | 3.45 RPM Fixator 4. Tone Arm Raise Lever 5. Tone Arm 6. Tone Arm Clip 7. Auto Stop Switch 8. LP Speed Switch 9. Stylus |
![]() | 10. Power Button/Volume Control 11. Treble Control 12. Bass Control 13. Headphone Jack 14 Light Indicator |
![]() | ® Aux Input Jack O Line Output Jack for Active Speakers O Power Adaptor Jack |
![]() | How to switch on: 1. Connect the power adaptor to the adaptor jack. 2.Turn the power knob clockwise to switch on the player, the power indicator will light on. |
HOW TO USE THE TURNTABLE PLAYER

NOTE: for the first time of use, please remove the stylus protector.
LP Vinyl Records Play Mode:
- Place the record on the turntable.
- Select the correct speed, there are 33 RPM, 45 RPM, and 78 RPM for choosing depending on your record.
- Push upward the tonearm lever to lift the tonearm, then slowly move it above the edge of the record. And the turntable will start spinning.
- Push downward the tonearm lever, the tonearm will slowly drop down and touch the record gently. Now the record will start playing.
Warning:
- Do not lower the tonearm onto the record manually, to avoid damage to the record and the stylus!
- If you find the speed of the song is faster or slower than the original, then the speed that you choose does not fit your record. Please choose the correct speed and try it again.
- If the auto-stop switch is on, at the end of playing the record, the turntable will stop spinning. which will protect your record from being rubbed by the stylus.
- If the auto-stop switch is off, at the end of playing the record, the stylus will stay on the record and keep spinning, which might do some damage to both sides.
- If you need to stop the record manually, please push the tonearm lever upward to lift up the tonearm, and move the tonearm back to the arm holder.
Bluetooth Mode:
- This turntable player can also be connected by a Bluetooth device and used it as a Bluetooth speaker.
- Please make sure that the auto-stop switch is on, the Bluetooth function only works under the auto-stop switch is on, and put the tonearm back at the arm holder.
- In Bluetooth mode, the indicator is blue and it will flash quickly.
- Turn on the Bluetooth function in your device, such as smartphone, tablet laptop, and find the turntable player named “DP100”. Click and make a pair with it.
- After a few seconds, you will hear the sound “Di Dong, the indicator shows blue and stops flashing, which means that you successfully connect your device with the player via Bluetooth.
- Now you are able to play your favorite songs on your device through the turntable player.
Note: This player can only support Bluetooth input do not support Bluetooth output
Aux Input Mode:
- There is an aux input jock at the back of the turntable player, users can connect an external audio device (such as a CD player) through the aux input jack.
- In aux input mode, please put the tonearm is back to the arm holder.
- The player will switch into aux input mode automatically once there is an audio cable inserted into the aux input jock.
- After you hear the sound °Di Dong-, then you are in aux input mode.
- When in aux input mode, the Bluetooth function will be turned off.
June output moat:
- Connect a 3.5 mm audio cable to the line output jock at the back of the turntable player, and plug the other end into your stereo (active speakers only).
- After you hear the sound ‘Di Dong”, then you are in line output mode
- The sound will be transferred from the turntable player to your excellent external active speakers.
- When you connect the audio cable into the output jack, the speakers of the turntable player will be mute.
Headphone Mode:
1. Connect a headphone with a 3.5 mm plug to the headphone jack.
2. The speakers of the turntable player will be mute immediately once you insert a headphone.
ATTENTION
- This product is intended exclusively for domestic use, not for commercial applications.
- Do not use the product near water or any liquid.
- Do not place or use the product near any heat source, such as a heater, fireplace, or any device that produces heat.
- Do not place the product near container that is filled with liquid, like a water bottle, and this product must not come into contact with water droplets or splash.
- Please follow the product specification and use it under the stated voltage, unstable voltage would cause damage to the product
- Use dry cloth for maintenance only.
- During thunderstorm weather or do not use the product for a long time, please unplug the product
- Do not attempt to modify or disassemble the product by yourself, as this will directly cause damage to the product and invalidate the warranty.
This product is available for 12 months of quality guarantee service. If you need help concerning the product after-sales service or any other related questions, please feel free to contact us via our official email: [email protected]
Seller: Guangzhou Jinpin Dianzi Shangwu Youxian Gongs
Address: CN, 510000, Guangdong, Guangzhou, Nan Sha Qu, Feng Ze Dong Lu 106 Rao (Zi Bion 1 Hao Lou), X1301-G024650
Email: [email protected]
FCC Warning Statement
Changes or modifications not expressly approved by the party responsible for compliance could void the user’s authority to operate the equipment. This equipment has been tested and found to comply with the limits for a Class B digital device, pursuant to Part 15 of the FCC Rules. These limits are designed to provide reasonable protection against harmful interference in a residential installation. This equipment generates uses and can radiate radio frequency energy and, if not installed and used in accordance with the instructions, may cause harmful interference to radio communications. However, there is no guarantee that interference will not occur in a particular installation. If this equipment does cause harmful interference to radio or television reception, which can be determined by turning the equipment off and on, the user is encouraged to try to correct the interference by one or more of the following measures:
— Reorient or relocate the receiving antenna.
— Increase the separation between the equipment and receiver.
— Connect the equipment into an outlet on a circuit different from that to which the receiver is connected.
— Consult the dealer or an experienced radio/TV technician for help.
























