Haiping
Turntable Hi-Fi System
Model: PH001DC2
Introduction
Thank you for purchasing this AngelsHorn Turntable Hi-fi System.
Read through this user manual before using the product to ensure its correct use. This instruction manual contains important information about safety, usage, and disposal. Use the product as described and keep this manual for future reference.
This product can be used only in countries where the product is sold. Make sure that the operating voltage and the plug of the AC adapter of the product are correct for the country you live in.
Package contents
Make sure that you have all the included Items listed below before using this product. If some items are missing or damaged, please contact our official customer service email: [email protected] or Facebook: facebook.com/AngelsHomOfficial
![]() | ![]() |
| Turntable body | Turntable mat |
![]() | ![]() |
| Platter | 45 RPM adapter |
| – Adaptor with the plug-end | – Instruction Manual |
| – Cartridge Alignment Protractor | – Turntable Belt |
| -Counterweight | – Anti-skating Weight |
After purchase, we suggest that you save all packaging materials for possible future storage, moving, or shipping.
This turntable is supplied with a factory-fitted and adjusted cartridge. The following instructions for adjusting the cartridge are provided in case the cartridge is replaced by a different model at a later date:’
Precautions Before Use
Keep these instructions in mind
- Do not use in wet or moist areas such as bathrooms, steamy kitchens, or near swimming pools.
- Do not cover or block any mentioned openings. When placing the device on a shelf, leave 5cm (21 free space around the whole device.
- Install in accordance with the supplied user manual.
- Don’t step on or pinch the power adaptor. Be very careful, particularly near the plugs and the cable’s exit point. Do not place heavy items on the power adaptor. which may damage it. Keep the entire device out of children’s reach! When playing with the power cable, they can seriously Injure themselves.
- Unplug this device during lightning storms or when unused for a long period.
- Keep the device away from heat sources such as radiators, heaters, stoves. candles and other heat-generating products or naked flame.
- Avoid using the device near strong magnetic fields.
- Electrostatic discharge can disturb the normal usage of this device. If so. simply reset and restart the device following the instruction manual. During file transmission, please handle with care and operate in a stay-free environment.
- Warning! Never insert an object into the product through the vents or openings. High voltage flows through the product and inserting an object can cause electric shock and/or short circuit internal parts. For the same reason.do not spill water or liquid on the product.
- Although this device is manufactured with the utmost care and checked several times before leaving the factory, it is still possible that problems may occur, as with all electrical appliances. If you notice smoke, an excessive build-up of heat, or any other unexpected phenomena, you should disconnect the plug from the mains power socket Immediately.
- This device must operate on a power source as specified on the specification label. If you are not sure of the type of power supply used in your home, consult your dealer or local power company.
- The socket outlet must be installed near the equipment and must be easily
- Do not overload ac outlets or extension cords. Overloading can cause fire or electric shock
- Devices with class 2 construction do not require an earthed connection.
- Devices with class 1 construction should be connected to a main socket outlet with a protective earthed connection.
- Keep away from rodents. Rodents enjoy bing on power cords.
- Always hold the plug when pulling it out of the mains supply socket Do not pull the power cord. This can cause a short circuit.
- Avoid placing the device on any surfaces that may be subject to vibrations or shocks.
- To clean the device. use a so dry cloth. Do not use solvents or petrol-based fluids. To remove severe stains, you may use a damp cloth with diluted detergent.
- The supplier is not responsible for damage or lost data caused by malfunction, misuse, modification of the device, or battery replacement.
- o not interrupt the connection when the device is forming or transferring files. Otherwise, data may be corrupted or lost.
- To completely disconnect the power input, the main plug of the apparatus shall be disconnected from the mains, as the disconnect device is the main plug of the apparatus.
- The apparatus can only be used in moderate extremely cold or climates warm environments should be avoided.
- The rang label has been marked on the boom or back panel of the apparatus.
- This device is not intended for use by people (including children) with physical, sensory, or mental disabilities, or a lack of experience and knowledge unless they’re under supervision or have received instructions about the correct use of the device by the person who is responsible for their safety.
- This product is intended for non-professional use only and not for commercial or industrial use.
- Make sure the unit is adjusted to a stable position. Damage caused by using this product in an unstable position or by failure to follow any other warning or precaution contained within this user manual will not be covered by warranty.
- Never remove the casing of this apparatus.
- Never place this apparatus on other electrical equipment.
- Do not use or store this product in a place where it is subject to direct sunlight, heat, excessive dust or vibration.
- Do not allow children access to plastic bags.
- Only use attachments/accessories specified by the manufacturer.
- Refer all servicing to qualified service personnel. Servicing is required when the apparatus has been damaged in any way, such as the power supply cord or the plug, when the liquid has been spilled or objects have fallen into the apparatus, when the apparatus has been exposed to rain or moisture, does not operate normally, or has been dropped.
- Do not use a damaged power cord or plug or a loose outlet. Doing so may result in fire or electric shock.
- Prolonged exposure to loud sounds from personal music players may lead to temporary or permanent hearing loss.
Caution
Usage of controls or adjustments or performance of procedures other than those specified herein may result in hazardous radiation exposure.
This unit should not be adjusted or repaired by anyone except qualified service personnel.
Product Description
Part names and functions 
- Turntable Platter
- Drive belt
- Motor pulley
- Spindle
- Control knob Use to start and stop, as well as select the platter’s speed
- Counterweight
- Anti-Skating Stub
- Tonearm Lift Lever
- Tonearm Rest
- Tonearm
- Cartridge
- Lid
- Dust cover hinge holder
- Ground (earth) terminal Connect the amplifier’s ground (earth) terminal to this terminal using the RCA audio cable’s ground conductor
- PHONO Out Jacks W Connect it to the amplifier’s PHONO input jack. The red terminal is the right channel and the white terminal is the left channel.
- Line Out Jacks Connect it to the line input jack. The red terminal is the right channel and the white terminal is the left channel.
- Power input jack Connect the AC adapter
Technical Specifications
| Nominal Speeds | 331/3 & 45RPM |
| Speed Variance | 3% – 2% |
| Wow and Flutter | <1.15% |
| Signal to Noise | 72dB |
| Output level | <3dB |
| Downforce Range | 3.0-6.0g |
| Effective Tonearm Length | 8.6″ (218.5mm) |
| Overhang | 0.73in |
| Power Consumption | 5W (Max) |
| Outboard Power Supply | 12V/500mA AC-DC |
| Dimensions (W x H x D) | 416 x 343 x 115mm |
| Weight | 4.47KG |
| if Output is line out | 180mV(1KHz-10Db,33RPM) |
Technical Specifications
AT-3600L (audio-Technica)
| Frequency response | 20Hz-20kHz |
| Recommended load resistance | 47kohms |
| Channel balance | <2.5dB |
| Amplifier connection | MM – input |
| Channel separation | >18dB |
| Needle pressure | 3.5±0.5g |
| Output voltage | 2.5mV |
| Weight | 5g |
| if Output is phono out | 2.5mV(1KHz-10Db,33RPM) |
| Trackability | >90pm |
| ( Fl M)/ Distortion (THD) | <0.025% |
| Platter wobbling | <0.15% |
| Platter wobbling | <1mm |
Installation
– Unpack all parts and remove protective material.
– Do not connect the unit to the mains before checking the mains voltage and before all other connections have been made.
– Those instructions are related only to products using power cable or AC power adaptors.
1-Installing the Lid
Install the Lid carefully over the
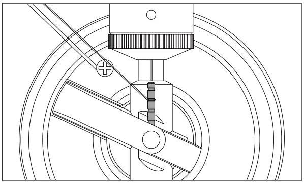
2-Turntable platter and belt setup
- Install the drive belt over the inner ring under the platter and make sure it won’t fall off during the setup.
- Place the platter through the turntable spindle, then rotate the platter until you see the drive motor pulley through the window at the top left corner.
- Carefully grab the drive belt and put it around the slot of the motor pulley.
- Connect the power adapter to the turntable and power on the turntable.
- Set the Motor Start/Stop switch to the Start position to see if the platter motor If the platter does not spin, try the steps listed above again.
3-Cartridge tracking force adjustment
The counterweight supplied is suitable for cartridges weighing between 3.0-6.0g
– Gently push and turn the Counterweight onto the rear of the tonearm (with the scale facing toward the front of the turntable).
– Remove the cartridge protection cap.
– Lower the tonearm lift and position the cartridge in the space between tonearm rest and platter.
Carefully rotate the Counterweight until the tonearm balances out The tonearm should return to the balanced position if it is moved up or down.
This adjustment must be done carefully.
Once the tonearm is correctly balanced return it to its rest. Hold the Counterweight without moving it and gently rotate the Downforce Scale ring until the zero is in line with the black line On the rear of the tonearm. Check whether the arm still balances out
NOTE: The thecartridgeonlysoca up to 1.758 You will need to make two half roalations to reach 15g.
Rotate the counterweight counterclockwise (seen from the front) to adjust the downforce according to the cartridge manufacturer’s recommendations. One mark on the scale represents 0.05g of downforce.
Note: The recommended downforce for the factory fitted cartridge is 3.5±0.5g.
4-Anti-skating force adjustment
The anti-skating force must be adjusted corresponding to the tracking force as follows:
| Tracking Force | Groove in the stick | ![]() |
| 5-10 mN | 1st from bearing ring | |
| 10-15 mN | 2nd from the bearing ring | |
| 15-20mN | 3rd from the bearing ring | |
| 20m\ and bigger | 4th from the bearing ring |

- Slip the loop of the anti-skating weight’s thread over the 3rd groove of the stub to set the correct anti-skating force for the factory-fitted cartridge.

- Feed the thread through the loop of the wire support.
5-Connection to the Amplifier
This turntable uses a moving magnetic cartridge.
Connect the phono out cables to the phono input on your amplifier of the pre-amplifier (phono stage). Line inputs such as CO, Tuner, Tape, or Video are not suitable for phono inputs. Make sure the amplification of the selected Input matches the type of cartridge being used.
The factory-installed cartridge is 47k ohms/MM-input. 
NOTE: If your amplifier does not have an input suitable for phono cartridges. you will need to mambas a separate phone amplifier kern: wing magnetic cartridges- This separate phono amplifier will then connect between your turntable and your amplifier.
6-Stereo System Connection
The RCA Line Out Jacks output analog line-level signals and could be connected directly with a pair of active/powered speakers of the appropriate input of your stereo system. The Red plug connects with the Right channel and the White plug connects with the Left channel.
NOTE: The RCA Jacks are not designed to be connected directly to the passiveJunp:invited speakers on LINE mode. If connected to the passive speakers there is no sound.
7-Main Power Connection
The power adaptor is in the foam packing material. Unpack the power adaptor and plug the small end into the DC power jack located at the back side of the turntable. Plug the power adaptor into your power outlet.
Operation
Turntable Operation
- Connect the included power adapter to the unit and press the power rocker switch to be “Of’ position.
- Remove the needle cover from the cartridge.

- Place the slipmat on the platter and place a record on the slipmat If using 45 RPM records, but the 45 RPM adapter on the center spindle before placing the record on the platter.
- Set the 33/45 RPM Selector according to the type of record.
- Unlock the arm clip and set the Lift Lever to the up position.
- Position the tonearm over the desired location (groove) on the record. The platter will begin spinning.
- Move the tonearm lift lever to the down position to move the tonearm toward the Alternatively, place the needle over the desired location on the record.
- Carefully lower the tonearm on the record.
- When you are finished playing the record, raise the tonearm, return it to rest on the arm clip.
Bluetooth Operation
This unit has a Blue tooth transmitter to send audio to a Bluetooth speaker wirelessly.
- Power on your Bluetooth speaker and ensure it is in pairing mode.
- Power on the unit, select the BT ” Angel shorn 05* to pair your Bluetooth speaker, the BT Indicated blue light flashing.
- When pairing. the light will flash twice per second, then change to the steady light indicating that the Bluetooth is paired with the device
- If after 2 minutes no Bluetooth speaker can be found to pair with the Bluetooth transmitter will become inactive and the blue light turns to red, and the red light means it is powered.
- To disconnect pairing, power off the turntable or turn off Bluetooth pairing on your Bluetooth speaker.
Maintenance and Cleaning
Your turntable requires little or no regular maintenance. Remove dust with a slightly damp antistatic cloth. Never use a dry cloth, this will create static electricity and attract more dust!
Antistatic cleaning agents are available at specialist stores but must be applied sparingly to avoid damage to rubber parts. It is recommended to install the needle cover before cleaning or maintenance is carried out to avoid damage.
If the turntable is not used over a long period of time, the drive belt should be removed to prevent unequal stretching.
NOTE: Your amplifier does not have a batt suitable for phono cartridges. you will need to Pan: base separate phone amplifier for moving magnetic cartridges. This separate phono amplifier will then connect between your amiable and your amplifier.
Useful Tips:
The turntable should be positioned on a lowaesonanoe surface such as wood cc multiple-layer plyboard to mil structural vibrations disturbing playback
Cartridge Replacement
- Before replacement, put the stylus protector back on the stylus to prevent damage to the stylus during the replacement process.
- Carefully remove the wire leads from the original cartridge.
- Loosen the two screws on the headshell that are securing the cartridge and then remove the original cartridge.
- Mount the new cartridge to the headshell and tighten it lightly. Do not completely tighten the screws at this moment
- Connect the wire leads to the new cartridge’s terminals. The wire lead color codes are as below:
White Left channel positive (L+)
Black Left channel negative (L-)
Red Right channel positive (R+)
Black Right channel negative (R4 - Adjust the position of the cartridge to make sure it is precisely aligned on the headshell so that the stylus will be tracking the grooves in parallel perfectly.
To achieve this. place the included paper cartridge alignment protractor over the turn a – be spindle, carefully lift the tonearm and place the tip of the stylus on the points marked 130mm and 250mm respectively. Fine-tune the cartridge’s position on the headshell until the cartridge is perfectly in parallel with the reference lines at both points. - Tighten the screws completely once the perfect alignment is achieved.
If you are unfamiliar or unconfortabkwfth completing this procedure. we recommend ccosulthg with a professional to perform the Installation.
Troubleshooting
Potential Incorrect Use and Fault Conditions
These turntables are manufactured to the highest standards and undergo strict quality controls before leaving the factory. Faults that may possibly occur are not necessarily due to material or production faults but can sometimes be caused by incorrect use or unfortunate circumstances. Therefore the following list of common fault symptoms is included.
| Problem | Solution |
| The platter doesn’t turn although the unit is switched on | – The unit is not connected to the main power supply. – No power at the outlet. – Drive belt is not installed or has slipped off. – The unit automatically switched in standby mode, power OFF and ON again on the backside. |
| No signal through one or other channel or both channels: | – Phone input not selected at the amplifier. – Amplifier is not switched on. – Amplifier or speakers muted. – No connection to the speakers. – No connection between turntable and amplifier. – Wire leads are not connected to the cartridge. |
| Strong hum on phono input: | – No ground connection from the cartridge, arm, or arm cable to amplifier or ground loop. – Turntable too close to speakers. |
| Distorted of inconsistent sound from one or both channels: | – Turntable is connected to the wrong input of the amplifier. – Needle or cantilever damaged. – Drive belt overstretched or dirty. – Platter bearing without oil, dirty or damaged. – Dust on the stylus. – MM/MC switched on the pre-amplifier set incorrectly. |
NOTE: This equipment has been tested and found to comply with the limits for a Class B digital device, pursuant to part 15 of the FCC Rules. These limits are designed to provide reasonable protection against harmful interference in a residential installation. This equipment generates uses and can radiate radio frequency energy and, if not installed and used in accordance with the instructions, may cause harmful interference to radio communications. However, there is no guarantee that interference will not occur in a particular installation. If this equipment does cause harmful interference to radio or television reception, which can be determined by turning the equipment off and on, the user is encouraged to try to correct the interference by one or more of the following measures:
– Reorient or relocate the receiving antenna.
– Increase the separation between the equipment and receiver.
-Connect the equipment into an outlet on a circuit different from that to which the receiver is connected.
-Consult the dealer or an experienced radio/TV technician for help
Changes or modifications not expressly approved by the party responsible for compliance could void the user’s authority to operate the equipment.
This device complies with Part 15 of the FCC Rules. Operation is subject to the following two conditions:
(1) this device may not cause harmful interference, and
(2) this device must accept any interference received, including interference that may cause undesired operation.

























