AURATON AURSME4111010 Smart Gate Roller Shutter User Manual
Roller Shutters and gates controller
AURATON Roller Shutter is a rotary drive controller with the possibility of changing the direction and adjusting the speed lock using limit switches, adapted to control roller shutters and gates.
Installation of the device in installation boxes with a minimum depth of 60 mm.
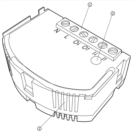
Description of the device
- Connection terminals
- Signaling diode
- Button for pairing / removing the device from the system

Connection diagram

- (N) neutral terminal
- (L) phase conductor terminal
- (O↓) control terminal
- (O↑) control terminal
- (I↓) switch terminal
- (l↑) switch terminal
- device controlled
- switch
App Instructions
Pairing the AURATON Roller Shutter with the AURATON Pulse



Technical data
- AC supply voltage: 60-240 V AC, 50-60 Hz
- Maximum power consumption: ≤1 W
- Standby power consumption: ≤0,4 W
- Operating temperature range: 0 – 35°C
- Power cord type, maximum allowable power cord cross-section: 3 x 2,5 mm2
- Weight limit: resistive: up to 4.3 A (<1 kW) inductive: up to 1.7 A
- Security Type: External miniature circuit breaker with a maximum current of 10 A required
- Control element: Electromagnetic relay with micro break
- Control method: remotely – by radio locally – by pressing the button
- Compatible with Internet getaway: AURATON Pulse
- Operation range: approx. 30 m
- Radio frequency: 868.150 MHz; 868.450 MHz
- Radio signal strength: Up to 11 dBm
- Radio receiver category: 2
- Radio protocol: AURA
- Security level: IP20
- Dimensions [mm]: 48 x 35 x 19
Disposing of the devices
The device is marked with a symbol of a crossed waste bin. Pursuant to European Directive 2012/19/EU and to the Act on waste electrical and electronic equipment, such mark indicates that the device, at the end of its service life, must not be disposed of together with other household waste.
The user is responsible for delivering the devices to a recep- tion point for used-up electric and electronic equipment.
Hereby, LARS Andrzej Szymanski declares that the radio equipment type AURATON Roller Shutter is in compliance with Directive 2014/53/EU and 2011/65/EU. The full text of the EU declaration of conformity is available at the following internet address: https://manuals.auraton.pl
The extended manual can be found at: https://manuals.auraton.pl

Manufacturer
LARS Andrzej Szymański, Świerkowa 14,
64-320 Niepruszewo, POLAND
www.auraton.pl




















