Kahomvis FYC-QPW9-103A Foldable Electric Treadmill
CAUTION
To avoid injury please read this manual carefully before operating this machine.
- NEVER attempt to mount the treadmill while the running belt is moving.
- NEVER step off the treadmill while the running belt is moving.
- NEVER operate the treadmill if it is damaged or is not working as it should be.
- DO NOT overexert yourself or work to exhaustion. If you feel any pain or abnormal symptoms, stop your workout immediately and consult your doctor.
- DO NOT start the treadmill when it is in its folded position.
- DO NOT operate the treadmill in or around water / sources of heat & avoid placing the treadmill on thick carpet.
- DO NOT use outdoors. This product is to be used inside ONLY.
- DO NOT place any objects on the running belt or the treadmill itself.
- NEVER connect a live power cable to the treadmill. Please turn off the power supply and the On/Off switch on the back of this machine before connecting the power cable to the machine. Once safely connected you can switch on the power supply followed by the on/off switch on the back of the machine. Connecting a live cable directly into the back of the machine can damage the electrical components.
- Storing the treadmill in a cold damp room i.e. garage (with non consistent temperature) will increase the risk of damage to electrical components. We recommend that you store the machine in a dry room with constant temperature.
SAFETY NOTICE
- This machine is not suitable for children under 14 years of age.
- Use the treadmill only for its intended use as described in this manual.
- Children, elderly users and pregnant women are advised NOT to use the treadmill.
- Assemble and operate the treadmill on a solid, level surface. Locate the treadmill a few feet from walls or furniture. Check the unit before each use and verify that all fasteners are secure. Always maintain the treadmill in good working condition.
- An error may occur due to unstable power. DO NOT share a power socket with other high-powered items such as computers or air conditioning units.
- It is suggested to wear suitable sports trainers and sensible gym clothing when using the treadmill.
- Take care when folding and unfolding the treadmill before and after use.
- DO NOT attempt to service the treadmill yourself except for the maintenance tasks which are described in this manual. The treadmill does not contain any user-serviceable parts so disassembling it yourself will not only void your warranty but could result in serious injury.
Keep both the machine and power cord away from heated surfaces.
CAUTION DURING USE
- Make sure you are wearing proper exercise clothing and shoes during a workout—no loose clothing. Tie back long hair. Keep all loose towels away from the running surface. The running belt will not stop immediately if an object becomes caught in the belt or rollers.
- If you begin to feel unwell during use, stop immediately and consult your doctor or personal trainer before continuing.
- Take care when adjusting the speed setting and increase or decrease steadily.
- The safety tether cord clip must be attached at waist level prior to starting a workout. The safety cord connects the security clip to the yellow button on the console. If you encounter any type of difficulty while using the treadmill, a strong tug on the safety key cord or a quick tap on the red ON/OFF button will stop the running belt.
- Please make sure the running belt is fastened before using.
- DO NOT adjust the belt while machine is turned on or being used.
- Please switch off all functions and disconnect from mains power supply after use.
TECHNICAL SPECIFICATION
| Motor Power | 2.5HP |
| Voltage | 110V |
| Frequency | 50-60Hz |
| Speed Range | 0.5-6.5mph/h |
| Maximum User Weight | 240 lbs |
ASSEMBLY INSTRUCTIONS & BOX CONTENTS
Assembly Instructions :



Please check that all parts are present before assembling this machine:
- Rotate the hand knobs in 2-3 circles to loose them. The knobs are on the bottom of upright tubes.
- Lift up the upright tubes, align the gears and then tighten the hand knobs to fix the upright tubes.
- Use the M6 screws (pre-set on the upright tubes) to fix the console with the upright tubes, then connect the connector wires of the right handrail and upright tube.
- Put the handrails of the console in the horizontal direction, and pull out the pull-ring under the left and right handrails into the holes on the upright tubes to fix handrails. Put the safety key on the yellow area on the console. Then assembly is finished.
CONTROL PANEL & OPERATING INSTRUCTIONS

- Press “START” key, the treadmill will start by 0.5MPH/H after 3 seconds.
- Press”+” key for speed up and “-” key for low down. The fastest speed is 6.5MPH/H and lowest is 0.5MPH/H.
- Press “MODE” key, the screen will show Speed、 Time and Calories. While it is running, you can press the MODE key to choose just speed 、time or calories to show. When the SCAN lights on, the screen will light from speed、 time、 calorie every 5 seconds.
- In stand-by status, press MODE key to set target of time、 distance and calories. Press +/- to set different data. Once you set the target, press START key to start treadmill. The treadmill will stop once it runs to the target you set.
- This treadmill has 12 preset programs from P1-P12. While on standby, press “PROG” to set the programs, then press “START” to start the machine.
- While the machine is in use and running, during the auto programs, the (-) and (+) keys will be not available. If you want to stop the auto programs, select “STOP” or remove the safety key, then turn on again or place safety key back on. Then set desired speed.
- For emergency stop, please pull out the safety key. The machine will stop very slowly. Pull out safety key and the screen will show “Err”, put it back and on it will show “OFF”.
- Press “STOP” key to stop the machine after using.
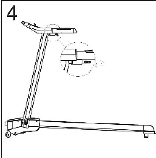
FOLDING UP AND SETTING DOWN
Pull the pull-ring under the console handrail. Lift up the console panel- Pay attention to the cables and ensure that they are not pinched
- Unscrew the knob on the both sides of the frame respectively
- Place the machine leaning against the wall or place under a bed
CAUTION:
Do not allow children to touch the machine, the treadmill may fall
LUBRICATING THE BELT WITH SILICONE OIL
Before you start the treadmill, please lubricate the running belt first. Pull up the running belt slightly, apply silicone oil to the backside of the belt and the top surface of the running deck. Start the treadmill and keep it running for 3 minutes so that the oil spread and even out. It is necessary to maintain your treadmill every 30 working hours of the treadmill for optimal performance, which also helps extend the service life of parts.
Regular maintenance will prolong the life of your treadmill and prevent injury!
We strongly recommend that you do the following:
- Switch Off and remove the power cable from the wall after every use, especially if children are present.
- Clean your treadmill after use.
- Use a dry cloth to clean the control panel and areas around the power switch. Use a soft clean cloth and cleanser to remove stubborn stains and dirt off the running belt.
- Tighten the running belt once a month.
- Keep your treadmill in a safe dry place away from heat and water.
RUNNING BELT ADJUSTMENT
- Running belt deviates to left – Start the machine, set speed at 1.2-1.8 MPH without a load on the belt, use Allen key to turn the screw 1/4 turn
Then allow the machine to run without a load for 1-2 minutes. Repeat process until the belt becomes central. - Running belt deviate to right – Start the machine, set speed at 1.2-1.8 MPH without a load on the belt, use Allen key to turn the screw 1/4 turn
Then allow the machine to run without a load for 1-2 minutes. Repeat process until the belt becomes central. - Running belt jam – If the running belt is in dead condition, use the Allen key to turn the screw 1/2 a turn both left and right until the jam solved .

DAILY MAINTAINANCE
- Please disconnect power before checking the machine or cleaning.
- Clear belt and dial plate after use, at least once a week.
- Check and tighten screws and spines at fixing point.
- Do not hang clothes or other objects on the machine.
TROUBLE SHOOTING
| Error Code | Meaning | Problem | Solution |
| Err(or E00) | No Safety key on Panel | Safety key is not on the panel or it is not properly put on |
|
| E2 | Control Board Error | Control board is broken or pseudo soldering on control board | Replace control board |
| E4 | Control Board Error | Control board is broken | Replace control board |
| E5 | Overcurrent Protection | Control board short circuit or motor blocked |
|
| E6 | Motor Error | Motor broken or motor line fall off |
|
| E7 | Communication Failures | Wires from the control board to panel board are broken or not properly connected |
|
| E8 | Overload Protection | Excess of electricity or user exceeded max load weight |
|

Pull the pull-ring under the console handrail. Lift up the console panel
Then allow the machine to run without a load for 1-2 minutes. Repeat process until the belt becomes central.
Then allow the machine to run without a load for 1-2 minutes. Repeat process until the belt becomes central.



















