PENTAIR NS3-P Water Softener Alternative with Natursoft Salt-Free Technology

IMPORTANT INFORMATION
- Read these instructions carefully and determine the location of all system components before beginning installation.
- Check all applicable plumbing, building, and electrical codes for installation compliance.
- Install the system on the main water supply.
- The use of Teflon® Tape and/or Pipe Thread Seal Paste will be needed on all threaded connections.
- To condition all water in the home, install the water softener alternative close to the water supply inlet, and upstream of all other plumbing connections, except outside water pipes. Outside faucets should remain on hard water to avoid wasting conditioned water.
WARNING
If this or any other system is installed in a metal (conductive) plumbing system, i.e. copper or galvanized metal, the plastic components of the system will interrupt the continuity of the plumbing system. As a result any errant electricity from improperly grounded appliances downstream or potential galvanic activity in the plumbing system can no longer ground through contiguous metal plumbing. Some homes may have been built in accordance with building codes, which actually encouraged the grounding of electrical appliances through the plumbing system. Consequently, the installation of a bypass consisting of the same material as the existing plumbing, or a grounded “jumper wire” bridging the equipment and re-establishing the contiguous conductive nature of the plumbing system must be installed prior to your systems use.
CAUTION
When adding a filtration/softening system to homes/buildings supplied by well water, the system should be installed following the pressure tank. DO NOT USE this system for pneumatic or hydropneumatic applications. If you are using a booster pump, then install this system following the booster pump. If you have questions, please call customer service.
WATER CONDITIONS FOR OPERATION
- The water should be free of hydrogen sulfide, a dissolved gas with a characteristic smell of rotten eggs. If present, it can coat the catalytic surface of the media and interfere with the process. The gas should be removed through adequate pre-treatment.
- The water should be free of hydrocarbons, oils, and lubricants. If present, they can coat the catalytic surface of the media and interfere with the process. Remove through adequate pre-treatment.
- The water should contain less than 1 mg/l of phosphates. Phosphates sequester dissolved hardness molecules preventing them from forming crystals and may coat the catalytic media surface and interfere with the process.
- The copper level in the water supply should be below the MCL of 1.3mg/L. If copper is present above this level, it can attach to the surface of the catalytic media and interfere with the process.
PRODUCT OPERATION AND SPECIFICATIONS
| Specification Description | NS3-P | NS6-P |
| Max Flow Rate | 10 GPM | 15 GPM |
| Minimum Working Pressure | 25 PSI | |
| Maximum Working Pressure | 80 PSI | |
| Maximum Vacuum | 5 inch/127 mm Hg | |
| Operating Temperatures | 36°F – 120°F | |
| pH Range | 7 – 11 | |
The WATER SOFTENER ALTERNATIVE WITH NATURSOFT® SALT-FREE TECHNOLOGY will be effective on water supplies with a maximum hardness of 75 Grains per Gallon (GPG) or 1,282 ppm. For best results, all iron/manganese, sulfur and Tannin should be removed prior to this system’s installation.
COMPLETE PARTS LIST
Note: The parts supplied are intended to accommodate a variety of water supply lines. Additional fittings may be needed to fit to your plumbing. Visit pentair.com to view our full line of installation kits.
Note: Drawings are not to scale.
INSTALLATION OVERVIEW

Note: Sediment filter position is at the discretion of your professional installer. As a general guideline, the sediment prefilter is typically installed in the “pre” position (as shown above) for well water applications. For city water applications, the sediment filter is typically installed in the “post” position after the Water Softener Alternative tank.
WATER SOFTENER ALTERNATIVE WITH NATURSOFT® SALT-FREE TECHNOLOGY
PRE-INSTALLATION
Notice: Head may come loose in transit. Please check head by tightening clock wise, hand tighten only, no more than 1/4 turn. Head may not move at all or less than 1/4 turn.
Bypass Valve Installation
Figure 2
The bypass valve comes pre-assembled and ready to install with the o-rings, split rings, and quick connect nuts. Push the bypass valve into the head of the NaturSoft® Water Softener Alternative with the unthreaded ends oriented toward the tanks and hand-tighten the quick connect nuts.
Notice
The bypass valve(s) included with this system are designed for multiple water systems. This may result in the arrows on the bypass valve(s) pointing differently than shown. If the arrows on your bypass valve(s) do not match the diagram, remove the red arrows by pulling them straight up, turn them 180° to match the drawing, and push them back down onto the stem.
MEDIA SOAK
Carbon Soak/Rinse:
Note: Steps 1-3 should be done prior to installation
- Locate the carbon filter tank and the hose bib attachment.
- Attach the hose bib attachment to “Inlet” side of the carbon filter. Attach garden hose to the hose bib and turn water slowly until water flows out of the outlet of the tank (a stream of water about the size of a pencil). Allow this water to flow out for 15 minutes. (Note the first few gallons of water could look black and cloudy due to the carbon fines, this is a normal occurrence).
- After 15 minutes, turn water off for 1 minute. Then turn water on for fully for 1 minute, and then turn off and wait 1 minute. Continue this process until water comes out of the outlet clear. When complete, remove hose bib attachment.
- Should you lose water pressure while completing step 3, turn water off, and allow the tank to settle with no water usage. Repeat step 3, but reduce how fast you flush the tank.
Note: Should you need to perform the above steps after the tanks are connected to the home plumbing, it is recommended to use an outside garden hose spigot or faucet with an aerator to perform the rinsing procedure.
Warning: For 72 hours after installation, try not to use a high demand of water (multiple fixtures at one time). This can cause the media to float and could restrict water pressure. Should this happen, stop using the water and allow the tank to sit undisturbed (no water flow) for 15 minutes. Then resume a lower water usage.
SEDIMENT FILTER INSTALLATION
Note: Sediment filter position is at the discretion of your professional installer. As a general guideline, the sediment pre filter is typically installed in the “pre” position (as shown above) for well-water applications. For city water applications, the sediment filter is typically installed in the “post” position after the Water Softener Alternative tank.
Part 1
- Unscrew the cover from the blue filter housing.
- Remove the plastic covering from the sediment filter.
- Place the sediment filter onto the stand pipe in the blue filter housing and set aside.

Part 2
- Shut off the water.
- Attach the filter cover to the mounting bracket using the supplied bolt head screws and washers. Make sure to properly orientate the IN and OUT to match your flow pattern.
- Attach the mounting bracket to the wall using the supplied phillips head screws.
- Hand tighten the blue filter housing and then, using the supplied filter wrench, lightly snug the housing making sure not to over-tighten (counterclockwise).
- Determine the size of your inlet water supply line.
WATER SOFTENER ALTERNATIVE TANK INSTALLATION
- Level the Water Softener Alternative
Note: See “Troubleshooting” section on tips for leveling the tank.
Notice
If the tank is not level, lift the tank straight up 6 inches and tap it on the ground until the tank stands vertical. The bottom of the tank is round and the boot allows the tank to stand upright.
- Determine the size and material of your incoming water supply line and choose the appropriate plumbing required to adapt to the 1” male NPT Assembly.
Note: Visit Pentair.com to view our full line of installation kits.
Caution
Do not over-tighten any of the fittings during installation.
Note: The fitting below is designed with a ¼” give to allow for proper pipe alignment. It will not leak and is intended to have some flexibility.Part Description Qty. 
1″ Plastic Male NPT Assembly: 1 V3007-04 WS1 Fitting 1″ Plastic Male NPT Assembly (2): O-Rings (2), Split Rings (2),
bag and Connectors (2) 
- Install the fittings into the INLET and OUTLET sides of the bypass valve. Follow the diagram supplied with the fitting.
- Connect the incoming water supply from the sediment filter to the fitting on the INLET side of the bypass valve.
- Connect the outgoing water supply to the OUTLET side of the bypass valve.
BYPASS VALVE OPERATIONS
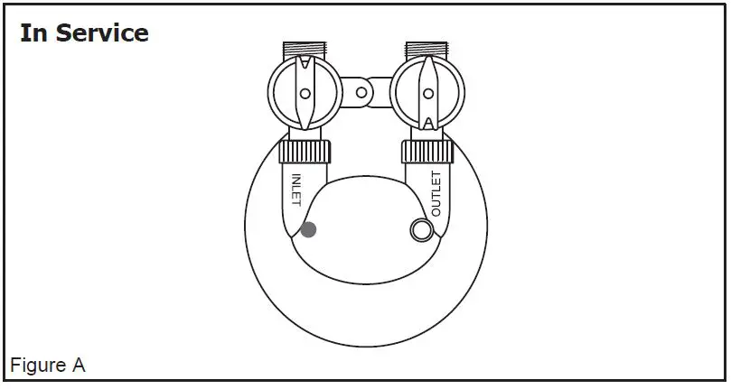
Figure A shows the system “in service” which allows water to flow in and out of the tank. In this position the system would be considered ON.
Figure B shows the system “in bypass” which will direct water straight to the home without going in and out of the tank. In this position the system would be considered OFF. 
COMPLETE THE INSTALLATION
- Check for leaks.
- Peel off the protective plastic wrap from the stainless steel tank jacket(s).
- Add the Pentair logo sticker(s) in the desired location on the tank.
- Wax stainless steel tank jacket(s) with wax provided (or any other non-abrasive auto wax) a minimum of 1-2 times per year or as needed based on the installed environment.
Clean your Hot Water Heater
Cleaning and restoring the plumbing system is a major benefit of the NS3-P / NS6-P NaturSoft® system. In order to minimize the time required to complete the decaling process, we strongly recommend cleaning your hot water heater 3 weeks after installation of your water softener alternative system.
Turn off the heat source, attach a hose to the drain valve at the bottom of the tank and flush the heater by opening the drain valve. After the water heater is completely filled with water, turn the heat source back on.
WHAT TO EXPECT WITH YOUR NEW WATER SOFTENER ALTERNATIVE SYSTEM
If you have never had a water softener:
Immediately after the installation you will experience naturally soft water. Most detergents will work better with treated water and you will be able to reduce the amount you use. However, there are mineral deposits and hard water scale coating the inside of your pipes and fixtures. Over the first few weeks, this hard water scale will dissolve, detach itself from the pipes, and come out of your faucets. This de-scaling process is temporary and will steadily diminish. During these first weeks, you will notice:
- Reduced softness of the water. This will be particularly evident when using hot water. The water can pick up more than ten grains of mineral content per gallon between the water softener alternative system and the faucet as it travels through the water heater and the plumbing.
- Mineral silt in the water. Since the existing limestone scale is softened and dissolved as part of the water softener alternative effect, it will detach in small chunks ranging in size from very fine silt to pieces larger than a grain of sand.
The larger pieces may be big enough to build up in the aerator screens of your fixture. Considerable silt-like accumulations may be visible on the shower heads, so clean them weekly for the first four weeks. Higher flow rates will shear off more of the existing hard water scale than will lower flow rates. De-scaling activity will be most obvious in bathtubs, which have high flow and hot water. You may see milky water with sand-like grit, and possible sediment or iron in the bath tub. - The water line supplying fixtures which experience the most use will be cleaned the quickest and will be the first to return to providing you the full benefits you experienced immediately following installation; rarely used fixtures will take longer.
If you had a traditional water softener:
A traditional water softener turns dissolved mineral hardness (calcium bicarbonate) into dissolved sodium bicarbonate. The water softener alternative technology maintains the healthy mineral content of the water without adding the bicarbonate. You will notice:
- In a traditional water softener, the absence of the calcium and the presence of sodium bicarbonate makes the water feel slick and slimy. If you miss the slick feeling, add some baking soda (sodium bicarbonate) to your bath water.
- The water spots are more visible. A water softener replaces calcium with sodium. The water spotting that a traditional water softener leaves behind is a salt haze that wipes off very easily and is far less noticeable than spots caused by minerals. The water softener alternative treatment results in reduced spotting compared to untreated water, but more visible spots than produced by traditional, chemically treated softened water. The water softener alternative mineral spots are much easier to clean than spots from untreated water.
- Soap curd forms with certain products. Oil-based soaps like Ivory will react with calcium minerals to form a sticky film. Detergent-based cleaners like shampoos, shower gels, dish soaps, and laundry detergents will react very slightly or not at all. Most detergent will work better with treated water, but you will notice very little improvement when using regular bar soap
or oil-based products since the minerals are largely still able to react with the fats in the soap to form the curd. - There is some mineral silt in the bathtub. Depending on the water chemistry of your water supply, you may still have some hard water scale deposits in your plumbing system.
If you have a dishwasher:
Generally, the water softener alternative system removes mineral hardness from solution and forms micro crystals; it does not physically remove the natural minerals from the water. Harsh chemicals, specifically acidic (low pH) detergents or rinse agents, can re-dissolve these crystals. This reduces the desired effect. Also, dishwashers are supplied by the hot water side of a building’s plumbing system, so for the first few weeks, the water hardness inside the dishwasher will be higher than normal. For both of these reasons, you will have to adjust the combination and amounts of detergents and rinse agents. Gel packs offer a great alternative since they contain detergents and rinse agents in just the right amounts.
If you have glass shower doors:
Years of untreated hardness can etch the surface of your glass allowing for soap scum and minerals to get stuck in your glass. We recommend cleaning the glass surface thoroughly with a de-scaling cleaner such as CLR then applying a few coatings of Rain-X to seal the pores on the glass surface. This process will fill the pores in the glass and allow the water to bead.
MAINTENANCE
Sediment Filter
It is recommended that the sediment filter be replaced every 6-9 months depending on the amount of sediment present in the water supply. If the system has been working properly and the pressure is slowing, it may be time to change the sediment filter. Check the sediment filter and replace if necessary.
Replacing the Sediment Filter
- Turn off the main water supply to the sediment filter system and bypass all tanks.
- Run a faucet (cold water) inside the house to relieve the pressure. Leave the faucet open.
- Unscrew the blue filter housing clockwise using the supplied filter wrench.
- Remove the existing sediment filter and discard.
- Remove the o-rings and wipe the upper groove clean. Lubricate two new o-rings with a coating of clean silicone grease. Replace both o-rings. Be sure to press the upper o-rings down into the groove with two fingers.
Note: This step is important to ensure the proper filter seal. Make sure the upper o-rings is seated level in the groove. If the o-ring appears damaged, stretched, or crimped it should be replaced - Place a new sediment filter onto the stand pipe in the blue filter housing.
- Screw the blue filter housing onto the filter cover hand tight. Lightly snug the housing with the spanner wrench making sure not to over-tighten.
- Turn on the main water supply slowly to allow the sediment filter system to fill with water and expel air from lines. Put tanks back in service (out of bypass).
- Check for leaks.
TROUBLESHOOTING
| Problem | Solution |
| Water leaking at the top of the tank around the head. | You may need to turn the head to tighten it. The tank head is pre-installed hand-tight, do not overtighten the head (just turn it snug). |
| The tank leans to one side or is not level. | If the tank is not level, lift the tank straight up 6 inches and tap it on the ground until the tank stands vertical. The bottom of the tank is round and the boot allows the tank to stand upright. |
|
| |
| Water pressure is slowing. | It is recommended that the sediment filter be replaced every 6-9 months depending on the amount of sediment present in the water supply. If the system has been working properly and the pressure is slowing, it may be time to change the sediment filter. Check the sediment filter and replace if necessary. |
Notice: If you have experienced a Boil Alert or require your system to be sanitized, please go to pentair.com/assets/pwsboilalert for product sanitization instructions.
PRODUCT WARRANTY AND REGISTRATION FORM
For details on your Pentair product warranty, please visit pentair.com/assets/residential-filtration-warranty.
Warranty Registration Form
Send in this Warranty Registration Form to validate your warranty or visit pentair.com/register-warranty to complete the warranty registration form online.
Send to:
Pentair
2361 Mason Avenue, Suite 100 Daytona Beach, FL 32114 Phone: 1.800.842.1635
PRODUCT CERTIFICATION
NS3-P, NS6-P are certified By IAPMO R&T to NSF/ANSI 61 for material safety.
The NaturSoft® system is DVGW DW-9191 certified for 99.6% hard water scale prevention.
2361 Mason Ave | Suite 100 | Daytona Beach, FL 32117 | United States
P: 877.842.1635
Technical Services: 877.842.1635
pentair.com
© 2021 Pentair. All indicated Pentair trademarks and logos are property of Pentair. Third party registered and unregistered trademarks and logos are the property of their respective owners.




























