
User Manual
Model: H6173
RGBIC Outdoor LED Strip Lights
Safety Instructions
Read and follow the safety instructions below:
- Only the strip light and the control box are IP65 water-resistant and can be used outdoors.
- Be careful of static electricity during installation and usage and keep away from sharp objects and strong corrosive chemicals.
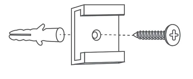
- Install the product with both the adhesive tape and mounting clips to achieve maximum adhesion.
- When bending the product during installation, avoid folding its LED components as this may affect its service life.
- Remove nails, metal, or other conductive objects from the installation surface before attaching the product, as it may cause short-circuiting.
- Do not allow children to assemble and install this product without adult supervision.
- Avoid installing the product near potentially dangerous sources (e.g., candles, liquid-filled objects).
Introduction
Thanks for choosing Govee RGBIC Outdoor Strip Lights. This waterproof strip light, built with the cutting edge RGBIC technology, will bring you a wonderful outdoor lighting experience with unlimited colors. It also supports segmented control via Govee Home App.
What You Get
| LED Strip Lights | 2 |
| Power Adapter | 1 |
| User Manual | 1 |
| Service Card | 1 |
At a Glance

Installing Your Device
Before You Install
- Unpack the box and check all items included.
- Unroll the strip light and power it on to confirm if it lights up.
Installing Steps
- Select a suitable area on the wall and use an electric drill to make holes for attaching the mounting clips.

- Insert a plastic screw cap into each hole. Next, align the mounting clips with the drilled holes and screw caps, and screw the clips into the wall.

- Wipe the surface of the wall to ensure it is dry and clean. Tear off the strip light’s adhesive film. Install the strip light into the mounting clips, then stick the rest to the wall. After finishing the installation, press lightly on the strip light to make sure it is securely attached.

- Remove the adhesive film on the control box to stick it to a suitable location. Plug the strip into power, and enjoy!

Pairing Your Device with Govee Home App
What You Need
- A Wi-Fi router supporting the 2.4GHz and 802.11 b/g/n bands. 5GHz is not supported.
- A smartphone or tablet running iOS or Android.
Pairing Instructions
- Download Govee Home App from App Store (iOS) or Google Play (Android).
- Turn on your smartphone’s Bluetooth.
- Open the app, tap the “+” icon in the top right corner and search for “H6173”.
- Tap the device icon and follow the on-screen instructions to complete pairing.

Controlling the Device with Your Voice
- Open the app, then tap the device icon to enter its details page.
- Tap the settings icon at the top right corner.
- Select “User Guide” and follow on-screen instructions to set up voice control.
Specifications
| Length | 2x10m/32.8ft (connected rolls) |
| Light Color | RGBIC |
| Water Resistance | IP65 (The adapter is NOT waterproof.) |
| Control Method | App, Control Box, Voice Control |
| Power Supply | 24V DC via Adapter |
Troubleshooting
- The adhesive tape is not strong enough.
a. Use the clips to install the strip light to make sure it is securely attached. - Cannot connect to Bluetooth.
a. Do not skip Bluetooth connection in the app.
b. Ensure Bluetooth on your smartphone has been turned on.
c. Your smartphone may be incompatible with Govee Home App. Try using a different smartphone then reconnect.
d. Power the strip light and your smartphone Bluetooth off and on before trying again.
e. Ensure that your smartphone is within 1m/3.28ft of the strip light when connecting.
f. Clear any obstructions that are between the strip light and your smartphone. - Part of the strip light failed to display the selected color./Some LED beads do not light up.
a. Contact customer service for rapid product replacement. - Cannot sync the strip light with the music.
a. Move the control box closer to the music source.
b. Clean the mic on the control box then try again. - Cannot connect to Wi-Fi.
a. Do not skip the Wi-Fi connecting steps in the app.
b. 5GHz network is not supported. Please set the router to 2.4GHz and then reset it.
c. Connect your phone to Wi-Fi and check whether the network works well.
d. Make sure you have entered the correct Wi-Fi name and password.
e. Change your Wi-Fi password to a brief one. 8 numbers and letters are suggested.
f. Connect hotspot in your phone to the strip light and check whether the router works with the strip light. - Cannot connect to Alexa.
a. Check if the strip light, control box, and power adapter are properly connected. If not, re-connect them.
b. Re-connect your phone to Wi-Fi.
c. Plug out the adapter port and plug it back in.
Customer Service
Warranty: 12-Month Limited Warranty
Support: Lifetime Technical Support
Email: [email protected]
Official Website: www.govee.com
@Govee
@govee_official
@govee.official
@Goveeofficial
@Govee.smarthome
FCC and ISED Canada Statement
This device complies with Part 15 of the FCC Rules and Industry Canada licence-exempt RSS standard(s). Operation is subject to the following two conditions: (1) This device may not cause harmful interference, and (2) This device must accept any interference received, including interference that may cause undesired operation.
Warning: Changes or modifications not expressly approved by the party responsible for compliance could void the user’s authority to operate the equipment.
NOTE: This equipment has been tested and found to comply with the limits for a Class B digital device, pursuant to Part 15 of the FCC Rules.
These limits are designed to provide reasonable protection against harmful interference in a residential installation. This equipment generates uses and can radiate radio frequency energy and, if not installed and used in accordance with the instructions, may cause harmful interference to radio communications. However, there is no guarantee that interference will not occur in a particular installation. If this equipment does cause harmful interference to radio or television reception, which can be determined by turning the equipment off and on, the user is encouraged to try to correct the interference by one or more of the following measures:
- Reorient or relocate the receiving antenna.
- Increase the separation between the equipment and receiver.
- Connect the equipment into an outlet on a circuit different from that to which the receiver is connected.
- Consult the dealer or an experienced radio/TV technician for help.
Govee is a trademark of Shenzhen Intellirocks Tech Co.,Ltd.
Copyright ©2021 Shenzhen Intellirocks Tech Co.,Ltd. All Rights Reserved.
FCC and IC Radiation Exposure Statement
This equipment complies with FCC and IC radiation exposure limits set forth for an uncontrolled environment. This equipment should be installed and operated with minimum distance 20cm between the radiator & your body.
- Do not connect the rope light to the supply while it is in the packing or wound onto a reel;
- Do not use the rope light when covered or recessed into a surface;
- Do not open or cut the rope light
The Bluetooth® word mark and logos are registered trademarks owned by Bluetooth SIG, Inc., and any use of such marks by Shenzhen Intellirocks Tech. Co., Ltd. is under license.
Responsible party :
Name: GOVEE MOMENTS(US) TRADING LIMITED
Address: 13013 WESTERN AVE STE 5 BLUE ISLAND IL 60406-2448
Email: [email protected]
Contact information: https://www.govee.com/support
FOR INDOOR USE ONLY
POUR UNE UTILISATION EN INTÉRIEUR UNIQUEMENT
https://www.govee.com/apps/qrcode
For FAQs and more information, please visit: www.govee.com























