Episode ES-PWR-SNDBR-180-BLK Powered Soundbar

Introduction
Thank you for purchasing an Episode® soundbar. To complete installation, follow these instructions. Visit our website for design recommendations and speaker calculators.
Contents
- 1x Soundbar
- 1x Subwoofer
- 2x Power cords
- 1x Remote
- 2x Wall brackets
- 8 x Wall screws
- 2x Wall bracket screws
- 2x Strong mount screws
Features
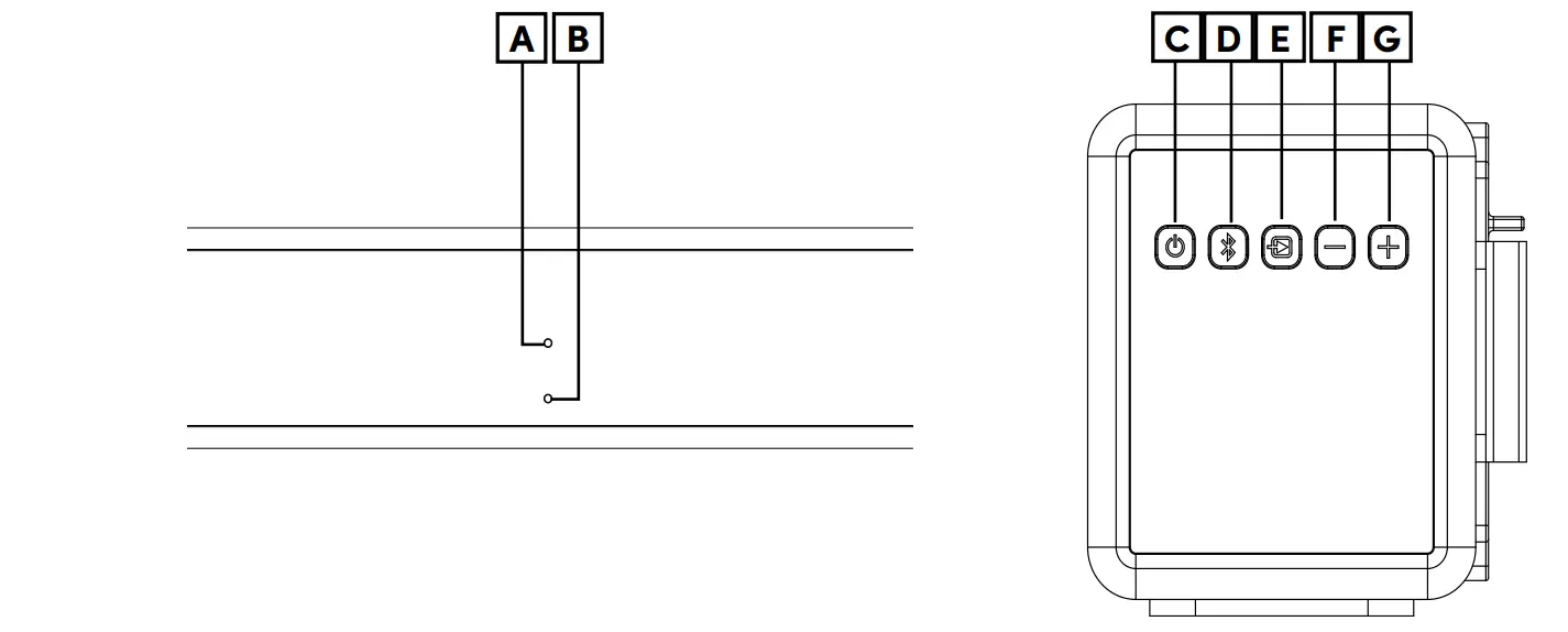
Soundbar (Front)

- Top LED
Red (Blinking): Soundbar is muted Red (Solid): Sounbar is off - Bottom LED
Red: Soundbar is in standby mode Green: Toslink optical input
Blue: Bluetooth input
Blue (Blinking): Bluetooth discovery mode
Yellow: Aux input
White: HDMI input - Power
- BT (Bluetooth) Pairing
- Input Toggle
- Volume Down
- Volume Up
Note:
This soundbar is equipped with Audio Sense, which enables the soundbar to turn on when an audio signal is detected. The soundbar enters Standby Mode after 15 minutes of inactivity, or with a short press of the remote’s power button.
Soundbar (Rear)

- USB input See “Playback Using a USB Drive” on page 7
- IR Input
- HDMI/ARC Input
- Toslink Optical Input
- Digital Optical input
- AUX Line Level Input Left and Right RCA Stereo input
- AC Power In
Note: Connections are inside the soundbar compartment.
Subwoofer
Status LED
- Red: Standby
- Blue: On
- Subwoofer Pairing Button
- AC Power In
- Power Cord Connection

Remote

Buttons are listed in order from left to right:
Power On/Off
- Short Press: Standy Mode. Unit turns on/off based on signal presence.
- Long Press: Deep Sleep Mode. The unit can only be powered on by pressing the power button.
- Mute
- Change Source
- Increase Sub Level
- Increase Volume
- BT (Bluetooth) Pairing
- Decrease Sub Level
- Decrease Volume
- IR Learning
- Enable Flat EQ
- Enable Night EQ
- Enable Music EQ
- Enable Movie EQ
- Enable Wide EQ
- Previous Track
- Repeat, Play/Pause
- Next Track
Note: The LEDs on the soundbar turn off 10 seconds after the last command is received.
Installation
Soundbar Placement
Placement should be below a flat screen TV on a cabinet top or shelf for most applications. Other options for placement include on-wall using the included bracket, or attached to a flat panel mount using the optional Strong mount bracket.
Installing On or In a Cabinet 
Pro Tip: When placing the soundbar on a cabinet shelf, the front edge of the speaker should be flush with the front of the shelf. Placing the speaker further back on the shelf will degrade the sound quality of the speaker.
Mounting on a Wall
Considerations for Wall Mounting Installing the soundbar more than 76.2 mm (3”) from the screen may delay the audio from the video and provide a poor listening experience. The soundbar should be as close to the TV as possible for the best listening experience.
Attaching the Wall Bracket
- Mark the position of the bottom and center of the TV.
- Remove the TV from the mount, if necessary, and locate wall studs using a stud finder (not included).
- Using paper template and level (not included), mark the screw hole locations.
Note: The top of the template indicates the top of the soundbar.
- Using the included screws and wall bracket, secure the wall bracket to the wall at the marked locations.

Note: If wall studs cannot be used, use wall mollies or anchors with the appropriate weight rating for the soundbar. The wall brackets uses eight M4×25mm screws. The wall VESA mounting pattern is 50mm×40mm (L×W). - Attach and tighten the wall bracket shoulder screws onto the back of the soundbar.

- Hook the soundbar onto the wall brackets slots, ensuring that the soundbar is secured to the wall.

Installing on a Flat Panel Mount
The Episode 2.1 Soundbar can be mounted directly to a Flat Panel Mount with the Strong™ SM-SBAR-BKT (available separately). Using the Flat Panel mount bracket allows the Soundbar to move with the TV when mounted to articulating arm mounts. This provides an optimal listening experience for these installations.
Subwoofer Placement
Subwoofer placement can have an effect on performance. All rooms are different, but the strongest output typically occurs if the subwoofer is placed in a corner of the room on the same wall as the soundbar. This is known as the boundary effect, which emphasizes certain bass frequencies while canceling others. Some listeners find this to be the best sounding result, while others find it “boomy” or muddy. Experiment with available placement options and use the tuning instructions in the “Fine Tuning” on page 8.
Connections
Use an AUX, HDMI, or Toslink cable (not included) to connect devices. Once connected, Audio Sense enables the soundbar to turn on when an audio signal is detected. The soundbar enters standby mode if no signal is detected after 15 minutes.
Caution: All connections must be made with the device turned off. Connect the power cable last to ensure the device is off during all set up and connections.
Bluetooth Pairing
- Long press the BT Pairing button on the included remote until the soundbar LED flashes rapidly.
- Access the Bluetooth pairing menu on the device to be paired to the soundbar, then select the Episode 2.1 Soundbar.
- Wait until the soundbar LED turns blue, and the Bluetooth device display reads Connected.
- Short press the BT Pairing button to disconnect the Bluetooth device.
Note: The Soundbar remember’s previously paired devices. When switching back to the Bluetooth input the soundbar’s blue LED flashes slowly to automatically reconnect the previously paired device.
Pairing the Subwoofer
The subwoofer automatically pairs to the soundbar after powering on. This typically takes 10 seconds. If automatic pairing fails, press the subwoofer’s pairing button twice to manually pair the subwoofer to the soundbar. The LED flashes at first, then turns solid blue when pairing is complete. 
Programming the Soundbar with a 3rd Party Remote
- Connect power to the soundbar, then press the soundbar’s Power button.
- Press the factory remote’s IR Learning button until the soundbar’s Source LED flashes.
- Press the soundbar button to be programmed and the Source LED turns off.
- Press the button to be learned on the 3rd party remote. The Source LED flashes 3 times, then turns solid.
- Repeat for other commands.
Note: IR learning is limited to volume up, volume down, and mute commands. For full control using a thrid party remote, follow the instructions in the below IR Control section.
IR Control
The soundbar is equipped with a front-mounted IR sensor, as well as a dedicated 3.5mm IR input on the back. Refer to the IR Control Protocol document, on the product page, for more details.
To control the soundbar with an in-room IR remote (commands transmit directly from the remote):
- Connect an IR receiver via IR repeater.
- Connect the IR repeater to the IR IN port on the soundbar with a 3.5 mm mono mini cable.
- Position the receiver so that commands are received reliably.
- Control additional equipment by attaching an IR flasher to the IR Out port of the repeater.

Playback Using a USB Drive
The soundbar’s USB input provides playback of compatible music files on a USB drive. Playback starts automatically when the drive is inserted. A third party remote control can be used for playback control. Use the IR Control Protocol document, on the product page, to program the remote.
The below table shows compatible file formats.
| Format | Sampling Frequency | Channel | Extension |
| MP3 | 32/44.1/48 kHz | 2-channel | .mp3 |
| WAV | 32/44.1/48/88.2/96/176.4/192 kHz | 2-channel | .wav |
| VLAC | 44.1/48/88.2/96/176.4/192 kHz | 2-channel | .flac |
Note: The soundbar cannot play copyright-protected files. Paid content from the internet are copyright protected.
Fine Tuning
Subwoofer Level
After making all connections, set up the subwoofer using the following steps:
- Connect power to the subwoofer. The status LED illuminates solid red when power is present and the subwoofer is on. The LED illuminates solid blue when soundbar is on.
- Play a movie scene or music track and set the system volume to an average level. Listen to the bass level from the desired listening position.
- Adjust the subwoofer volume using the Sub + and Sub – on the remote.
EQ
The EQ is set to bring out the dialog to replicate a 3 channel setup with only two channels. Determine the best system settings using the following steps:
- Play a movie scene during an acoustically chaotic scene and set the system volume to an average level with the EQ off. Listen to the dialog from the desired listening position.
- Listen to the same scene with the EQ on.
- Repeat steps 1 & 2 until the preferred setting is determined.
Restarting the Soundbar
Long press the power button to restart the soundbar.
Factory Reset
With the soundbar powered on, press and hold the Volume Down and Volume Up buttons together for 15 seconds until the top soundbar LED is solid red.
Specifications
| Tweeter | Two – .75″ soft dome |
| Woofer | Four – 3″ coated paper cone |
| Subwoofer | 8″ coated paper cone |
| Color | Black |
| Power handling (Peak) | 320W |
| Frequency response | 35 Hz – 20 kHz |
| Auto on (Audio Sense) Sensitivity | 4mV |
| Input power (Soundbar) | 100-240 VAC, 50/60 Hz, 100W |
| Input power (Subwoofer) | 100-240 VAC, 50/60 Hz, 90W |
| Inputs | Digital Optical, RCA, USB, HDMI/ARC and Bluetooth Inputs |
| Weight (Soundbar) | 4.2 kg (9.22 lbs) |
| Weight (Subwoofer) | 7.38 kg (16.27 lbs) |
| Grill type: | Black cloth |
| Soundbar finished dimensions with the feet installed (WxHxD) | 960 mm (37.8″) x 92.85 mm (3.7″) x 88.96 mm (3.5″) |
| Soundbar Finished Dimensions with the wall mount bracket installed (WxHxD) | 960 mm (37.8″) x 89.86 mm (3.5″) x 89.11 mm (3.5″) |
| Subwoofer finished dimensions (WxHxD) | 397.5 mm (15.6″) x 260 mm (10.2″) x 350 mm (13.8″) |
| Sold as | Each |
Technical Support
For chat and telephone, visit tech.control4.com/s/contactsupport
Email: [email protected].
Visit tech.control4.com for discussions, instructional videos, news, and more.
Warranty and Legal Notices
Find details of the product’s Limited Warranty at snapone.com/warranty or request a paper copy from Customer Service at 866.424.4489. Find other legal resources, such as regulatory notices and patent and safety information, at snapone.com/legal. Copyright ©2022, Snap One, LLC. All rights reserved. Snap One its respective logos are registered trademarks or trademarks of Snap One, LLC (formerly known as Wirepath Home Systems, LLC), in the United States and/or other countries. 4Store, 4Sight, Control4, Control4 My Home, SnapAV, Araknis Networks, BakPak, Binary, Dragonfly, Episode, Luma, Mockupancy, Nearus, NEEO, Optiview, OvrC, Pakedge, Sense, Strong, Strong Evolve, Strong VersaBox, SunBriteDS, SunBriteTV, Triad, Truvision, Visualint, WattBox, Wirepath, and Wirepath ONE are also registered trademarks or trademarks of Snap One, LLC. Other names and brands may be claimed as the property of their respective owners. Snap One makes no claim that the information contained herein covers all installation scenarios and contingencies, or product use risks. Information within this specification subject to change without notice. All specifications subject to change without notice.

























