![]()
SILVERCREST STS 850 E1 850 Watts Toaster
OVERVIEW

Introduction
Congratulations on the purchase of your new appliance!
You have clearly decided in favor of a modern, high-quality product. These operating instructions are a component of this product. They contain important information in regard to safety, use, and disposal. Before using the product, familiarise yourself with all of these operating and safety instructions. Use this appliance only as described and only for the purposes indicated. In addition, pass these documents on, together with the product, to any future owner.
Copyright
This documentation is copyright protected.
Any copying or reproduction of it, including as extracts, as well as the reproduction of images, also in an altered state, is only permitted with the written authorization of the manufacturer.
Limited liability
- All technical information, data and instructions for the installation, connection, and operation contained in these operating instructions correspond to the latest available at the time of printing and, to the best of our knowledge, take into account our previous experience and know-how.
- No claims can be derived from the details, illustrations, and descriptions in these instructions.
- The manufacturer assumes no responsibility for damage caused by failure to observe these instructions, improper use, incompetent repairs, making unauthorized modifications or using unapproved replacement parts.
Intended use
- This appliance is intended exclusively for toasting slices of bread and bread rolls in private households. It is not intended for use with other foods or other materials.
- This appliance is intended exclusively for use in domestic households. Do not use the appliance for commercial applications!
Items supplied
The appliance is delivered with the following components as standard:
- Toaster
- Bread roll rack
- Operating instructions
- Remove the appliance and the operating instructions from the carton.
- Remove all packing material.
NOTICE
- Check the contents to ensure everything is present and for visible damage.
- If the delivery is not complete or has been damaged due to defective packaging or transportation, contact the Service-Hotline (see section Service).
Disposal of the packaging
- The packaging protects the appliance from transport damage. The packaging materials are selected from the point of view of their environmental friendliness and disposal technology and are therefore recyclable.
The recirculation of packaging into the material circuit saves on raw material and reduces the amount of waste generated. Dispose of packaging material that is no longer needed as per the regionally established regulations.
NOTICE
If possible preserve the appliance’s original packaging during the warranty period so that, in the event of a warranty claim, you can pack the appliance ideally for its return.
Note the labeling on the packaging and separate the packaging material components for disposal if necessary. The packaging material is labeled with abbreviations (a) and numbers (b) with the following meanings:
1–7: Plastics,
20–22: Paper and cardboard,
80–98: Composites.
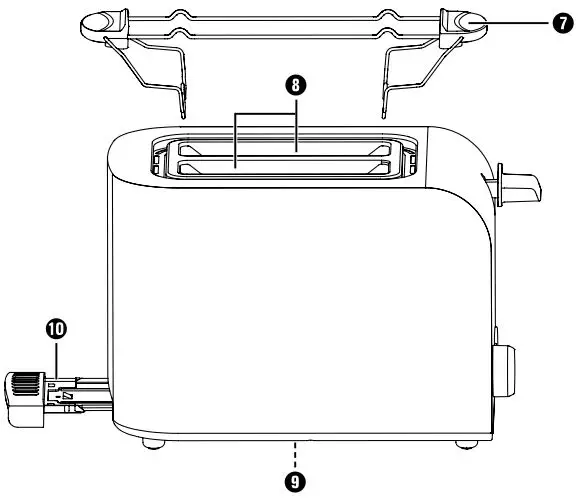
Appliance description
Illustration A:
- Operating button
- Cable clamp
- “Defrost” button

- “Warm-up” button

- “Stop” button

- Toasting dial
Illustration B: - Bread roll rack
- Toasting slots
- Cable winder 0 Crumb tray
Technical data
| Voltage | 220 – 240 V ∼ (AC), 50 – 60 Hz |
| Power consumption | 850 W |
![]() | All of the parts of this appliance that come into contact with food are food-safe. |
Safety instructions
RISK OF ELECTRIC SHOCK
- If the main cable of this appliance is damaged, it must be replaced by the manufacturer, their customer service department, or a similarly qualified person in order to avoid potential risks.
- Use the appliance only in dry indoor areas, not outdoors.
NEVER submerge the appliance in water or other liquids! If you do, then you could receive a potentially fatal electric shock. - NEVER insert cutlery items or other metallic objects into the toaster slots.
- Ensure that the appliance can never come into contact with water. NEVER use the appliance adjacent to water or close to vessels containing liquids.
- Ensure that the power cable never gets wet or moist when the appliance is in use. Lay the cable such that it cannot be clamped or otherwise damaged.
- After use, always remove the plug from the mains power socket, this prevents the unintentional switching on of the appliance.
WARNING! RISK OF INJURY!
- The appliance can be used by children aged 8 years and above and persons with reduced physical, sensory or mental capabilities or lack of experience and knowledge if they have been given supervision or instruction concerning the use of the appliance in a safe way and understand the hazards involved.
- Children should not play with the appliance.
- Cleaning and user maintenance should not be performed by children unless they are older than 8 years of age and are supervised. Children younger than 8 years of age are to be kept away from the appliance and the power cable.
- The appliance can become hot when it is in use. Therefore, only touch the operating elements.
- Use the appliance only on a stable, non-slippery, and level surface.
- Do not use an external timing switch or a separate remote control system to operate the appliance.
- Unwind the power cable completely from the cable winder before using the appliance.
- Risk of burning if you do not use standard toast bread! Because of the smaller size or shape, there is a risk of touching hot parts when removing the toasted bread.
CAUTION! RISK OF FIRE!
- Bakery products can burn! You should therefore NEVER locate the appliance close to or underneath inflammable objects, especially not under curtains or suspended cupboards.
- This appliance may not be used in close vicinity to flammable material.
- NEVER cover the toaster when it is in use.
Tips for use
- Avoid using slices that are too big or too thick, as these can easily become jammed in the appliance. Should slices of bread become jammed, first disconnect the plug from the mains power socket. Release jammed slices of bread with a blunt wooden object (e.g. a wooden spatula or spoon). Thereby, do NOT touch the heater elements.
- Differences in bread sorts, moisture content and the thickness of individual slices influence the browning of the toast. Therefore the bread for toasting should be kept in sealed packaging until required. Always initially try out a lower level of browning.
- Use a lower level of browning if you are toasting dry bread, as dry bread browns faster than fresh bread.
- Select a higher level of browning for dark bread than for light bread, for example, wheat bread.
- The numbers on the toasting dial 6 are not time indications. They serve only as a guide for the browning.
- To avoid an overheating of the toaster and to obtain an even browning of bread, wait for about 15 seconds between two toasting processes.
- You should only use the highest level on the toasting dial 6 for large slices of dark bread. With this browning level light bread will scorch and become inedible. In addition, it may cause the generation of smoke. If this occurs, press the button “Stop”
5 immediately and disconnect the power cable from the mains power socket.
Setting up
CAUTION! RISK OF FIRE
- You should therefore NEVER locate the appliance close to or underneath inflammable objects, especially not under curtains or suspended cupboards.
- Unwind the cable completely from around the cable winder 9 and lead it through the cable clamp 2.
- Place the appliance on a level and heat-resistant surface.
- Insert the plug into a mains power socket.
NOTICE
When the toaster is not in use, always remove the plug from the mains power socket. This is the only way to ensure that the appliance is current-free.
Before taking into use
- Operate the toaster without bread 3 times at the maximum browning level “6“.
- Afterward, clean the toaster as described in the chapter “Cleaning”.
NOTICE- Operating button 1 only engages when the cable is connected to a mains power socket.
- With the first usage, a slight smell can arise (minimal smoke development is also possible). This is normal and dissipates after a short time. Provide for sufficient ventilation. For example, open a window.
Operation
Adjusting the browning level
The desired level of browning, from “light” (1) to “dark” (6), can be adjusted infinitely with the toasting dial 6.
Toasting
CAUTION! RISK OF FIRE!
Do not cover the toasting slot 8 when the appliance is in operation. There will be a risk of fire! The appliance could be irreparably damaged!
NOTICE
- If you only want to put one piece of toast into the toaster, turn the toasting dial 6 down by approx. 1 level to achieve the same level of browning as with two pieces of toast.
- After setting the desired browning level, insert the bread into the toaster slots 8.
- Press the operating button 1 downwards. The automatic bread centring device centres the inserted bread in the toaster slots 8. During the toasting process the control lamp integrated in the “Stop” button 5 glows.
- When the desired level of browning has been reached the toaster switches itself off automatically, the slices are ejected to the top and the control lamp goes out.
Interrupting the toasting process
If you wish to interrupt the toasting procedure, press the button “Stop” 5. The toaster switches itself off and the bread slices are ejected upwards.
Warming function
The warming function enables you to warm bread without browning it. As an example, for toast that has gone cold. The bread is only briefly warmed.
- Insert the bread and press the operating button 1 downwards.
- Press the “Warm up”
button 4. The integrated control lamp lights up. - When the bread has been reheated, the appliance switches itself off automatically and the slices are ejected upwards.
NOTE
Press the button “Warm up”
button 4 again to switch off the warming function. The integrated control lamp goes out and the warming process switches to a normal toasting process.
Defrost function
By pressing the button “Defrosting”
3, also frozen bread can be thawed and toasted. With this, the toaster slowly warms the bread. Activating the defrost function will allow the frozen bread to achieve the same browning level as when you toast fresh bread.
- After setting the desired browning level, insert the bread into the toaster slots 8.
- Press the operating button 1 downwards.
- Press the button “Defrosting”
3. The integrated control lamp glows. - When the defrosting and toasting process is finished, the toaster switches itself off automatically, the control lamp integrated in the button “Defrosting” 3 goes out and the bread slices are ejected to the top.
NOTE
Press the “Defrost” button
3 again to switch off the defrost function. The integrated control lamp goes out and the defrost process switches to a normal toasting process.
Crisping bread rolls
Never lay bread rolls directly onto the toaster, always use the bread roll rack 7.
- Fold out the two feet of the bread roll rack 7.
- Place the bread roll rack 7 onto the appliance so that the feet protrude into the toasting slots 8 and the bar between the toasting slots 8 fits into the arched sections on the feet. In this position, the bread roll rack 7 sits on the appliance stably.
- Place the bread rolls onto the bread roll rack 7 and start the toasting procedure. Set the toasting dial 6 to the desired browning level. We recommend setting the browning level to 2, but the setting may vary depending on the bread type and personal taste.
NOTE
After toasting, the rolls will be very hot. - As soon as the toaster switches itself off, turn the rolls over to crisp the other side and then switch the toaster back on.
- When you are finished with the bread roll rack 7, you can fold it for space-saving storage:
- Wait until the bread roll rack 7 has cooled down.
- Remove it from the appliance.
- Fold the feet of the bread roll rack 7 back in.
Crumb tray
When toasting, crumbs that fall from the bread are collected in the crumb tray 10.
- To empty crumbs from the crumb tray 0, simply pull it out.
- Tip out the crumbs.
- Slide the crumb tray 0 back into the toaster so that it palpably engages.
Cleaning
RISK OF ELECTRIC SHOCK
Disconnect the plug from the mains power socket before cleaning the appliance.
- NEVER submerge the appliance in water or other liquids! If you do, then you could receive a potentially fatal electric shock.
WARNING! RISK OF INJURY!
Allow the toaster to cool before cleaning it. Risk of Burns!
CAUTION! PROPERTY DAMAGE!
- Do not use aggressive or abrasive cleaning agents. These can damage the upper surfaces of the appliance.
- clean the appliance housing only with a dry or lightly moistened cloth.
- Wipe the bread roll rack 7 off with a damp cloth.
- To avoid the risk of fire, empty the crumb tray 0 at regular intervals.
Storage
- Clean the toaster as described in the chapter “Cleaning”.
- Wrap the power cable around the cable winder 9 on the underside of the toaster:

Troubleshooting
| Problem | Cause | Remedy |
|
The appliance does not function. | The plug is not inserted into a mains power socket. | Connect the power cable into a mains power socket. |
| The appliance is defective. | In this case, contact Customer Services. | |
| The slices of toast are too dark. | The level of browning is set too high. | Set the toasting dial 6 somewhat lower. |
| The slices of bread are not toasted. | The level of browning is set too low. | Set the toasting dial 6 somewhat higher. |
| The operating button 1 does not engage when it is pressed down. | The plug is not inserted into a mains power socket. | Insert the plug into a mains power socket. |
| The appliance is defective. | In this case, contact Customer Services. |
Disposal
Do not dispose of the appliance in your normal domestic waste. This product is subject to the provisions of European Directive 2012/19/EU (Waste Electrical and Electronic Equipment). Dispose of the appliance through an approved disposal centre or at your community waste facility. Observe the currently applicable regulations. In case of doubt, please contact your waste disposal center.
Your local community or municipal authorities can provide information on how to dispose of the worn-out appliance.
Kompernass Handels GmbH warranty
Dear Customer,
This appliance has a 3-year warranty valid from the date of purchase. If this product has any faults, you, the buyer, have certain statutory rights. Your statutory rights are not restricted in any way by the warranty described below.
Warranty conditions
- The warranty period starts on the date of purchase. Please keep your receipt in a safe place. This will be required as proof of purchase.
- If any material or manufacturing fault occurs within three years of the date of purchase of the product, we will either repair or replace the product for you or refund the purchase price (at our discretion). This warranty service requires that you present the defective appliance and the proof of purchase (receipt) within the three-year warranty period, along with a brief written description of the fault and of when it occurred.
- If the defect is covered by the warranty, your product will either be repaired or replaced by us. The repair or replacement of a product does not signify the beginning of a new warranty period.
Warranty period and statutory claims for defects
The warranty period is not prolonged by repairs effected under the warranty. This also applies to replaced and repaired components. Any damage and defects present at the time of purchase must be reported immediately after unpacking. Repairs carried out after expiry of the warranty period shall be subject to a fee.
Scope of the warranty
- This appliance has been manufactured in accordance with strict quality guidelines and inspected meticulously prior to delivery.
- The warranty covers material faults or production faults. The warranty does not extend to product parts subject to normal wear and tear or to fragile parts which could be considered as consumable parts such as switches, batteries or parts made of glass.
- The warranty does not apply if the product has been damaged, improperly used or improperly maintained. The directions in the operating instructions for the product regarding proper use of the product are to be strictly followed. Uses and actions that are discouraged in the operating instructions or which are warned against must be avoided.
- This product is intended solely for private use and not for commercial purposes. The warranty shall be deemed void in cases of misuse or improper handling, use of force and modifications / repairs which have not been carried out by one of our authorized Service centres.
Warranty claim procedure
To ensure quick processing of your case, please observe the following instructions:
- Please have the till receipt and the item number (e.g. IAN 123456_7890) available as proof of purchase.
- You will find the item number on the type plate on the product, an engraving on the product, on the front page of the operating instructions (below left) or on the sticker on the rear or bottom of the product.
- If functional or other defects occur, please contact the service department listed either by telephone or by e-mail.
- You can return a defective product to us free of charge to the service address that will be provided to you. Ensure that you enclose the proof of purchase (till receipt) and information about what the defect is and when it occurred. You can download these instructions along with many other manuals, product videos and installation software at www.lidl-service.com.
This QR code will take you directly to the Lidl service page
(www.lidl-service.com) where you can open your operating instructions
by entering the item number (IAN) 364649_2101.
Service
- Service Great Britain
Tel.: 0800 404 7657
E-Mail: [email protected] - Service Malta
Tel.: 80062230
E-Mail: [email protected]
Importer
Please note that the following address is not the service address. Please use the service address provided in the operating instructions.
KOMPERNASS HANDELS GMBH
BURGSTRASSE 21
44867 BOCHUM
GERMANY
www.kompernass.com
OVERVIEW

The recirculation of packaging into the material circuit saves on raw material and reduces the amount of waste generated. Dispose of packaging material that is no longer needed as per the regionally established regulations.

This QR code will take you directly to the Lidl service page

















