BerlingerHaus BH9074 JUICE EXTRACTOR
User Manual



Juice extractor
IMPORTANT SAFEGUARDS:
1. When using this electrical appliance, basic safety precautions should always be followed including the following:
- To protect against risk of electrical shock do not put the motor housing in water or any other liquids.
- Close supervision is necessary when the appliance is used by or near children.
- Unplug from outlet when not in use, before addition or removal of any parts, and before cleaning.
- Avoid contacting moving parts.
- Do not operate any appliance with a damaged cord or plug or after the appliance malfunctions, or is dropped or damaged in any manner. Return appliance to the nearest authorised .Service Agent for examination, repair or electrical or mechanical adjustment.
- Do not use outdoors
- No not let cord hang over edge of table or counter.
- Do not let cord contact hot surface, including the stove.
- Do not use the appliance if the rotating sieve is damaged.
Safety instructions:
Always make sure juicer cover is clamped securely in place before motor is turned on.
Do not unfasten clamps while juicer is in operation.
Be sure to turn switch to OFF position after each use of your juicer. Make sure the motor stops completely before disassembling.
Do not put your fingers or other objects into the juicer opening while it is in operation. If food becomes lodged in opening, use food pusher or another piece of fruit or vegetable to push it down. When this method is not possible turn the motor off and disassemble juicer to remove the remaining food.
Do not use the appliance if the rotating sieve is damaged.
The cutting blade is extremely sharp so always use food pusher
Technical Information
Voltage/frequency: AC220-240V 50/60Hz (400W)
Juice capacity: 0.45 litre
Pulp capacity: 1.5 litres
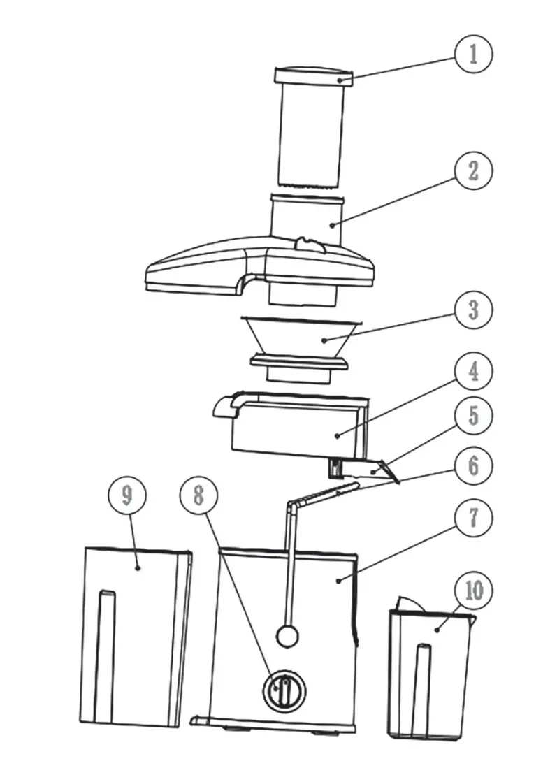
PARTS LIST:

- Pusher
- Top Lid
- Juicing net
- Middle ring
- Anti-drop spout
- Handle
- S/S body
- Switch
- Pulp container
- Juice container
SPECIAL HELPFUL HINTS FOR THE BEST PERFORMANCE
Do not put any fruit or vegetable in your juicer until power is turned on.
Remove large seed from fruits such as peach, mango, etc. as the seed will damage the blade of the unit.
The juicer has two speeds. High speed is for the hard fruits and vegetables like apples, carrots etc…and low speed is for soft fruits and vegetables such as watermelon, grapes and strawberries.
Do not use bananas or avocados as they do not contain juice and will clog juicer.
Allow the juicer run for a few minutes before turning off to allow any excess juice to be extracted from the pulp. Wait until motor stop spinning before disassembling.
Do not immerse the whole machine into water or liquid at any time.
Assembly
Before first use it is a good idea to familiarise yourself with the assembly/disassembly of the unit.
- The appliance should be unplugged from the mains before assembly or disassembly.
- Place the pulp container under the nozzle on the left of the machine. Place the juice container under the nozzle on the right of the machine.
- Attach the residue container onto the main body and clip the filter net into place.
- Attach the top transparent cover and close and place the juicer stick in the food chute.
- Make sure the housing unit is locked with the safety lockers in place by hooking them onto the top cover and pushing them downwards until they clip in place.
- The juicer will not work for safety reasons if the safety lockers are not locked in place correctly.
Disassembly
- Remove the juicer stick and the pulp and juice containers.
- To remove the upper body pull both safety lockers outwards from the bottom. Release and lift off the top cover.
- Lift the filter net off by gently pulling upwards.
- Lift of the Residue container.
Juicing
- Assemble the machine as described above.
- Connect to mains supply.
- Remove the Juicer Stick (it simply lifts out).
- Ensure the juicer and pulp containers are in place.
- Start the machine using the power switch and turning it to position 1 for slow and position 2 for fast.
- Slowly add the fruit/vegetable pieces via the food chute using the Juicer Stick to feed the fruit down the chute. Please remember to remove any large stones in fruit or any peel that you would not normally eat.
- The juicer is efficient but do not to over load the machine by feeding too much through at once.
- Once the juice container is full you can empty the juice into another container and then resume juicing.
- Once the Pulp container is full, switch of the juicer at the mains supply and disassemble as described above. Empty the sediment from the sediment container and re-assemble as described above. Switch on the mains supply, you can now continue juicing.
- Notes: The amount of juice produced depends upon the type of fruit/vegetable used and how ripe it is. Only put through things that you would normally eat, for example; Kiwi fruit should be peeled first. Never put sharp objects down the food chute.
HOW TO CLEAN:
Turn off the power switch. Disassemble the juicer parts. Clean all other parts except the motor housing, in warm, soapy water. A mild detergent is recommended. Rinse well and dry thoroughly.
The stainless steel receptacle and filter are dishwasher safe. Plastic components are advised to be placed in the top basket of your dishwasher or hand washed.
The motor housing is not dishwasher safe.
While the unit is unplugged, wipe base with a soft damp cloth or sponge.
Do not spray with water or any other liquid. To clean the filter and blade, hold them under clean running water. Use a soft-bristled dish washing brush gently to completely clean pulp from filter and blade disc.
Rinse the filter from the outside under running water.
Dry all parts thoroughly then assemble the juicer and turn the power ON to spin out any excess water in the filter and receptacle.
Make sure unit and parts are completely dry then store in a cool, dry place.

Environment
Disposal of Old Electrical & Electronic Equipment (Applicable in the European Union and other European countries with separate collection systems)
This symbol on the product or on its packaging indicates that this product shall not be treated as household waste. Instead it shall be handed over to the applicable collection point for the recycling of electrical and electronic equipment. By ensuring this product is disposed of correctly, you will help prevent potential negative consequences for the environment and human health, which could otherwise be caused by inappropriate waste handling of this product. The recycling of materials will help to conserve natural resources. For more detailed information about recycling of this product, please cantact your local city office, your household waste disposal service or the shop where you purchased the product.


















