Knightsbridge GUSPBK 230V IP65 GU10 Ground Spike

GENERAL INSTRUCTIONS
These instructions should be read carefully and retained after installation by the end user for future reference and maintenance. These instructions should be used to aid installation of the following products: GUSPBK / GUSPGR
SAFETY
- This product must be installed in accordance with the latest edition of the IEE Wiring Regulations (BS7671) and current Building Regulations. If in any doubt, consult a qualified electrician
- Please isolate mains prior to installation or maintenance
- Check the total load on the circuit (including when this luminaire is fitted) does not exceed the rating of the circuit cable, fuse or circuit breaker
- Please note the IP (Ingress Protection) rating of this luminaire when deciding the location for installation
- This product is Class I and must be earthed
- This product is IP65 rated
INSTALLATION
Note – If this luminaire is being used in conjunction with an external PIR or sensor, please confirm with the manufacturer of the sensors that they are compatible with LED luminaires.
This product is compatible with GU10 base LED lamps only (10W maximum). Maximum lamp length 83mm
- Provide power to the required point of installation (refer to BS7671 for correct cabling methods). Suitable IP rated junction boxes should be used where required
- The power source connections should be local and accessible via a suitable IP rated enclosure
- Choose a position for the luminaire ensuring the ground is suitable to firmly hold the spike and luminaire in position. Check the ground is not liable to flooding and the spike does not infringe with any underground pipes or cables
- The body of the product should not rest directly on the ground
- The pre-installed cable supplied is for above-ground use only. Cables that are to be routed within walls or below ground must be protected by means of suitable conduit or trunking
(see Fig. 1)
- For wall mounting installation, unscrew the spike from the luminaire. Mark and drill the hole for the mounting bracket ensuring it does not infringe with electrical cables, or water / gas pipes
- Connect the mains supply, Live (brown), Neutral (blue) and Earth (green/yellow)
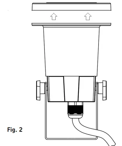
- Remove the four screws on top of the fitting and pull the bezel away from the fitting (see Fig. 2)

- Insert a GU10 LED lamp into the lamp holder. Align the pins and turn 45° clockwise to secure the lamp (a suction cup is provided to aid insertion/removal of lamp where required)
- Replace the bezel on the fitting, insert the four screws and tighten ensuring the gasket is in place and a tight seal is maintained
- Switch on and check for correct operation
- If the protective glass gets cracked or damaged it should be replaced immediately
- This fitting must not be used without the protective glass installed
GENERAL
- Clean the external surfaces with a damp cloth using a mild solution of detergent and warm water only, do not use aggressive cleaning products or solvents which may damage the product
- Do not use any source of high-pressure washers to maintain or clean this product
- This product is not suitable for installation in or near a coastal or marine environment
- This product is dimmable dependent on lamp type
- This product should be recycled in the correct manner when it reaches the end of its life. Check local authorities for where facilities exist
WARRANTY
This product has a warranty of 1 year from date of purchase. Failure to install this product in accordance with the current edition of the IEE Wiring Regulations (BS7671), improper use, or removal of the batch codes will invalidate the warranty. If this product should fail within its warranty period, it should be returned to the place of purchase for a free-of-charge replacement. ML Accessories does not accept responsibility for any installation costs associated with the replacement product. Your statutory rights are not affected. ML Accessories reserve the right to alter product specification without prior notice.
ML Accessories Limited LU5 4LT www.mlaccessories.co.uk





















