
Model – Vallox Delico PTD EC
Type – A279843-1
Document – D9517
Instruction Manual
Delico PTD EC Stove Hood
The Velox Delico PTD EC control hood is suited to controlling EC roof fans and Vallox ventilation units.
The cooker hood is designed to be used above the cooker top, as a general extraction valve in the kitchen, and as a ventilation system control panel.
VENTILATION CONTROL
Apartment-specific ventilation units allow residents to adjust ventilation efficiency. Ventilation is controlled based on the need e.g. through the cooker hood, ventilation control panel, or a separate control center.
| Away The ventilation efficiency can be temporarily reduced when the apartment is unoccupied. | |
| At home Ventilation must be continuous, i.e. the air inside the building must be replaced at least once every two hours. | |
| Boost Cooking, sauna, bathing, drying of clothes, excessive heat, and other similar situations can require that ventilation be increased from the standard setting. In such a situation, ventilation must be increased. |
USING THE COOKER HOOD
The cooker hood has a sliding part that can be pulled out of the cooker hood. Pull the sliding part out of the cooker hood for maximal extraction capacity.
Front panel buttons
The front panel of the cooker hood has four buttons and four signal lights.
![]()
Position of the damper
The damper is opened by pressing the damper button (light turns on). The damper is closed (light turns off) by pressing the damper button or automatically after one hour (without a timer or 45-120 min when programmed).
In normal circumstances, the damper must be closed (the signal light is off), which boosts the extracted airflow from other premises.
The damper must be open (the signal light is turned on) when the user wants to increase the extract airflow from the cooker hood e.g.
- when the cooker top or the oven is used for cooking
- when the load in the kitchen is exceptional e.g. due to the use of strong detergents or the presence of a large number of people.
It is recommended that ventilation be left turned on during long holidays also. This keeps the indoor air fresh and prevents humidity from condensing in the ventilation ducts and structures. It also reduces the risk of moisture damage.
CAUTION
- Neglecting the cleaning of the grease filter can cause a fire hazard.
- The outer surfaces of the hood can become hot when the cooker or the oven is turned on.
- Flaming is forbidden underneath the cooker hood.
- Always follow the instructions provided on adjusting the efficiency of ventilation.
- Enable a sufficient supply of airflow into the room, if the cooker hood and non-electric devices are used simultaneously.
Cooker hood light
Turn the light on or off by pressing the light switch. The light is dimmable. Adjust the brightness by pressing the light switch until the brightness is adequate.
Ventilation modes
Select the ventilation mode by pressing the ventilation mode button repeatedly until the signal light indicates the desired mode:
Away
At home
Boost
Selection button
The selection button is roughly 3 cm to the left of the damper button. The selection button is not marked on the front panel.
Other functions
Guard function
The cooker hood has a guard function that is activated when the temperature of the cooker hood exceeds +60 °C or after a sudden increase in temperature (> 8 °C/min). In such a case, all signal lights and the LED light of the cooker hood will flash, the controlled fan or ventilation unit turns off, and the damper closes. If this kind of alarm is noticed before fire damage, it can be acknowledged by pressing any of the cooker hood buttons.
Pre-selection of light brightness
To modify the pre-selection of light brightness:
- Turn on the light, close the damper, and set the ventilation to the Away profile.
- Press the selection button for roughly 3 seconds until the setting mode signal light starts to flash.
- Adjust the brightness of the light by pressing the light button until the brightness is adequate.
- To save the setting, press the selection button for roughly 3 seconds until the setting mode signal light stops flashing.
To read about the other functions of the selection button, go to our website, www.vallox.com.
MAINTENANCE
Keep the cooker hood clean. Wipe outer surfaces regularly with water containing a small amount of mild detergent. Clean off any grease stains immediately. Do not use abrasive or corrosive detergents or tools.
Keep the grease filter clean to ensure an adequate extract air flow. The grease filter must be washed with warm water and detergent at least 1-2 times a month.
Removing and mounting the grease filter

WARNING
The unit is not intended for use by children under 8 or by persons with reduced sensory, physical or mental capabilities, or whose lack of knowledge and experience does not ensure the safe operation of the unit. Such persons can use the unit under supervision, or by following the instructions of someone who is responsible for their safety. Do not let children play with the unit or clean or maintain it without supervision.
Light
The cooker hood has a long-lasting LED lighting module (6.7 W). If the light is not working, contact a servicing company.
- Pull the sliding part out of the cooker hood.
- Pull the locking device of the grease filter towards the front edge of the cooker hood while pulling the grease filter downwards until it comes off.
- Wash the grease filter and leave it to dry.
- Mount the grease filter back in place. Push the front edge of the filter into the pins on the cooker hood, and click the rear edge in place.
NOTE
Ensure that the locking device points downwards.
INSTALLATION

CAUTION
The cooker hood must not be connected to a flue that is used for removing combustion gases (e.g. from wood- or gas-burning fireplaces, cookers, or stoves).
CAUTION
Regulations on leading extraction of air outdoors must be observed.
CAUTION
The power outlet used for the cooker fan must be easy to access.
CAUTION
The minimum distance of the bottom edge of the hood to an electric cooker is 400 mm and to a gas cooker 650mm.
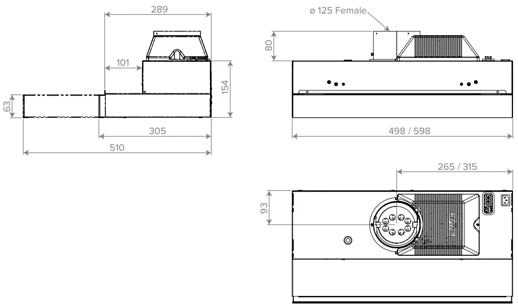
DIMENSION DIAGRAMS

EXTERNAL ELECTRICAL CONNECTION TO THE VENTILATION UNIT OR A ROOF FAN

SETTING VENTILATION MODES
As the default factory setting, the Vallox Delico PTD EC cooker hood has the following fan control voltages: Away: 2.5 VDC | At home: 5.0 VDC | Boost: 7.5 VDC
To adjust the control voltage:
- Close the damper, turn off the lights, and select the At home ventilation profile.
- Press the selection button for roughly 3 seconds until the setting mode signal light starts to flash. The signal light will flash in a series of five flashes to indicate that the 5 VDC control voltage is set.
- Press the ventilation mode button. The signal light will flash in a series of five normal + one quick flash (5.5 VDC).
- Press the ventilation mode button. The signal light will flash in a series of six flashes (6.0 VDC).
- Press the ventilation mode button. The signal light will flash in a series of six normal + one quick flash (6.5 VDC).
- Keep on pressing until you reach the maximum voltage of 10 VDC. Next, press the ventilation mode button, which sets the control voltage at 2.5 VDC. After this, the voltage will increase by 0.5 VDC at a time.
- Save the selected control voltage by pressing the selection button until the signal lights flash. Saving the fan speed of the At home mode also adjusts and saves the efficiency of the Away and Boost modes.

- The efficiency of the Away and Boost modes can also be adjusted separately. In this case, adjusting only affects the mode that is selected. The mode that is to be adjusted needs to be selected when moving to the setting mode.
- Alternatively, the control voltage can be controlled using a general meter. For that purpose, there are probes at the bottom of the filter enclosure (see figure).

MEASURING AND ADJUSTING PERFORMANCE VALUES
Standard ventilation
The volume flow rate of the air inside the cooker hood is measured with the damper closed and, where required, adjusted based on the static pressure loss and the performance scheme of the cooker hood.
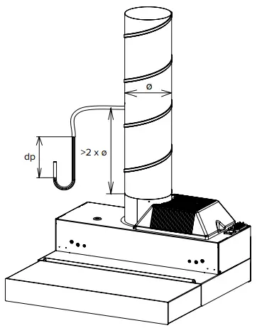
- Measure the static pressure loss of the cooker hood by pushing the probe through the hole in the damper (see the figure).
- Determine the volume flow rate from the performance scheme based on the measured pressure and the number of open holes in the damper.
Adjustment:
- Cover the required number of holes in the damper with the magnetic strip that is delivered with the cooker hood.

Boost ventilation
The volume flow rate of the air inside the cooker hood is measured with the damper open based on the static pressure loss and the performance scheme of the cooker hood.
- Measure the static pressure loss of the cooker hood. The measuring point must be located 2 times the duct diameter above the outlet collar of the cooker hood (see figure).
- Determine the volume airflow based on the measured pressure and the performance scheme (with the damper open).


STANDARD VENTILATION
| K VALUES | ||
| Holes of the damper open | K value | |
| 2 | 2 | 0.5 |
| 3 | 0.6 | |
| 4 | 4 | 0.8 |
| 5 | 1 | |
| 6 | 6 | 1.1 |
| 7 | 1.3 | |
| 8 | 8 | 1.4 |
| Damper opens | 4.9 | |
www.vallox.com
Vallox Oy | Myllykyläntie 9-11 | 32200 LOIMAA | FINLAND
D9517/04.10.2022
Document – D9517
Valid from – 10.11.2020
Updated – 04.10.2022

















