suprema Astra 38 Kastle Fireplace

- Model Number: 38SFC
- This product is proudly developed and manufactured in North America by SUPREME FIREPLACES INC. 3594 Jarry East, Montreal, QC H1Z 2G4
- T: 877-593-4722,
- F: 514-593-4424
- www.supremem.com
- Revised: June 2022
Options
- Hot Air Kit – Page 27
- Fresh Air Kit – Page 29
Operation Instructions
Fuel
The Astra 38 is designed to burn wood. Only use seasoned wood, free of knots, resin, and other impurities that can cause excessive creosote buildup.
First Fires
Before starting the first fire, make sure the chimney is clean and free of obstructions. Open the damper fully and use a small amount of kindling to start the fire. Gradually add larger pieces of wood as the fire grows.
Operating the Combustion Air Control
The combustion air control regulates the amount of air entering the stove. For high heat output, open the control fully. For lower heat output, close the control partially. For low heat output or overnight burning, close the control fully.
Starting a High-Efficiency Fire
- Open the air control fully and wait for the fire to establish.
- Close the air control partially to maintain a steady flame.
- When the fire has burned down to a bed of coals, add more wood and open the air control fully until the new wood is burning brightly.
- Close the air control partially to maintain a steady flame.
Adding a New Load of Wood
When adding a new load of wood, open the air control fully until the new wood is burning brightly. Then close the air control partially to maintain a steady flame.
Blower Kit Operation
The blower kit helps circulate warm air throughout the room. It can be turned on and off using the switch located on the blower housing. Make sure the blower is clean and free of obstructions before use.
Troubleshooting
Backdraft / Smoking
If smoke is entering the room instead of going up the chimney, check for obstructions in the chimney or flue. Make sure the damper is fully open and adjust the combustion air control as needed.
Over Firing
If the stove is producing too much heat, close the combustion air control partially or fully to reduce the airflow. If this does not work, remove some of the burning wood until the desired heat output is achieved.
Maintenance
Regular maintenance is important to ensure the safe and efficient operation of the Astra 38. Clean the stove and chimney regularly, and inspect all components for wear or damage. Refer to the owner’s manual for detailed maintenance instructions.
SAFETY
SUPREME FIREPLACES INC. congratulates you on purchasing an Astra 38 wood-burning fireplace. This manual describes the installation and operation of the Astra 38 non-catalytic wood heater. This heater meets the 2020 U.S. Environmental Protection Agency’s crib wood emission limits for wood heaters sold after May 15, 2015. Under specific test conditions, this heater has been shown to deliver heat at rates ranging from 12,430 to 29,274 Btu/hr. In addition, this fireplace complies with the ULC-S610 and UL-127 standards.
SAFETY NOTICE: Carefully read this manual before installation and operation of this fireplace. A house fire may result if not properly installed. To reduce the risk of a fire, follow the installation instructions. Failure to follow instructions presented in this manual can lead to property damage, bodily injury, or even death. Alterations or modifications made to the unit or the installation are strictly forbidden as they may predispose the user to hazardous risks. Contact your local building or fire officials for restrictions and installation inspection requirements in your area and the need to obtain a permit.
WARNING: This unit is hot during operation; keep children, pets, flammable liquids, or combustible materials at a safe distance. Ensure that all clearances to combustible materials are respected. Contact with the unit during operation may cause severe harm. Install a safety screen to keep children and pets away.
CAUTION:
- Do not connect this unit to a chimney flue serving another appliance.
- Do not connect to any air distribution duct or system.
- Never use chemicals to ignite the fire.
- Never burn waste or flammable fluids (such as gasoline, naphtha, or engine oil).
- Only burn dry natural cordwood.
- Never leave the unit unattended with the door open or unlatched.
- Only refuel this unit when the wood is reduced to embers.
- Always keep the door closed during operation.
- Do not operate this unit with a fireplace grate.
- Do not install an unvented gas log set into the firebox.
- Do not install this unit in a mobile home.
- Do not clean or service the unit while it is hot.
- Allow proper airflow by keeping the louvers/openings clear of any obstructions.
- Do not use this unit while the home is under construction or being obstructed.
Note: Failure to respect the above cautions may cause damages to the unit, damages to personal property, and bodily harm and will void the warranty. “This wood heater needs periodic inspection and repair for proper operation. It is against federal regulations to operate this wood heater in a manner inconsistent with operating instructions in this manual.”

This product can expose you to chemicals including carbon monoxide, which is known to the State of California to cause cancer, birth defects or other reproductive harm. For more information go to www.P65warnings.ca.gov/.
GENERAL INFORMATION
Overall Dimensions 
- Figure 2 1: Astra 38 Traditional Dimensions
- Figure 2 2 : Astra 38 C lean Face Dimensions
Specifications
| Appliance Type: | Adjustable Burn Rate Wood Heater – Non-Catalytic |
| Fuel Type: | Dry Cordwood |
| Maximum Log Length: | 24 in (6.09 cm) |
| Burn Time1: | 6 to 12 hrs |
| Firebox Volume: | 3.8 ft3 (0.108 m3) |
| Heating Area: | 1,000 to 2,500 ft2 (93 to 232 m2) |
| Average Particulate Emissions Rate2: | 1.85 g/hr |
| Average CO Emissions Rate3: | 2.09 g/min |
| EPA Protocol: | Method 28R, ASTM2780-10, and ASTM2515-11 |
| Efficiency (Crib Wood): | HHV4: 67.83% | LHV5: 72.9% |
| Heat Output (Crib Wood): | 11,704 to 26,354 BTU/hr (3,431 to 7,724 W) |
| Optimum Efficiency: | 75% |
| Optimum Heat Output: | 125,000 BTU (36.6 kWh) |
| Efficiency Protocol: | CSA B415.1-10 |
WARRANTY REGISTRATION
Please register your SUPREME product online at http://www.supremem.com/warranty.php to ensure full warranty coverage. Proof of purchase is required for all warranty claims.
- Depending on the combustion air control setting (see Section 5.3 for further details).
- Officially tested and certified by an independent laboratory.
- Note that rate is smaller for low to medium/low burn rates.
- Higher Heating Value.
- Lower Heating Value.
Combustion Air Control
The Combustion Air Control is a patented mechanism (Patent No: US 7,325,541 B2) that regulates the airflow into the firebox based on the temperature of the unit. It is located on the top of the firebox, at the front center of the unit. The combustion air control of the Astra 38 has two components: the Activator and the Burn Rate Selector (see Figure 2-3). The left combustion control lever is the Activator. When starting a fire or adding a new load of wood, the Activator must be pushed in to allow a primary source of air to enter the firebox. The Activator will retract automatically with heat. The right combustion control lever is the Burn Rate Selector. The Burn Rate Selector can slide sideways to achieve different burn rates. When the Burn Rate Selector is positioned to the left, a maximum burn rate is achieved and when it is positioned to the right, a minimum burn rate is set.
WARNING: Never manipulate the Combustion Air Control with bare hands as it gets hot when the Astra 38 is in operation. Use the Cold Hand Key (see Section 2.4) to adjust the Combustion Air Control.
Cold Hand Key
The Cold Hand Key is an accessory that comes standard with the Astra 38 fireplace (Figure 2-4). The Cold Hand Key is a tool used to manipulate the Combustion Air Control Levers when they are hot.
Chimney Sweeping Cap
The chimney sweeping cap found at the baffle of the Astra 38 allows easy access for chimney sweeping without having to remove any components of the firebox (Figure 2-5).
WARNING: The chimney sweeping cap should be blocking access to the chimney at all times during combustion. A chimney sweeping cap that is not blocking the baffle hole during combustion is a safety hazard, will overheat the fireplace and void the warranty.
Door
The Astra 38 wood-burning fireplace comes with a Pyroceramic glass panel door. Pyroceramic is the highest grade available for fireplaces and stoves and can withstand temperatures up to 1300oF. To remove the door, open the door, lift it, and pull it towards the bottom until the rod exits from the hinge holes.
Certification Label
The certification label contains important information regarding the installation and operation of the Astra 38 fireplace. In addition, the serial number of the unit is permanently embossed onto the top right corner. See Figure 2-6 for the location of the certification label.
Figure 2-6: Location of Certification Label with Product Serial Number
Removable Ash Lip
The Ash Lip is a removable accessory that comes standard with the Astra 38 fireplace (Figure 2-7). It is installed on the door holder (under the two small angled tags below the door) and prevents ashes from falling onto the front of the hearth. The Ash Lip can be installed with the door open or closed. It is safe to operate the unit without the Ash Lip.
NOTE: The door of the Astra 38 must remain closed at all times during operation.
SUPREME Radiation Shield Offset
The SUPREME Radiation Shield Offset is a standard component for the Astra 38 fireplace (Figure 2-8). Prior to installing the chimney manufacturer’s radiation shield, the SUPREME Radiation Shield Offset is fastened below the chimney opening within the chase, with the flanges along the component providing a ½” offset.
Baffle Secondary Burn Technology
An innovative baffle design comprises carefully engineered perforations that allow the introduction of secondary air to increase the efficiency and heat output while offering an uncompromising view of the fire (Figure 2-9).
CAUTION: It is not recommended to remove the baffle. If the baffle needs to be removed, please contact SUPREME FIREPLACES INC. beforehand.
Figure 2-7: Removable Ash Lip
Cast Iron Interior
The Astra’s stainless steel firebox is lined with cast iron panels for an extra layer of durability and strength. Designed to provide long-lasting heat and thermal protection, these industry-first, decoratively stamped panels also provide the added benefit of the timeless beauty of cast iron. Forged in fire, tempered with time, the Astra offers a lifetime of warmth.
Blower Kit
Two AC tangential blowers (electrical rating: 115V, 60Hz, and 56W) with a variable speed control are installed into the Astra 38 wood-burning fireplace to maximize efficiency. Refer to Section 3.9 for installation instructions.
WARNING: Make certain that the fireplace is not in operation and the blowers are unplugged (breaker off) before accessing the electrical wiring of the blower kit.
CAUTION: Only blowers provided by SUPREME FIREPLACES INC. can be installed into the fireplace. Substituting the blower kit may result in overheating, will void the warranty, and can be hazardous.
Optional Hot Air Kit
The Optional Hot Air Kit (kit number SU250) allows heat to be drawn from the unit by a thermostatically controlled blower (electrical rating: 115 V and 60 Hz) and dispersed to different areas of the house. This option is recommended when the fireplace is installed in an area below the maximum heating space. A total of three kits can be installed onto one unit with a maximum distance of 25 feet each. Note that a 5-inch insulated duct (part number UCAC5) is required for the installation (item ordered separately). Refer to Section 4.1 for installation instructions.
WARNING: Make certain that the fireplace in not in operation and that the hot air blower is not powered (breaker off) before accessing the electrical wiring of the hot air kit.
CAUTION: Only a hot air kit provided by SUPREME FIREPLACES INC. can be installed onto the fireplace. Substituting the hot air kit may result in overheating, will void the warranty, and can be hazardous.
Optional Fresh Air Kit
The Optional Fresh Air Kit (kit number UPEA4) allows for exterior air (outdoors) to be drawn into the fireplace during the operation of the unit. Note that a 4-inch insulated duct is required for the installation (item ordered separately). Refer to Section 4.2 for installation instructions. Contact your local building official regarding mandatory fresh air kit installations within your area.
CAUTION: Only a fresh air kit provided by SUPREME FIREPLACES INC. can be installed onto the fireplace. Substituting the fresh air kit may result in overheating and will void the warranty.
INSTALLATION INSTRUCTIONS
Before installing the unit, consult an authority having jurisdiction (such as your municipal building department, your fire department, or your fire prevention department…) for any local codes and whether a permit is required. In the absence of local codes, refer to the CSA B365 Installation Code for Solid Burning Appliances and Equipment (Canada) or the ANSI NFPA 211 Standard for Chimneys, Fireplaces, Vents and Solid Fuel-Burning Appliances (USA). CAUTION: Modifications/alterations to the unit/installation without written authorization from SUPREME FIREPLACES INC. are strictly forbidden and will void the warranty. Refer to Section 1 for further safety information. Carefully read the instructions below before installing your Astra 38.
Location
Determine the location of Astra 38 by taking into consideration the following criteria:
- The size of the room with respect to the heat output of the fireplace.
- The proximity of windows, doors, and traffic flow.
- The necessary amount of space in front of the unit for the hearth extension and mantel (Refer to Sections 3.6 and 3.8).
- The clearances to combustible materials.
- The passage of the chimney.
If possible, select a location for the fireplace that will minimize the number of offsets in the chimney course. Offsets will reduce the draft, complicate the chimney sweeper’s work, and increase installation costs. Do not install an offset directly onto the unit/anchor plate. Technical drawings outlining the chimney route should be prepared prior to the installation. NOTE: The cutting of joists and rafters for floor, ceiling, and roof chimney penetrations will affect the load-bearing capacities of the dwelling structure. To determine whether additional support is required, consult your local building codes. Improper cutting of chimney openings in the attic and roof will affect the bearing and thermal insulating capacity, as well as the weather tightness of the dwelling. Avoid incorrect workmanship by consulting a professional engineer or a certified installer.
Through examination of the floor construction, ensure that the fireplace and chimney system is resting on a surface capable of withstanding its weight. Consult your building codes to see whether additional structural supports are required (applicable for rare and isolated cases).
Avoid having the chimney outlet near any obstructions (such as trees and roof offsets) as the draft of the chimney may be affected by wind turbulence. Ideally, position the outlet of the chimney at the highest area of the roof.
NOTE: It is strongly recommended to install a carbon monoxide (CO) and a smoke detector near the location of the unit.
Chimney Installation
The Astra 38 is approved with a 6” chimney that is listed under the UL 103 / ULC S629 standards (refer to Table 3-1). WARNING: Mixing chimney components from different brands is a safety hazard and will void the warranty on the unit. When connecting the unit to an existing chimney, thoroughly inspect the condition of the chimney and that the installation conforms to the requirements of the chimney manufacturer and the building codes. Note that to avoid any unnecessary risk, it is often recommended to replace the chimney system. Always respect the clearances to combustibles from the chimney manufacturers; a minimum clearance of 2 inches is usually required for prefabricated chimneys.
General Rules and Guidelines
- Carefully read the instructions from the chimney manufacturer prior to installation (manuals can be obtained from the chimney manufacturer’s website or from the vendor). Unless specified, follow the chimney manufacturer’s instructions for proper installation.
- For optimal performance of the unit, it is recommended to install the chimney system in an interior setting. To prevent drafting issues and creosote buildups, avoid exterior installations of the chimney system in regions that experience extreme cold conditions.
- The minimum and the maximum height of the chimney from the base of the unit are 15 and 35 feet respectively.
- A minimum length of 12 inches of straight chimney is required from the top of the unit before having an offset.
- Only chimneys approved under the UL 103 / ULC S629 standards can be installed onto the unit (refer to Table 3-1 in Section 3.2.2).
- A 6 inch anchor plate is required to connect the fireplace to the chimney system. The anchor plate can be secured onto the unit with 4 self-tapping screws.
- The chimney installed onto the unit cannot be connected to another appliance.
- Enclose any portion of the chimney that extends to accessible spaces.
- The clearance of the chimney to any combustible material cannot be less than 2 inches; the 2 inch clearance cannot be filled with insulation or any non-combustible material.
- At least one support is to be incorporated in any chimney installation.
- A firestop is required in the joists/frames where the chimney goes through (ceilings, floors, walls, and attic).
- A vented flashing is required, unless otherwise specified by the chimney manufacturer, as well as a roof radiation shield in the installation of the Astra 38.
- To prevent drafting issues, avoid deviations wherever possible.
- The chimney shall extend at least 3 feet above its point of contact with the roof and at least 2 feet higher than any wall, roof, or adjacent building within a 10 foot radius.
- A secure brace is to be installed if the chimney extends a minimum of 5 feet above the contact point with the roof.
- A rain cap must be installed on top of the chimney to avoid internal damage and/or corrosion.
- Consult the chimney manufacturer for clearances to combustibles when installing a combustible chimney enclosure above the roof.

Listed UL 103 / ULC S629 Approved Chimney Models (Reference Table)
Note: that only chimney models listed in Table 3-1 can be installed for the Astra 38.
| Table 3-1: List of Approved Chimney Models | |
| Manufacturer | Models |
| American Metal | · HS, AC Triple Wall, 6” inner diameter · HSS, AC Triple Wall, 6” inner diameter |
| FMI (US only) | · AC, AC Triple Wall, 6” inner diameter |
| ICC | · Excel 2100, 1” Solid Pack, 6” inner diameter |
| Metal Fab | · Temp Guard, 1” Solid Pack, 6” inner diameter |
| Olympia Chimney | · Ventis, 1” Solid Pack, 6” inner diameter |
| Security Chimney | · ASHT+, 1” Solid Pack, 6” inner diameter · S-2100+, 2” Solid Pack, 6” inner diameter |
|
Selkirk | · Super Pro (SPR), 1” Solid Pack, 6” inner diameter · Super Pro 2100 (ALT), 2” Solid Pack, 6” inner diameter · Hart & Cooley (TLC), 1” Solid Pack, 6” inner diameter · Sure-Temp (ST), 1” Solid Pack, 6” inner diameter · Super Vent (JSC), 1” Solid Pack, 6” inner diameter · Super Vent 2100 (JM), 2” Solid Pack, 6” inner diameter · Ultra-Temp (UT), 1” Solid Pack, 6” inner diameter · UltimateOne, 1” Solid Pack, 6” inner diameter · CF Sentinel (CF), 2” Solid Pack, 6” inner diameter |
| DuraVent (US Only) | · DuraTech (DT), 1” Solid Pack, 6” inner diameter · DuraPlus (DP), AC Triple Wall, 6” inner diameter |
| DuraVent | · DuraTech Canada (DTC), 1” Solid Pack, 6” inner diameter · DuraTech Premium (DTP), 2” Solid Pack, 6” inner diameter · DuraPlus HTC, 2” Solid Pack, 6” inner diameter |
Chimney Installation Instructions
- Cut and frame square openings in the floors, ceilings, and roof where the chimney will pass through while taking into consideration the minimum clearance to combustibles.
- For an installation with the chimney running through the ceiling, install the SUPREME Radiation Shield Offset below the chimney opening prior to installing the radiation shield (refer to Figures 2-8 and 3-7).
- In the ceiling/floor openings, install a chimney manufacturer’s firestop from below. Install the chimney manufacturer’s attic radiation shield from above in the chimney opening to the attic. Install the chimney manufacturer’s roof radiation shield in the opening of the roof – adjust the shield so that it is extruding approximately 1” above the roof surface. Ensure to install the appropriate firestop for ceilings and walls.
- Install the chimney manufacturer’s anchor plate onto the unit.
- Install the chimney lengths according to the manufacturer’s instructions and ensure proper fastening/locking of the joints.
- Install the roof support once the desired height has been reached.
- Position the vented roof flashing. Note that for sloping roofs, position the upper portion of the vented flashing under the shingles and position the lower portion of the vented flashing above the shingles. Seal the joint between the roof and the vented flashing with roofing cement or silicone. Secure the vented flashing to the roof with roofing nails.
- Install the storm collar over the vented flashing by tightening the supplied bolt or through the flange mechanism (depending on the chimney brand). Seal the joint between the storm collar and the chimney using silicone caulking. WARNING: Do not seal, caulk, or obstruct the ventilation openings.
- Install the chimney rain cap.
Offset Installation
An offset installation (Figure 3-7) consists of the use of elbows to deviate from unavoidable obstacles or to extend the chimney outside. The following list is a few general rules to take note of when installing offsets:
- A maximum of 2 offsets (2 elbows per offset) is permitted per installation.
- A minimum length of 12 inches of straight chimney is required from the top of the unit before having an offset.
- The maximum deviation is 45o in Canada and 30o in the US.
- Secure the elbows and the chimney components according the instructions from the chimney manufacturer.
- A support strap, a wall support, or a roof support must be installed above each offset to allow adequate support to the vertical chimney lengths.
- Never install an elbow in an opening of a floor, wall, ceiling, or roof. In addition, only vertical chimney sections can be installed within ceiling/floor openings.
- A minimum length of 12 inches of straight chimney is required from the top of the unit before having an offset.
- Install a support for the first 15 feet of chimney.
The following are instructions for offset installations:
- Rotate the elbow in the required direction and secure it to the adjacent chimney section according to the chimney manufacturer’s instructions.
- Follow the chimney manufacturer’s instructions to install the chimney length(s) necessary for the offset.
- Once the desired offset length has been achieved, install the second elbow to redirect the venting to the vertical position.
- Cut an opening in the floor/ceiling to allow the chimney to pass through.
- Install the appropriate firestop.

CAUTION: For offset installations, always install a vented flashing and a roof firestop unless otherwise specified by the chimney manufacturer. Never install an elbow directly onto the unit.
Angled Wall Radiation Shield
For chimney installations requiring to pass through a combustible wall at a 30o (Canada) or 45o (Canada and US) angle, an angled firestop or an angled wall radiation shield from the chimney manufacturer must be installed within the wall opening. Install the angled firestop and angled wall radiation shield according to the manufacturer’s instructions. It is recommended to use an insulated angled wall radiation shield in areas that experience cold climates.
Connecting to a Masonry Chimney
The Astra 38 fireplace can be connected to a masonry chimney that complies with current national and municipal building codes. A 6-inch chimney liner that complies with ULC S635 M2000 (Canada) or UL 1777 (US) standards must be installed within the existing masonry chimney. Note that the 6CON connector (manufactured by SUPREME FIREPLACES INC.) must be installed to connect the prefabricated chimney to the liner (6CON sold separately) unless otherwise specified by the manufacturer of the prefabricated chimney being used. Refer to Figure 3-8.
Note: that prior to installation, an inspection from an authority having jurisdiction is required to determine whether the masonry chimney:
- Is constructed in accordance with national and municipal building codes.
- Is in good condition. Note that repairs must be performed on any cracked or missing bricks.
- Is thoroughly cleaned of any soot or creosote.
- Is not connected to another appliance such as a furnace, hot water heater, or another fireplace.
- Has a flue of adequate size for proper installation of the venting.
- Respects minimum clearances to combustibles.
It is recommended to position the fireplace as close as possible to the masonry chimney to ensure proper venting. The prefabricated chimney must penetrate at least 3 inches within the masonry chimney before connecting the liner. Elbows can be used within the masonry chimney, with a maximum deviation of 30o in the United States and 45o in Canada.
Note: A minimum length of 12 inches of the straight chimney is required from the top of the unit before having an offset.
The installation of the prefabricated chimney and the liner must comply with the manufacturer’s instructions. The following are instructions in installing the venting of the Astra 38 running through a masonry chimney:
- Install the anchor plate onto the unit.
- Position the fireplace to the recommended location.
- Install the initial prefabricated chimney lengths and elbows.
- Mark the area where the prefabricated chimney will penetrate the masonry chimney.
- Remove the fireplace to allow for sufficient space to work.
- Make a hole to the required size to allow for the prefabricated chimney to be inserted freely in the masonry chimney. Note that the appropriate firestops need to be installed if running the prefabricated chimney through a combustible wall.
- Install the remaining prefabricated chimney components center with the masonry chimney.
- Align the flange holder of the 6CON connector with the studs facing upwards to the center of the prefabricated chimney section (elbow or tee) and secure it with three self-tapping screws.
- Reposition the fireplace to its initial position.
- Overlap by 1 inch the lower end of the liner in the expanded portion of the 6CON connector and secure the joint with 3 #8 stainless steel self-tapping screws.
- From the roof, slide the liner down the masonry chimney until it reaches the upper end of the prefabricated chimney.
- Install the upper portion of the 6CON liner connector to the flange holder by aligning the threaded studs to the holes and completing the connection by tightening the wing nuts.
- Seal any openings around the prefabricated chimney and the 6CON connector with refractory cement resistant to high temperatures.

Framing
The Astra 38 can be placed directly onto or against normal, combustible construction materials such as lumber, plywood, millboard, particleboard, drywall and decorative wood paneling. The fireplace should NOT be placed directly against or be in contact with an insulation material. A portion of the framing on the face of the chase must be constructed with nominal 2″ x 3″ or 2″ x 4″ metal studs and the remainder can be constructed with nominal 2″ x 3″ or 2″ x 4″ lumber. Refer to Figure 3-10 for an example of a framing design and Figure 3-11 for the framing for installations of the single linear front louver gravity kit. The framing must be nailed or screwed onto the floor and to the ceiling.
The recommended framing dimensions of the single linear front louver is 40” x 7.5”. A minimum distance from the ceiling to the top of the louver is 5.5”. The base of the louver must be at least 64” from the base of the unit.
CAUTION: Respect the framing design outlined in Figure 3-11 as well as the chimney manufacturer’s clearances to combustibles.
WARNING: Do not nail or screw framing components onto the fireplace.
Surround Installation
The Astra 38 can be installed with either the traditional surround or the clean face surround.
Traditional Surround
The traditional surround comprises louvers below (intake) and above (outtake) the door. All components and fasteners are included in the surround kit. Refer to Figure 3-14 and Table 3-2 for the instructions below.
- Remove the door of the unit and place it on a soft surface, such as a carpet or cardboard, to avoid any scratches or damages.
- Align the lower support bracket (Item 6) to the intake opening and fasten it in place (Figure 3-13).
- Bend the ends of the upper support bracket (Item 7), align it to the outtake opening and fasten it in place (Figure 3-13).
- Place the surround (Item 1 in Figure 3-14) within the door holder and secure it in place with four black screws (one on each corner). Make sure that the handles of the Combustion Air Control pass through the slots of the surround.
- Reinstall the door onto the unit.
- Secure the Intake Swivel Covers on the bottom sides of the unit to the closed position (Figure 3-12). WARNING: For traditional surround installations only.


| Table 3-2: 3238ATFA-11 Components | ||
| TRADITIONAL | ||
| ITEM | DESCRIPTION | QTY |
| 1 | Traditional Surround | 1 |
| 6 | Lower Support Bracket | 1 |
| 7 | Upper Support Bracket | 1 |
Clean face Surround
The Clean Face surround comprises no louvers; however, an intake into the chase and an outtake through gravity ducts is required for this configuration. The instructions below describe the installation of the Clean Face surround. Refer to Figure 3-17 and Table 3-3 for the instructions below. Refer to Section 3.5 for Gravity Kit installation instructions.
- Remove the door of the unit and place it on a soft surface, such as a carpet or cardboard, to avoid any scratches or damages.
- Align the Clean Face lower cover (Item 8) and fasten it in place (Figure 3-16).
- Bend the ends of the Clean Face upper cover (Item 7), align it and fasten it in place (Figure 3-16).
- Place the surround (Item 4 in Figure 3-16) within the door holder and secure it in place with 4 black screws (one on each corner). Make sure that the handles of the Combustion Air Control pass through the slots of the surround.
- Reinstall the door onto the unit.
- Secure the Intake Swivel Covers on the bottom sides of the unit to the open position (Figure 3-15).
- Remove the two 8” knockouts at the top of the unit using a flat head screwdriver (Figure 3-18).
- Through the openings of the knockouts, cut the exposed insulation. Make sure to remove any pieces of insulation that has fallen into the unit.
- Bend the tabs inside the 8 inch knockouts (Figure 3-19) upwards.
- Install the 8 inch duct adapters (Item 9 in Figure 3-16) through the newly cut knockouts and screw them to the bent tabs (Figure 3-20).


| Table 3-3: 3238ATFA-12 Components | ||
| CLEAN FACE | ||
| ITEM | DESCRIPTION | QTY |
| 4 | Clean Face Surround | 1 |
| 7 | Clean Face Upper Cover | 1 |
| 8 | Clean Face Lower Cover | 1 |
| 9 | Duct Adapter | 2 |

Gravity Kit Installation
The Clean Face surround comprises no louvers; however, an intake into the chase and an outtake through gravity ducts is required for this configuration. The instructions below describe the installation of the intake openings, and the gravity ducts/outtakes. Note that in order to connect the gravity ducts to the sides of the chase, the sides of the chase need to be constructed and the front of the chase needs to remain open; to connect the gravity ducts to the front of the chase, the sides need to remain open and the front of the chase needs to be constructed (Figure 3-22). Please note that the SUPREME KG540 kit and the UCAC8 semi-rigid insulated ducts are required for the Gravity Kit installation (Figure 3-21).
Dual Louver Gravity Ducts
- Determine the two locations of the air intakes on the chase and cut a rectangular opening 10.5” (W) X 9.5” (H). Note that a distance of 5” is required from the floor.
- Determine the two locations of the air outtakes on the chase and cut a rectangular opening 10.5” (W) X 9.5” (H). Note that a minimum distance of 64” is required from the floor and a minimum of 6” is required from the ceiling (Figure 3-37). Please note that the air outtake grilles can be installed in the same room or in different rooms from each other. If the grilles are installed at different heights, more heat will be distributed to the highest one.
- From the exterior of the chase, place the duct/louver adapter into the air outtake hole and secure it onto the wall with screws. Repeat for the other outtake.
- Within the chase, place the grooved end of the adjustable 45o elbow into the flange of the duct/louver adapter and secure it using aluminum tape. Repeat for the other outtake.
- Measure the distance between the duct adapter on top of the unit and the flange of the duct/louver adapter and cut the 8” semi-rigid insulated duct (SUPREME part number UCAC8) to the necessary length. Repeat for the other outtake.
- Complete the connections by sliding the ducts over the duct adapters and the flanges of the duct/louver adapters and tighten both ends with the worm gear clamps.
- From the exterior of the chase, fasten the grilles over the intake and outtake openings with the beige screws.

WARNINGS:
- The gravity ducts must extend upwards from the top of the unit and cannot exceed 10 feet.
- The ducts should never extend downwards; only upwards.
- The air outtakes must be installed at a minimum of 64 inches from the floor.
- The gravity ducts must not be connected to a central heating system.
- A clearance must be maintained between the gravity ducts and the chimney.
- The intake swivel covers at the bottom sides must remain open for all Clean Face installations. Refer to Figure 3-15.
Refer to Figure 3-37 for clearances to combustibles. 
Single Linear Front Louver
The clean face surround comprises no louvers; however, an intake into the chase and outtake through gravity ducts is required for this surround configuration. The instructions below describe the installation of the intake openings and the single linear front gravity ducts/outtakes. Please note that the SUPREME LV32 kit is required for the Gravity Kit installation with a single linear front louver (Figure 3-23).
ATTENTION: The single linear front louver requires framing for installation. The recommended framing dimensions of the single linear front louver are 40” x 7.5”. A minimum distance from the ceiling to the top of the louver is 5.5”. The base of the louver must be at least 64” from the base of the unit.
Refer to Figure 3-11 in Section 3.3 for framing requirements of single linear front louver installations.
WARNINGS:
- A minimum clearance of 1 inch is required from the CAC8 ducts to combustible materials.
- The gravity ducts must extend upwards from the top of the unit and cannot exceed 10 feet.
- The ducts should never extend downwards; only upwards.
- The gravity ducts must not be connected to a central heating system.
The intake swivel covers at the bottom sides must remain open for all Clean Face installations. Refer to Figure 3- 15.
Refer to Figure 3-39 for clearances to combustibles.
INSTALLATION
- Install the linear duct/louver adapter (item SL1110 of Figure 3-23 and Table 3-5) onto the framing of the single linear front louver (Figure 3-24). The brackets of the SL1110 (SL1153 of Figure 3-23) are adjustable to accommodate different wall finishing materials (Figure 3-25).
- Temporarily install one of the 90° elbows (4358C26 of Figure 3-23 and Table 3-5) on the linear duct/louver adapter (Figure 3-26) and measure the distance L indicated in Figure 3-27.

- Uninstall the 90° elbow from the linear duct/louver adapter.
- Add 3 inches to the distance L and cut the two CAC8 ducts (Figure 3-23 and Table 3-5) to that length.
- Insert a worm gear clamp on each end of the ducts (Figure 3-28).
- Install the 90° elbows on one end of the ducts and secure them with the worm gear clamps (Figure 3-29).
- Insert the other ends of the ducts on the 8 inch duct adapters on top of the fireplace (Figure 3-30).

- Connect the elbows to the linear duct/louver adapter and secure them with sheet metal screws (Figure 3-31).
- Tighten the worm gear clamps to secure the assembly on top of the fireplace (Figure 3-32).

- Once the chase has been built, locate the linear duct/louver adapter outlet and cut an opening on the chase finishing material of 30.75” (W) X 4.5” (H) centered with the outlet (Figure 3-33).

- Determine the two locations of the air intakes on the chase and cut the rectangular openings of 15.25” (W) X 4.5” (H) (Figure 3-34).
- Note: A distance of 5 inches is required from the floor.
- From the exterior of the chase, fasten the LV3210 linear front outtake louver and the two LV1610 intake grilles (Refer to Table 3-5).

Hearth Extension
The hearth extension of the Astra 38 must comprise of a non-combustible material, such as steel, cement or mortar, bricks, or ceramic tiles. Note that unidentified materials may be combustible; verify product specifications prior to installation. The hearth extension must extend a minimum of 18” from the front of the door, 8” from side of the outer frame of the door and extend all the way to the unit (see Figure 3-35 for dimensions and Figure 3-36).
CAUTION: Make sure to remove any carpet or fabric under the hearth extension.

Chase Installation
A portion of the front of the chase must be constructed out non-combustible material. Refer to Figure 3-37, 3-38, and 3-39 for dimensions. Note the chase must be properly fastened onto the framing structure.
WARNING: Do not nail or screw the chase onto the fireplace.
For the clean face surround option, two intake openings must be constructed onto the chase, as well as two outtake openings or one if installing the linear single louver front (Section 3.5). Refer to Figures 3-37 and 3-39 for minimum clearances.
Clearances to Combustibles
The clearances below must be respected to ensure safe operation of the unit under normal and extreme conditions. Failure to follow the information below is a safety hazard and may result in property damage.
Table 3-6: Overall Clearances
| Combustible | Clearance | Reference |
| Side Wall | 16” (41 mm) | Outer edge of fuel door |
| Side Trim | 4” (10 mm) | Outer edge of fuel door |
| Ceiling | 84” (214 mm) | Base of unit |
Table 3-7: Combustible Mantel Clearances
| Maximum Mantle Depth | Distance from the Base of the Astra 38 to the Bottom of the Mantle |
| 3” (7.6 mm) | 51.5” (130.8 mm) |
| 5” (12.7 mm) | 53.5” (135.9 mm) |
| 7” (17.8 mm) | 55.5” (141 mm) |
The depth of the mantle is measured from the face of the fireplace door. When the non-combustible wall is recessed, the depth of the mantle can be increased by the amount of the recess (see Figure 3-40). Note that a combustible mantel cannot be installed below the minimum clearance of 51.5” (from the bottom of the mantle to the base of the unit). A non-combustible mantle doesn’t require a minimum distance from the fireplace.
Blower Kit
The Astra 38 comes with two high-performance 130 CFM blower kit, which has electrical rating of 115 V, 60 Hz, and 56 W. A variable speed control (rheostat) and a heat sensor (therm-o-disc) are included with the kit. WARNING: Only blowers provided by SUPREME FIREPLACES INC. can be installed into the fireplace. Substituting the blower kit may result in overheating, will void the warranty, and can be hazardous.
The electrical connection of the blowers is to be performed by a certified electrician. Note that it is recommended that the wiring of the blowers be done before the installation of the surround kit. The blowers and the electric box are located respectively at the back/bottom and at the front/bottom of the unit (Figure 3-41).
WARNING: Make certain that the fireplace is not in operation and the blowers are unplugged (breaker off) before accessing the electrical wiring of the blower kit.
For maintenance or replacement purposes, the blowers and the electrical box are accessible from within the bottom of the firebox (Figure 3-42). 1) Remove the floor plate. 2) Disassemble and remove the stainless steel cover on the bottom of the firebox by unscrewing it. Take caution with the therm-o-disc and wiring assembled onto the stainless steel bracket.
The following are instructions on installing the blower kit into the Astra 38 (refer to Figure 3-43 for the electrical diagram):
- Using two screws, install the therm-o-disc onto the L bracket located under the firebox.
- Connect the black wire of the power supply to the therm-o-disc.
- Connect the therm-o-disc to the black wire of the rheostat (install/mount the rheostat at a convenient location).
- Connect the white wire of the rheostat to the blowers.
- Connect the blowers to the white wire (neutral) of the power supply.
- Ground the connection with the green wire in the electric box.
Once the electrical connections are completed, the blowers will turn on and turn off automatically during the operation of the unit. As the temperature of the fireplace increases and the therm-o-disc reaches 95°F, the blowers will turn on. Note that the average time it takes for the blowers to activate is between 30 to 45 minutes after starting a fire. The blowers will turn off once the fireplace has cooled down and the therm-o-disc is 85°F. The speed of the blowers can be adjusted with the variable speed control (rheostat) mounted on the wall. It is safe to operate the Astra 38 in the event of a power failure (blowers not powered).
Note: The blowers sit on a fixture. If the blowers need to be removed for maintenance, the fixture’s pin needs to be unbent and the blowers can then be removed by lifting them upwards, out of the fixture. See Figure 3-45.


OPTIONS
Hot Air Kit
The hot air system is an optional kit intended to bring hot air from the fireplace to a remote area using a 250 CFM blower. The system is designed to distribute heat with ducting lengths up to 25 feet. Note that only an insulated flexible duct capable of withstanding a maximum temperature of 210oF can be installed with this kit. Note that a minimum distance of ten inches is required between the side of the unit connecting to the hot air kit and the framing to allow significant space (refer to Figure 3-3). It is possible to install up to three air ducts and to direct the ducts upwards or downwards.
CAUTION: Only a hot air kit provided by SUPREME FIREPLACES INC. can be installed onto the fireplace. Substituting the hot air kit may result in overheating, will void the warranty, and can be hazardous.
WARNINGS
- Do not install the blower within the casing of the fireplace.
- The minimum wall opening to run the duct is 6” x 7.5”.
- When the hot air duct passes through the chase of the fireplace, the minimum distances to combustible materials must be respected. The duct must be secured to prevent accidental displacement.
- The minimum distance between the blower and the fireplace is 3 feet.
- The duct must not be in contact with the top of the fireplace.
- Do not use a speed control for the blower, which is hazardous and will void the warranty.
- The top of the hot air grille must be a minimum of 2 inches away from a flat ceiling.
- The hot air grille must be installed in a location that ensures the effective dispersion of the hot air.
- The hot air grille cannot be installed on a floor.
- If the grille is installed near a wall or ceiling, the grille openings must be positioned in such a way to direct hot air away from the wall or ceiling.

Installation:
- Remove the 5’’ knockout on the exterior casing of the fireplace using a flat head screwdriver (Figure 4-1).
- WARNING: Only remove the knockouts that will be connected to a hot air kit system.
- Using the knockout as a template, cut the exposed insulation. Make sure to remove any pieces of insulation that has fallen into the unit.
- Install the fireplace duct connector (FDC – #5) on the opening using four screws.
- In the room where the heat will be distributed, cut an opening of 6” X 7.5”.
- Find a suitable location to install the blower (701710 – #2).
- Install the wall-duct connector (WDC – #7).
- Install the air duct (UCAC5 – #4)* and secure it with a clamp (CLP – #1). The exterior of the insulated duct can be in contact with combustible materials.
- Install the wall grille (HAG – #6).
- Make the electrical connections (Figures 4-3 and 4-4). Note that the power supply to the blower is 115V.


Fresh Air Kit
Sufficient air exchange is necessary for the fireplace to operate properly and to maintain a good combustion. In an airtight household, the fireplace may not function as designed due to a lack of air; it is therefore recommended to install the fresh air kit in such cases. The fresh air system is an optional kit intended to bring combustion air into the fireplace from an exterior source. Note that a minimum distance of seven inches is required between the side of the unit connecting to the fresh air kit and the framing to allow significant space (refer to Figure 3-4). Note that the Astra 38 is designed to use a minimum amount of air during operation. Using an air exchanger or simply opening a nearby window/door during the ignition of the unit will achieve a similar result as the fresh air kit. the fireplace is idle, there is no air escaping from the house through the chimney.
Consult a local authority having jurisdiction (such as the fire department, the municipal building department, or the fire prevention bureau) to determine if it is mandatory to install a fresh air kit in your area.
General Notes : The outside air kit should be installed according to the following guidelines:
- The air duct must be insulated, wrapped with a vapor barrier, and have an inner diameter of 4 inches.
- The length of the air duct should not exceed 25 feet.
- The duct should not be elevated more than 10 feet from the base of the unit.
- Fresh air must come from the outside and not from another room or the attic.
- The outside register must be away from automobile exhaust fumes, gas meters, or other vents.
- Avoid installing the air register where it will likely be covered by snow or exposed to strong winds.
- The air register can be installed above or below the level of the fireplace.
- Use the SUPREME FIREPLACES INC. Fresh Air Adapter (ADP4) provided with the unit.
- Use the SUPREME FIREPLACES INC. Fresh Air Kit (UPEA4).
Installation:
- Cut 4 ½” diameter hole on the exterior wall of an ideal location.
- Install the air register on the exterior wall.
- Insert the fresh air adapter (ADP4) into the fireplace from the exterior casing. Make sure that the adapter is properly inserted into the combustion air box on top of the firebox.
- Secure the fresh air adapter to the side of the fireplace using two screws.
- Install the air duct and secure it with worm gear clamps.

OPERATION INSTRUCTIONS
Fuel
The Astra 38 is designed to burn natural wood only. Higher efficiencies and lower emissions generally result when burning air-dried seasoned hardwoods (moisture content below 20%), as compared to softwoods or to green or freshly cut hardwoods. The following are a few signs indicating that firewood is sufficiently dry for use: (a) cracks on the ends and surface of the logs, (b) lighter in weight, and (c) color (yellow/grey). It is recommended to use a moisture meter with pin sensors for determining accurately the moisture content of firewood (read the manufacturer’s instruction manual before operating). The optimum log length is 18-22 inches, preferably split in halves or quarters and left to dry under a cover or away from external elements for a minimum of one year prior to use. Use good quality dry cordwood only. DO NOT burn garbage, lawn clipping, yard waste, materials containing rubber (including tires), materials containing plastic, waste petroleum products, paints, paint thinners, asphalt products, materials containing asbestos, construction debris, demolition debris, railroad ties, pressure-treated wood, wood that has been processed or modified from its natural state, manure, animal remains, coal, salt water driftwood or other previously salt water saturated materials, unseasoned wood, paper products, cardboard, plywood, particle boards, or other foreign materials in this product. The prohibition against burning these materials does not prohibit the use of fire starters made from paper, cardboard, sawdust, wax, and similar substances for the purpose of starting a fire in an affected wood heater. Burning these materials may result in release of toxic fumes or render the heater ineffective and cause smoke. Do not over-fire the Astra 38 fireplace. Overfiring will damage the fireplace, is hazardous, and will void the warranty.
NOTE: Gas logs cannot be installed in the Astra 38 fireplace.
WARNING: Never use gasoline, gasoline-type lantern fuel, kerosene, charcoal lighter fluid, or similar liquids to start or “freshen up” a fire in this fireplace. Keep all such liquids well away from the fireplace while it is in use.
WARNING: Do not keep the door open while the fireplace is in operation.
First Fires
For the first three fires, burn a maximum of three logs at the medium to low burn rate (refer to Section 5.3) to allow for proper conditioning of the unit. Due to oil residues and the curing of the paint of the fireplace, it is normal to smell an odor for the first fires of the Astra 38. Open a window or a door near the fireplace to ventilate the house during the first fires. Oil residues may cause light smoking.
Operating the Combustion Air Control
The burn rate and the heat output are related to the amount of air entering the firebox. The combustion air control of the Astra 38 has two components: the Activator and the Burn Rate Selector (see Section 2.3). When starting the fire or when adding a new charge of wood, the fireplace needs additional air in order to establish a good fire. When the wood starts to burn properly, the amount of air can be reduced depending on the heating requirements. The left combustion control lever is the Activator. When starting a fire or adding a new load of wood, the Activator must be pushed in to allow maximum air to enter the firebox. The right combustion control lever is the Burn Rate Selector. The Burn Rate Selector can slide sideways to achieve different burn rates. When the Burn Rate Selector is positioned to the left, a maximum burn rate is achieved and when it is positioned to the right, a minimum burn rate is set. Keeping the Burn Rate Selector to the right will burn the wood slower. Keeping the Burn Rate Selector to the left will provide a stronger fire and keep the glass of the fireplace cleaner for longer. Adjust the burn rate according to your heating requirements and the quality of your wood. The combustion air control will automatically and gradually close the primary air source to the selected burn rate setting (right lever) with the presence of heat to maximize the burn time.
NOTE: The Burn Rate Selector can remain at the same setting at all times if the burn rate is satisfactory. However, the Activator must be pushed in when starting a fire or when adding a new load of wood.
WARNING: The combustion air openings should never be obstructed.
WARNING: Never manipulate the Combustion Air Control with bare hands as it gets hot when the Astra 38 is in operation. Use the Cold Hand Key (see Section 2.4) to adjust the Combustion Air Control.
WARNING: This wood heater has a manufacturer-set minimum low burn rate that must not be altered. It is against federal regulations to alter this setting or otherwise operate this wood heater in a manner inconsistent with operating instructions in this manual.
Starting a High-Efficiency Fire
The Astra 38 has patented technologies and innovative features that make starting a fire quick and easy. Before starting a fire, assure that all the safety precautions mentioned in the owner’s manual are being respected. The following instructions describe starting a fire in Astra 38 fireplace using a “top-down” approach, which results in a cleaner, more efficient, and longer burn. We recommend starting a fire with four to five standard-sized logs, which are approximately 16-18” in length and 4-5” in depth, or its equivalent in volume, as well as a good quality firestarter and kindling.
- a) Place two logs in the firebox. The logs should sit directly on the hearth from left to right or east to west (parallel with the door). Do not use a fireplace grate.
- b) Place the firestarter on top of the two first logs.
- c) Place logs 3 and 4 across from logs 1 and 2 with the firestarter in between.
- d) Add some kindling wood above all your logs. See Figure 5-1.
- e) Push the left combustion control lever (the Activator) inwards.
- f) Slide the right combustion control lever (the Burn Rate Selector) to the desired burn rate. Positioning the Burn Rate Selector towards the left is for maximum burn rate and towards the right is for minimum burn rate.
- g) Light the firestarter.
- h) Once the firestarter is well-lit, close the door. Do not leave the door open for more than 2 minutes.

CAUTION: The wood should be placed away from the door to avoid damage to the glass.
WARNINGS: Overfiring the unit may result in overheating and can damage the fireplace and/or result in fire hazards. The maximum firewood load must not exceed four medium-sized logs (approximately 30 pounds). This fireplace has been designed to burn with the door closed. When the fireplace is being used, the door should remain closed at all times. Failing to do so is a safety hazard, will damage the fireplace, and void the warranty.
WARNING: Do not use fire accelerants to rekindle the fire if the first attempt to start the fire failed. Do not open the door. Simply reactivate the Activator by pushing it inwards.
NOTE: Sufficient air exchange is necessary for the fireplace to operate properly. Air is required in order to maintain the combustion of the fireplace. If the house is airtight, the fireplace may not function properly. If the fireplace is deprived of air, it will be necessary to provide a source of fresh air into the dwelling. This may be done by using an air exchanger unit or simply by opening a window or a door near the fireplace partially for a few minutes. Make sure that other equipment such as the kitchen exhaust fans or oil central heating systems does not affect the fireplace functionality. Large return ducts of central heating systems located in the same room as the fireplace may affect the proper functioning of the unit and may cause smoking.
Adding a New Load of Wood
WARNING: Open the door to reload only when the wood has been reduced to embers, otherwise there is a risk of smoke infiltration into the house. When the wood has been reduced to embers and there’s no visible flame, you may add a new load.
- a) Turn the blower of the fireplace off.
- b) Crack the Astra 38 door open and wait a few moments before opening the door completely.
- c) Use your fireplace tools to gather the remaining embers at the center of the firebox.
- d) Activate the Activator by pushing it in.
- e) Once the embers begin to glow red, add the new load of wood to the firebox.
- f) Keep the door of the Astra 38 slightly unlatched until you see a flame in the firebox. Never leave the Astra 38 door unlatched without constant supervision.
- g) Completely latch the Astra 38 door and turn the blower back on.
Assure that a flame is maintained. Avoid wood smoldering on top of embers as this will result in dirty glass, excessive emissions, chimney creosote buildup, and poor heat output. If wood is smoldering, ensure the Activator has been activated and unlatch the door slightly with supervision until a flame has been maintained.
Blower Kit Operation
The blower kit for the Astra 38 consists of two blowers mounted at the back/bottom of the unit and a heat sensory therm-o-disc; the blowers will start and stop automatically in the presence and absence of heat respectively. A variable speed control allows the adjustment of the speed of the blowers. Do not install a substitute kit as this may result in overheating and risk of fire. Refer to Section 3.9 for the installation instructions for the blower kit. When the fireplace gets hot and the therm-o-disc reaches 95°F, the blowers will turn on. The average time it takes for the blowers to activate is 30 to 45 minutes after starting a fire as explained in Section 5.4. The blowers will turn off once the insert has cooled down and the therm-o-disc reaches 85°F. The speed of the blowers can be adjusted with the variable speed control.
CAUTION: To avoid ash and dust contamination, it is recommended to clean the blower at least once a year and to keep the hearth area clean. The blower must always be turned off before opening the door of the fireplace to reload. Failure to do so will void the warranty of the blower.
TROUBLESHOOTING
Backdraft / Smoking
The draft is the force created by a difference in pressure, which moves air from the appliance up through the chimney. It is important to operate the Astra 38 with proper draft to ensure optimal performance of the unit. The draft is dependent on the length of the chimney, local geography, nearby obstructions, and other factors. Proper draft results in an upwards flow through the chimney, which prevents smoke from infiltrating into the house during the operation of the unit. As the temperature of the unit and chimney rises during combustion, the draft consequently increases due to a higher difference in pressure. In contrast, backdraft is airflow from the chimney into the house, which results in smoke infiltration from the appliance and/or the chimney joints during operation. The unit is experiencing backdraft if air is flowing out from the exhaust of the baffle system (within the firebox). Backdraft is most commonly caused by fans around the house (such as in the kitchen and bathrooms) simultaneously in operation, insufficient length of the chimney (less than 15 feet), or a blocked chimney. Refer to the following suggestions to eliminate backdraft:
- Close any fans operating around the house (specifically for the duration of ignition).
- Clean the chimney of any obtrusions (when the unit is cold).
- Open one window or one door near the Astra 38.
Over Firing
The appearance of a red glow on the exterior of the firebox (top and sides) and/or on the flue is a sign of over-firing. Excess air entering the firebox, over-fueling, or an abnormally strong draft causes the unit to reach drastic temperatures from uncontrollable combustion. Overfiring is a safety hazard and may result in permanent damage to the unit. In the occurrence of overfiring:
- a) Make sure the Astra 38 door is properly closed.
- b) Manually close the Combustion Air Control by pulling the Activator (left lever).
- c) If possible, turn on the blowers to the maximum speed. The red glow on the exterior of the firebox and/or the flue should gradually disappear.
WARNING: Do not touch hot surfaces with bare hands. Always wear heat-protecting gloves and use fireplace tools.
Guideline to avoid overfiring:
- Always keep the door closed during operation.
- Inspect regularly the door gasket/glass and replace it accordingly.
- Always operate the unit with the chimney sweeping cap in position, blocking the hole in the baffle.
- Never load more than 30 lbs of wood at a time.
- Ensure that there is no excess draft.
WARNING: Failure to follow the above guideline will void the warranty. Overfiring is a safety hazard, can cause irreversible damage to the Astra 38, and will void the warranty.
MAINTENANCE
Disposal of Ashes
Ashes should be placed in a metal container with a tight-fitting lid. The closed container of ashes should be placed on a non-combustible floor or on the ground, well away from all combustible materials, pending final disposal. If the ashes are disposed of by burial on soil or otherwise locally dispersed, they should be retained in the closed container until all cinders have been thoroughly cooled. CAUTION: Always wear heat-resistant gloves when removing the ashes from the firebox.
- a) Let the firebox cool to ambient temperature before removing the ashes. It is recommended to remove the ashes once the bed has exceeded a height of 4 inches.
- b) Slowly open the door to prevent ashes from coming into the room.
- c) Place an ash bucket (metal container) near the fireplace, onto the non-combustible hearth.
- d) Using a shovel and brush, remove the bulk of the ashes from the firebox into the ash bucket. Note that it is not necessary to keep a thin bed of ashes for the next fire.
- e) Store the ash bucket (with the tight-fitting lid) on a non-combustible surface, away from any combustible materials, pending final disposal.
Chimney Maintenance
Creosote – Formation and Need for Removal: When wood is burned slowly, it produces tar and other organic vapors, which combine with expelled moisture to form creosote. The creosote vapor condenses in the relatively cool chimney flue of a slow-burning fire. As a result, creosote residue accumulates on the flue lining. When ignited, this creosote makes an extremely hot fire. The chimney connector and chimney burning wood or coal should be inspected at least once every two months during the heating season to determine if a creosote buildup has occurred. Never use chemical cleaners for your chimney.
WARNING: In the case of a chimney fire: 1) close the door of the fireplace; 2) set the burn rate of the Combustion Air Control to a minimum (Section 5.3); 3)call the local fire department (if assistance is needed); 4) use a dry chemical fire extinguisher (baking soda or sand) to control the fire.
CAUTION: Never use water to extinguish a fire as it may result in dangerous steam explosions. Do not use the unit until the chimney is inspected and repaired (if needed) by a qualified technician.
NOTE: Do not clean the chimney when the unit is in operation/hot. Follow the instructions below for sweeping the chimney of an Astra 38 fireplace:
- a) Open the door of the unit.
- b) From within the firebox, displace the chimney sweeping cap located in the baffle by lifting and moving it to the side.
- c) Close the door of the unit.
- d) Using an appropriately sized chimney sweeping brush, clean the chimney from any creosote buildup and other residues.
- e) Remove all the fallen/loose creosote/residues from the firebox and baffle system (a shop vacuum cleaner can be used for thorough cleaning).
- f) Place back the chimney sweeping cap.
CAUTION: Operating the unit without the chimney sweeping cap in position will result in over-firing and void the warranty.
Cleaning of Glass
It is recommended to clean the glass door with a soft cloth, damped with a non-abrasive solution, such as soap and water.
CAUTION: Cleaning the glass with an abrasive solution will result in surface scratches, reducing glass transparency and resistance to impacts. The glass of the door may be cleaned with commercial products intended for fireplaces and stoves. After cleaning the glass, remove any remaining solutions with a wet cloth to avoid chemical reactions at elevated temperatures (“cloudiness’’ on the surface of the glass).
CAUTION: Do not apply commercial cleaners or soap onto any painted surfaces as discoloration/peeling may occur.
NOTE: Never clean the glass when the unit is in operation or hot.
Replacing a Cast Iron Panel
Four cast iron panels are assembled along the combustion chamber side walls (left, right, and back) allowing for a longer and a constant heat output. It is recommended to perform a weekly check on the condition of the panels to ensure proper operation of the unit. The cast iron panels need to be replaced when it is gravely chipped and/or cracked. Failure to replace the cast iron panel under the mentioned conditions will alter the performance of the unit. Refer to the following instructions for replacing a cast iron panel:
- a) Order the replacement kit for the Astra 38 cast iron panel.
- b) Remove the door from the firebox and place it face down on a soft surface. NOTE: Rotate the handle to permit proper placing.
- c) Remove the bottom plate (hearth) by lifting it out of the firebox.
- d) Slide the back wall cast iron panel by tilting the bottom and swiveling them out of the top retainer.
- e) Replace the damaged cast iron panel if it was removed in step d) and position the panels back in place by swiveling them behind the top retainer.
- f) In the case of a damaged panel on the firebox side walls, replace the damaged panel and reposition the back wall panels by swiveling them behind the top retainer.
- g) Insert the bottom plate (hearth) and door into their original position.
WARNING: Do not operate the unit with any of the cast iron panels missing.
Replacing the Door Gasket
SUPREME FIREPLACES INC. assembles heat-resistant graphite-coated gaskets on the doors of all products, allowing for a proper seal of the unit at extreme temperatures (up to 1000oF). It is recommended to perform a weekly visual check on the condition of the ¾” gasket to ensure proper operation of the unit. The ¾” gasket of your door needs to be replaced when 1) the fibers of the gasket are coming loose, 2) the gasket is disintegrating and 3) the door is no longer airtight. Failure to replace a gasket under the mentioned conditions can cause irreversible damage to the unit due to over-firing. Refer to the following instructions for replacing the ¾” gasket:
- a) Order the replacement kit for the Astra 38 ¾” door gasket GSK_75_7.
- b) Remove the door from the firebox and place it face down on a soft surface. NOTE: Rotate the handle to permit proper placing.
- c) Cover all painted surfaces of the door to avoid damage.
- d) Using a wedging tool or flathead screwdriver, gently remove the old ¾” gasket (along with the old silicone) from the door framing.
- e) Apply a bead of high-temperature silicone along the groove of the metal brackets.
- f) Place the new ¾” gasket around the door framing and cut any excess gasket with scissors. NOTE: It is
recommended to tape the extremity of the gasket for a cleaner result. Give a significant amount of time to allow the silicone to cure before reinstalling the door onto the firebox. A slight resistance is expected when closing the door with the new ¾” gasket; the door will close normally after the gasket has taken proper shape.
Replacing the Glass Panel
SUPREME FIREPLACES INC. uses a high-quality 5mm thick Pyroceram III / Keralite ceramic glass that can withstand temperatures up to 1300oF. It is recommended to perform a weekly visual check for any damages or cracks on the glass.
WARNING: Avoid striking the glass and slamming the door shut. Never operate the unit with broken or damaged glass.
CAUTION: Wear protective gloves when handling broken glass. Refer to the following instructions for replacing the glass:
- a) Order the replacement kit for the Astra 38 glass.
- b) Remove, clean, and dispose of any broken glass from the door and the surroundings.
- c) Remove the door from the firebox and place it face down on a soft surface. NOTE: Rotate the handle to permit proper placing.
- d) Using a wedging tool or flathead screwdriver, gently remove the ¾” gasket (along with the silicone) from the door framing.
- e) Using a wrench, remove the 8 nuts fastened around the door framing.
- f) Remove the first row of metal brackets (2 small and 2 big) and thin gasket.
- g) Remove the damaged glass and clean thoroughly the door framing from loose glass fragments.
- h) Place the new glass onto the second row of thin gaskets, centered with the door framing.
- i) Place back the first row of metal brackets (2 small and 2 big) and thin gasket.
- j) Using a wrench, fasten the 8 nuts around the door framing (do not over-tighten).
- k) Apply a bead of high-temperature silicone along the groove of the metal brackets.
- l) Place the ¾” gasket back into position.
Give a significant amount of time to allow the silicone to cure before reinstalling the door onto the firebox.
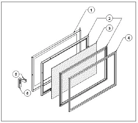
Table 7-1: Parts List of Door Assembly
| Item | Code | Description | Qty |
| 1 | DR2100-* | Door frame assembly | 1 |
| 2 | DR_25.75 | Horizontal metallic bracket | 4 |
| 2 | DR_18.125 | Vertical metallic bracket | 4 |
| 3 | PYRO_24.25X17 | Pyroceram glass | 1 |
| 4 | GSK_31_7 | Thin gasket | 2 |
| 5 | GSK_75_7 | Thick gasket | 1 |
| 6 | SFC0031 | Door latch – Astra | 1 |
| 7 | SFC0032-01 | Wood pull handle – Astra | 1 |

Figure7-1: Door Assembly Exploded View
Door Latch Maintenance
Lightly lubricate the hook of the door latch (SFC0031) with grease on a yearly basis to prevent abrasive wear. Occasionally inspect the bushing of the door latch. If required, adjust the tightness of the latch bolt using a 5/32” hex key.
Paint
Paint touch-ups can be performed on the unit using a high-temperature paint (in aerosol spray can format) by Stove Bright® in Metallic Black (#6309). Contact your local hearth shop for further information on purchasing this paint.
NOTE: Apply the paint in a well-ventilated area. If applying paint to the door, properly cover/mask the glass of the door using painter’s tape and cardboard. Wait for the paint to dry before operating the unit. Refer to the instructions on the label of the aerosol spray can for proper paint application. WARNING: Never apply paint to the unit during operation or when it is hot.
PARTS LIST
| Code | Description |
| SFC0032-01 | Black Wood Door Handle |
| PYRO_24.875”X17” | Pyroceram III / Keralite 5mm Thick Door Glass, 24.875″ X 17″ |
| GSK_31_7 | Graphite Coated Round Glass Gasket, 0.3125″ thick, 7′ length |
| GSK_75_7 | Graphite Coated Square Door Gasket, 0.75″ thick, 7′ length |
| 130CFM_BLW_BRK | 130 CFM AC Tangential Blower, 115VAC, 60Hz, 56W, certified VDE, CSA, UL, CE |
| TOD | Therm-o-disc, 120VAC, 15A, certified UL/CSA |
| WALL_RHEO | In-Wall Variable Speed Control, 2.5 Amps, 115VAC – 50/60Hz, certified UL, ULC |
| PA5000-01 | Combustion Air Control |
| CM0020 | Cold Hand Key |
| CM0301-01 | Removable Ashlip |
| 38SFC1175 | Cast Iron Panel, 16” X 12.625” X 1.25” |
| CM1210 | Chimney Sweeping Cap |
| 38SF1150 | Baffle Assembly |
| LW1211 | Wall Intake/Outtake Grille 12” X 11” – White |
| LV1610 | Wall Linear Louvre 16” X 5” – Metallic Black |
| LV3210 | Wall Linear Louvre 32” X 4.5” – Metallic Black |
| SF2290 | Exterior Casing Sealing Plates for Condo Installations (Traditional Configuration Only) |
| MB_PAINT_AERO | Stove Bright High Temp Paint, 12oz in Metallic Black |
CERTIFICATION LABEL

WARRANTY
SUPREME FIREPLACES INC. warrants that the factory-built fireplaces, fireplace inserts, and stoves will be free from defects in material and workmanship, under normal use and service, for a period of ten (10) years from the date of purchase. This warranty is only intended for the original retail purchaser and is non-transferable, given that the product was purchased from SUPREME FIREPLACES INC. or one of its authorized dealers. This warranty is conditional upon correct installation and intended use of the products and does not cover damages caused by misuse. This warranty shall be void if the fireplace, fireplace insert or wood stove is not installed by an authorized qualified technician in accordance with the installation instructions in the manual provided with this product. The installation must meet local and national building codes.
| DESCRIPTION | COVERAGE | LABOUR |
| Patented combustion air control, chimney sweeping cap, door handle (breakage only), door latch assembly, podium structure of wood stove series, legs of wood stove series, circulating chamber of fireplace insert series, bimetallic strip of combustion air control, removable ash lip, surround structure, cold hand key, wall intake and outtake grilles of gravity kit | 10 years | 2 years |
| Baffle (excluding bypass mechanism), bottom plate, stainless steel components, cast iron panel, firebox soapstone slab, exterior door frame, liner adaptor of Fusion series | 5 years | 2 years |
| Painted and plated parts, door gasket | 2 years | 1 year |
| Electrical components | 2 years | 90 days |
| Glass panel (thermal breakage only) | 90 days | 90 days |
Please register your SUPREME product online at https://supremem.com/warranty.php to ensure full warranty coverage. Prior to contacting your dealer, have the following information available for warranty claim processing:
- Customer information (name, telephone number, and address)
- Proof of purchase
- Model name and serial number (see Section 2.7)
- A detailed description of the defected component
- Pictures (minimum of three)
- Videos of the issues
In the case of a return for repair or replacement, it is the responsibility of the customer to adequately package the component/unit to prevent further damage during transport. Items sent to SUPREME FIREPLACES INC. without an open warranty claim will be returned to the sender.
WARRANTY LIMITATIONS:
Abuse and improper use of the unit may cause irreversible damage and will void the warranty. Transportation, packaging, and other related costs or expenses arising from the replacement or repair of defective parts will not be covered by this warranty, nor will SUPREME FIREPLACES INC. assume responsibility for them. Freight-related damages of products that are shipped directly from the SUPREME INC. warehouse are covered under warranty if they were indicated on the Bill of Lading from the carrier and SUPREME FIREPLACES INC. is notified within 48 hours. This warranty is void for any fireplace, wood stove or fireplace insert that wasn’t purchased from an authorized SUPREME FIREPLACES INC. dealer. The warranty does not cover any physical or esthetic damages that were caused by glass cleaners, soap, or any other cleaning products. Soapstone is a natural material. Normal wear and tear of the soapstone may result in surface fractures or small hairline cracks. Since these do not affect the functionality nor the integrity of the product, the warranty only covers fractures that are over 3 mm thick and spread across one extremity of the slab to the other. Deformations, discoloration, corrosion and scratches are not covered under warranty. All parts are limited to one replacement per warranty term. This warranty does not cover the labor or other related costs for the removal of a product already installed, the installation of a replacement product and the shipping and handling for the return of a product or for the replacement part. This warranty applies to normal residential use only. Damages caused by acts nature or natural disasters, accidents, over firing, misuse, abuse, negligence, improper installation, alterations or substitutions of components of the fireplace, abrasives, chemical cleaners, and negligence are not covered by this warranty. Burning anything other than natural wood will damage your fireplace and void the warranty. This warranty is void for any product that has been moved from its original installation location. SUPREME FIREPLACES INC. will not be responsible for environmental conditions and drafting issues such as inadequate vents or ventilation, excessive venting configurations or negative air pressures which may or may not be caused by geographic elements, exterior elements and/or mechanical systems such as exhaust fans, furnaces, clothes dryers, etc. The noise generated by the expansion and contraction of the metallic components is normal as they heat up and cool down and are not covered under the warranty. Labor covered under the warranty must not exceed the retail price of the part being replaced, are based on a predetermined rate amount found in the dealer program, exclude dealer travel costs and is disbursed to the dealer. The manufacturer at its discretion may decide to repair or replace any part or unit after inspection and investigation of the defect. The manufacturer may, at its discretion, fully discharge all obligations with respect to this warranty by refunding the wholesale price of the defective part(s). The manufacturer shall in no event be responsible for any consequential damages of any nature, which are in excess of the original purchase price of the product. Repairs and/or replacements of parts and labor covered under warranty must be preauthorized by SUPREME FIREPLACES INC. A proof of purchase (copy of the invoice) is required for all warranty claims, as well as the completed warranty claim form and pictures/videos of the issue. This Limited Warranty is effective on all appliances sold after May 31st, 2022, and supersedes any and all warranties currently in existence.
- Model Number: 38SFC
- This product is proudly developed and manufactured in North America by SUPREME FIREPLACES INC. 3594 Jarry East, Montreal, QC H1Z 2G4
- T: 877-593-4722,
- F: 514-593-4424
- www.supremem.com.
- Revised: June 2022
- IMPORTANT: Keep the owner’s manual for future use.



















