
Distressed LED Flush Mount Light
Item Number: A04204
Instructions Manual
LNC 3 Light 13.5 Inch Distressed LED Flush Mount Light
WARNING (To reduce the risk of fire, electric shock, or personal injury):
- We suggest installation by a licensed electrician.
- Please read the instruction carefully and save it as you may need it at a later time.
- Before you start, NEVER attempt any work without shutting off the electricity until the work is done.
» Go to the main fuse, or circuit breaker, box in your home.
Place the main power switch in the “OFF” position.
» Place the wall switch in the “OFF” position. - Mounting surface should be clean, dry, flat, strong enough and 1/4” larger than the canopy on all sides.
Any gaps between the mounting surface and canopy exceeding 3/16” should be corrected as required. - Make sure that the ceiling or wall can stand the weight of the lamp before installation.
- Make sure the voltage you are using is 120V . The maximum wattage is 40W per bulb.
- Keep the lamp away from acidic and alkaline substances in case of damaging the surface of the lamp.
- When replacing bulbs, you should turn off or unplug the lamp and you must wait until it is cool as bulbs get hot quickly.
- The safety instructions appearing in this manual are not meant to cover all possible conditions that may occur. It must be understood that common sense, caution and care must be used with any electrical products.
IMAGE FOR FINISHED PRODUCT:

TOOLS REQUIRED (NOT INCLUDED):
Before starting assembly and installation please prepare the needed tools as below picture
![]() | ![]() | ![]() | ![]() | ![]() |
| Ladder | Philips Head or Flat Blade Screwdriver | Electrical Tape | Pilers | Wire Cutter/Stripper |
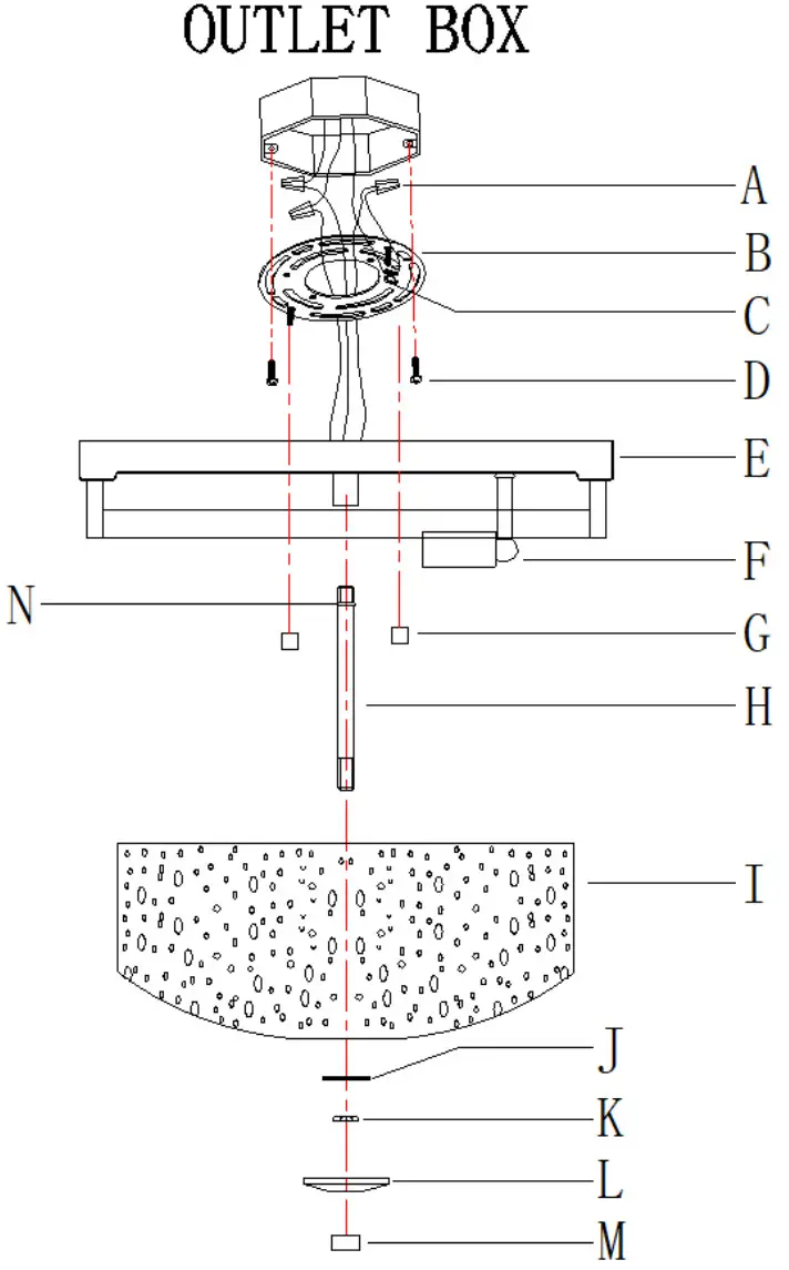
PARTS TYPE & QTY INCLUDING:
(B) Single bar (1)
(C) Green ground screw (1)
(E) Canopy (1)
(F) Socket (3)
(G) Knob nut (2)
(H) Stem (1)
(I) Glass shade (1)
(J) Washer (1)
(K) Hex nut (1)
(L) Lid (1)
(M) Column nut (1)
(N) Nut (1)

ACCESSORIES & QTY ENCLOSED:
(A) Plastic wire connector (3)
(D) Mounting screw (2)
ASSEMBLY & INSTALLATION INSTRUCTIONS:
- Carefully remove the fixture from the carton and check that all parts and accessories are included as shown in the above illustration.
- Screw stem (H) onto canopy (E).

- Unscrew knob nuts (G) from mounting plate (B) and set them aside for later installation.

- Turn off power
Before you start the installation, NEVER attempt any work without shutting off the electricity until the work is done.
» Go to the main fuse, or circuit breaker, box in your home.
Place the main power switch in the “OFF” position.
» Place the wall switch in the “OFF” position. - Carefully pass the supply wires through outlet box.
Secure mounting plate (B) to the outlet box with mounting screws (D).
NOTE: the side of mounting plate (B) marked “GND” must face out. - Make wire connections
Connect wires as below wires connection shown. PLEASE NOTE THAT GROUND WIRE IS BARE COPPER WIRE, NEVER CONNECT OTHER WIRES TO GROUND WIRES.
Connect ground wires according to the below chart
Connect wires according to the below chartConnect Black or Red Supply Wire to: Connect White Supply Wire to: Black White *Parallel cord (round & smooth) *Parallel cord (square & ridged) Clear, Brown, Gold or Black without tracer Clear, Brown, Gold or Black with tracer Insulated wire(other than green) with copper conductor Insulated wire(other than green) with silver conductor * Note: When parallel wires (SPT I &SPT II) are used. The neutral wire issquare shaped or ridged and the other wire will be round in shape or smooth (see illus.)
Twist wires together with plastic wire connectors until tightly joined, and wrap each connector with approved electrical tape. Be sure that no wire strands are exposed and then carefully tuck all wires into the outlet box. - Raise canopy (E) over the outlet box. Align canopy (E) with the pre-assembled mounting screws, then secure canopy (E) with the previously removed knob nuts (G) till snug.
Note: canopy (E) should be snug against the ceiling and knob nuts (G).
If not, adjust the threaded length on mounting plate (B):
• First, unscrew the pre-assembled hex nuts.
• Then, screw the pre-assembled screws in or out of mounting plate (B).
• When the secure length is achieved, tighten the hex nuts and back to step 7. - 1) Install bulbs (not included) (Please do not exceed the maximum wattage recommended on the socket.)
2) Carefully place glass shade (I) on canopy (E), and slide washer (J) along stem (H), then secure them with hex nut(K).
3) Tighten column nut (M) onto stem (H) to secure lid (L).
Note: Glass shade (I) should be snug against canopy (E) and lid (L).
If not, adjust the threaded length below canopy (E):
• First, unscrew nut (N) on stem (H).
• Then, screw stem (H) in or out of canopy (E).
• When the proper length is achieved, tighten nut (N) and back to step 8. - Check everything is already installed properly, then you could turn on the light. Enjoy!
ORDERING PARTS
Keep this sheet for future reference in case you need to order replacement parts. All parts for this fixture can be ordered from the place of purchase. Be sure to use exact wording from illustration when ordering parts.
CLEANING
To clean, wipe the fixture with a soft cloth. Clean glass with a mild cleaner (such as mild and non-abrasive soap). Do not use abrasive materials such as scouring pads or powders, steel wool or abrasive paper.
+1 850 296 2377
Working hours : Mon – Fri 9:00 – 16:00 EST
[email protected]







NOTE: the side of mounting plate (B) marked “GND” must face out.
Connect wires according to the below chart
Twist wires together with plastic wire connectors until tightly joined, and wrap each connector with approved electrical tape. Be sure that no wire strands are exposed and then carefully tuck all wires into the outlet box.
Note: canopy (E) should be snug against the ceiling and knob nuts (G).
Note: Glass shade (I) should be snug against canopy (E) and lid (L).














