FUJIFILM TG-BT1 Tripod Grip with Bluetooth

Thank you for supporting FUJIFILM. You are now the owner of a Bluetooth-compliant tripod grip (referred to below as the “product”).
- For a list of compatible cameras, visit: https://fujifilm-x.com/support/compatibility/accessories/
- For software license information, visit: https://fujifilm-x.com/global/support/manual/accessories/
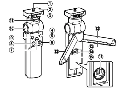
Product Parts

- Lock screw
- Camera mount
- Lock screw wheel
- Indicator lamp
- (Bluetooth) button
- Movie recording button
- (zoom in) W (zoom out) button
- Shutter button
- Control lock switch
- Angle adjusting lock release button
- Flip lock release button
- Legs
- Serial number plate
- Battery-chamber cover latch
- Battery-chamber cover
- Battery chamber
- Rotate the control lock switch to LOCK to prevent unintended operation.
- Do not remove the serial number plate, which provides the CMIIT ID, serial number, and other important information.
Using the Product
Inserting the Battery
- Keeping the round button next to the battery-chamber cover latch pressed (A), slide the latch down (B) and remove the battery-chamber cover.
- Insert the battery as shown with the “+” side facing up (C). The correct orientation is shown by the “+” label on the lip of the battery chamber.
- Replace the battery-chamber cover.
Pairing
The instructions below offer an example of how the product can be paired with a Fujifilm digital camera. For more information, consult the documentation provided with compatible cameras.
Before Pairing
Before proceeding, confirm that product is compatible with the camera and camera firmware.
- Confirm that the product’s control lock switch is unlocked.
- Press and hold the camera x (Bluetooth) button.
Bluetooth options will be displayed. - Select ON for Bluetooth > Bluetooth ON/OFF.
- Select Bluetooth > Pairing.
The camera will initiate the pairing process. - Press and hold the grip x (Bluetooth) button.
The grip will initiate the pairing process. - If pairing is successful, the camera will display the message, “PAIRING COMPLETE”.
Bluetooth® connection status is shown by an icon in the camera display.
| No icon | No Bluetooth® connection. |
![]() | Connected. |
![]() | Connected (locked). |
![]() | Connected (low battery). |
![]() | Connected (locked; low battery). |
- If pairing fails, the grip indicator lamp will flicker. Repeat the pairing process from the beginning.
- You will need to repeat the pairing process:
- before using the product with another camera (after pairing the product with another camera, you will also need to repeat the pairing process when switching back to a camera with which the product has previously been paired) and
- after resetting camera settings or deleting pairing information.
- The product will turn off automatically after two minutes when not paired with a camera or if the camera with which it is currently paired is off.
Attaching the Product to the Camera
Align the lock screw with the camera tripod mount and rotate the lock screw wheel to secure the product in place.
Choosing a Camera Angle
- Using one hand to support the camera, press the angle adjusting lock release button and angle the camera up or down. The angle can be adjusted in increments of 10°.
- To allow the camera to be angled left or right, press the flip lock release button. The angle can be adjusted in increments of 90°.

Taking Pictures
- Photographs can be taken by pressing the shutter button halfway to focus and then pressing it then rest of the way down.
- To start movie recording, press the movie recording button. Press the button again to end recording.
- Users of power zoom lenses can press the T (zoom in)/W (zoom out) button to T to zoom in and to W to zoom out. Zoom speed is controlled by the distance the button is pressed. Press the button lightly for slow zoom, deeply for fast zoom.
Using the Grip as a Tripod
- Open the legs to their maximum extent and place the grip on a level surface.
- Depending on the location and the type of camera attached, the assembly may be unbalanced and unsteady. Do not use the product as a tripod if it cannot be properly steadied.

NOTICES
To prevent fire or shock hazard, do not expose the unit to rain or moisture.
Please read the “Safety Notes” and make sure you understand them before using the product. Perchlorate Material—special handling may apply. See:
http://www.dtsc.ca.gov/hazardouswaste/perchlorate
alert consumers to the button/coin battery hazard, and provide relevant information so that appropriate action can be taken when it is suspected that a child has swallowed or inserted a button/coin battery.
WARNING
KEEP OUT OF REAKEEP OUT OF REACH OF CHILDRENCH OF CHILDREN Swallowing can lead to chemical burns, perforation of soft tissue, and death. Severe burns can occur within 2 hours of ingestion. Seek medical attention immediately.
For Customers in the U. S. A.
Tested To Comply With FCC Standards FOR HOME OR OFFICE USE
Contains IC : 337L-7BLZ20
Contains FCC ID : SQK-7BLZ20
FCC Statement: This device complies with Part 15 of the FCC Rules. Operation is subject to the following two conditions:
- This device may not cause harmful interference, and
- This device must accept any interference received, including interference that may cause undesired operation.
CAUTION: This equipment has been tested and found to comply with the limits for a Class B digital device, pursuant to Part 15 of the FCC Rules. These limits are designed to provide reasonable protection against harmful interference in a residential installation. This equipment generates, uses, and can radiate radio frequency energy and, if not installed and used in accordance with the instructions, may cause harmful interference to radio communications. However, there is no guarantee that interference will not occur in a particular installation. If this equipment does cause harmful interference to radio or television reception, which can be determined by turning the equipment off and on, the user is encouraged to try to correct the interference by one or more of the following measures:
- Reorient or relocate the receiving antenna.
- Increase the separation between the equipment and receiver.
- Connect the equipment into an outlet on a circuit different from that to which the receiver is connected.
- Consult the dealer or an experienced radio/TV technician for help.
FCC Caution: Any changes or modifications not expressly approved by the party responsible for compliance could void the user’s authority to operate this equipment.
This product must not be co-located or operated in conjunction with the antenna or transmitter on any other device.
Radiation Exposure Statement: This device meets the government’s requirements for exposure to radio waves. This device is designed and manufactured not to exceed the emission limits for exposure to radio frequency (RF) energy set by the Federal Communications Commission of the U.S. Government.
The exposure standard for wireless device employs a unit of measurement known as the Specific Absorption Rate, or SAR. The SAR limit set by the FCC is 1.6W/kg. Tests for SAR are conducted using standard operating positions accepted by the FCC with the device transmitting at its highest certified power level in all tested frequency bands.
For Customers in Canada
CAN ICES-003 (B)/NMB-003(B)
CAUTION: This Class B digital apparatus complies with Canadian ICES-003.
Industry Canada statement: This device complies with Industry Canada’s licence-exempt RSSs. Operation is subject to the following two conditions:
- This device may not cause interference; and
- This device must accept any interference, including interference that may cause undesired operation of the device.
This device and its antenna(s) must not be co-located or operating in conjunction with any other antenna or transmitter, except tested built-in radios. The County Code Selection feature is disabled for products marketed in the US/ Canada.
Radiation Exposure Statement: The available scientific evidence does not show that any health problems are associated with using low power wireless devices. There is no proof, however, that these low power wireless devices are absolutely safe. Low power Wireless devices emit low levels of radio frequency energy (RF) in the microwave range while being used. Whereas high levels of RF can produce health effects (by heating tissue), exposure of low-level RF that does not produce heating effects causes no known adverse health effects. Many studies of low-level RF exposures have not found any biological effects. Some studies have suggested that some biological effects might occur, but such findings have not been confirmed by additional research. TG-BT1 has been tested and found to comply with IC radiation exposure limits set forth for an uncontrolled environment and meets RSS-102 of the IC radio frequency (RF) Exposure rules.
DISPOSAL OF ELECTRICAL AND ELECTRONIC EQUIPMENT IN PRIVATE HOUSEHOLDS
In the European Union, Norway, Iceland and Liechtenstein: This symbol on the product, or in the manual and in the warranty, and/or on its packaging indicates that this product shall not be treated as household waste. Instead it should be taken to an applicable collection point for the recycling of electrical and electronic equipment.
By ensuring this product is disposed of correctly, you will help prevent potential negative consequences to the environment and human health, which could otherwise be caused by inappropriate waste handling of this product.
This symbol on the batteries or accumulators indicates that those batteries shall not be treated as household waste.
If your equipment contains easy removable batteries or accumulators please dispose these separately according to your local requirements.
The recycling of materials will help to conserve natural resources. For more detailed information about recycling this product, please contact your local city office, your household waste disposal service or the shop where you purchased the product.
In Countries Outside the European Union, Norway, Iceland and Liechtenstein: If you wish to discard this product, including the batteries or accumulators, please contact your local authorities and ask for the correct way of disposal.
Be sure to read these notes before use
Safety Notes
- Please read the operating instructions in this Owner’s Manual, especially the warnings and cautions, as well as the operating instructions in the camera’s Owner’s Manual (available from the Fujifilm website) in order to operate this product correctly.
- After reading, be sure to keep this manual in a safe place where you can refer to it easily.
About the Icons
The icons shown below are used in this document to indicate the severity of the injury or damage that can result if the information indicated by the icon is ignored and the product is used incorrectly as a result.
DANGER This icon indicates imminent danger of death or serious injury if the information is ignored.
WARNING This icon indicates that death or serious injury can result if the information is ignored.
CAUTION This icon indicates that personal injury or material damage can result if the information is ignored.
The icons shown below are used to indicate the nature of the instructions which are to be observed.
- Triangular icons tell you that this information requires attention (“Important”).
- Circular icons with a diagonal bar tell you that the action indicated is prohibited (“Prohibited”).
- Filled circles with an exclamation mark indicate an action that must be performed (“Required”).
Filled circles with an exclamation mark indicate an action that must be performed (“Required”).
- AC
- DC
- Class II equipment (The construction of the product is double-insulated.)
DANGER
This product is supplied with a button battery. Follow the precautions below to prevent the battery leaking, overheating, igniting, or rupturing and to avoid dangers that include not only the potential for serious injury or burns if the battery is swallowed but also the risk of fire.
DANGER
- Do not swallow button batteries. Failure to observe this precaution could result in chemical burns. Once swallowed, button batteries will within about two hours give rise to serious internal burns that may result in death.
- Do not swallow button batteries. Failure to observe this precaution could result in chemical burns. Once swallowed, button batteries will within about two hours give rise to serious internal burns that may result in death.
- Keep button batteries out of reach of children. Small children may accidentally swallow button batteries. Keep them out of reach of children. In the event that a child swallows a button battery, seek medical attention immediately.
Warning
- Unplug power socket
If a problem arises, turn the camera off and remove the batteries from the product and the camera. Continued use when the product or
camera is emitting smoke or unusual odors or otherwise functioning abnormally could result in fire or electric shock. Contact your Fujifilm dealer. - Do not allow water or foreign objects into the product. Do not use the product following ingress of fresh or salt water, milk, beverages, detergents, or other liquids. Should liquid or other foreign matter find its way into the product, turn the camera off and remove the batteries from both the product and the camera. Continued use could result in fire or electric shock. Contact your Fujifilm dealer.
- Do not use in the bathroom or shower
- Do not use this product in the bathroom or shower. This can cause a fire or electric shock.
- Do not disassemble
- Do not disassemble or modify (never open the case). Failure to observe this precaution can cause fire or electric shock.
- Do not touch internal parts
Should the case break open as the result of a fall or other accident, do not touch the exposed parts. Failure to observe this precaution could result in electric shock or in injury from touching the damaged parts. Remove the battery immediately, taking care to avoid injury or electric shock, and take the product to the point of purchase for consultation. - The battery-chamber cover and other small product parts are easily swallowed; do not place them in your mouth.
- Do not use the battery except as specifi ed. Load the battery as shown by the indicator.
- Do not disassemble, modify, or heat batteries. Do not drop, strike, or throw batteries or otherwise subject them to strong impacts. Do not use batteries that show signs of leaking, deformation, discoloration, or other abnormalities. Do not attempt to recharge non-rechargeable Li-ion
or alkaline batteries. Do not short batteries or store them with metallic objects. Failure to observe these precautions could result in the batteries overheating, igniting, rupturing, or leaking, causing fire, burns, or other injury. - Use only batteries designated for use with this product. The use of other power sources can cause a fire.
- If the battery leaks and fluid gets in contact with your eyes, skin or clothing, flush the aff ected area with clean water and seek medical attention or call an emergency number right away.
- Replacement batteries may explode if not of the correct type. Replace batteries only with other batteries of the same or an equivalent type.
- Do not use in the presence of fl ammable objects, explosive gases, or dust. Prepare batteries for disposal or storage by insulating the terminals with tape. Contact with other metallic objects or batteries could cause the battery to ignite or burst.
- Follow the directions of airline and hospital personnel. This product generates radio-frequency emissions that could interfere with or medical equipment.
CAUTION
- Do not leave this product in places subject to extremely high temperatures.
- Do not leave the product in locations such as a sealed vehicle or in direct sunlight. This can cause a fire.
- Do not cover or wrap this product in a cloth or blanket. This can cause heat to build up and distort the casing or cause a fire.
- Do not handle with wet hands. Failure to observe this precaution can cause electric shock.
- Remove the battery before cleaning the product or leaving it unused for extended periods. Failure to do so can cause a fire or electric shock.
- Dispose of the product in accord with location regulations.
- Danger of explosion if battery is incorrectly replaced. Replace only with the same or equivalent type.
- Batteries (battery pack or batteries installed) shall not be exposed to excessive heat such as sunshine, fi re or the like.
Precautions for Use
- Fully tighten the lock screw wheel (C) after attaching the grip to the camera.
- To prevent damage caused by such accidents as the product falling over, check to be sure that the combined weight of the camera, lens, and other accessories does not exceed product’s maximum load.
- Do not use the product where it will be exposed to high temperatures or humidity
- Do not store the product in locations subject to extreme temperatures or high humidity.
- Be careful not to catch your fingers in the product’s moving parts when opening or closing the legs or tilting or swivelling the camera mount.
- To prevent the camera tilting, support it with one hand while the angle adjusting lock release button is pressed.
- Do not subject the product to violent motions while a camera is attached
- Ensure that metal parts of the product do not short or come into contact with battery terminals.
- Do not expose the product to open flame.
- Do not subject the product to temperatures under −20 °C or pressures of less than 11.6 kPa.
Bluetooth® Devices: Cautions
This product complies with the following EU Directives:
- RoHS Directive 2011/65/EU
- RE Directive 2014/53/EU
Hereby, FUJIFILM Corporation declares that the radio equipment type FF220003 is in compliance with Directive 2014/53/EU.
The full text of the EU declaration of conformity is available at the following internet address:
https://dl.fujifilm-x.com/global/products/accessories/tg-bt1/pdf/tg-bt1_doc-mtd.pdf The full text of the UK declaration of conformity is available at the following internet address:
https://dl.fujifilm-x.com/en-gb/products/accessories/tg-bt1/pdf/tg-bt1_doc-mtd_uk.pdf This compliance is indicated by the following conformity marking placed on the product:
This marking is valid for non-Telecom products and EU harmonized Telecom products (e.g. Bluetooth®).
- Maximum radio-frequency power (EIRP): Bluetooth: 4 dBm
IMPORTANT: Read the following notices before using this device.
Q This product, which contains encryption function developed in the United States, is controlled by the United States Export Administration Regulations and may not be exported or re-exported to any country to which the United States embargoes goods.
- Use only as a Bluetooth® device. Fujifilm does not accept liability for damages resulting from unauthorized use. Do not use in applications requiring a high degree of reliability, for example in medical devices or other systems that may directly or indirectly impact human life. When using the device in computer and other systems that demand a greater degree of reliability than offered by Bluetooth® devices, be sure to take all necessary precautions to ensure safety and prevent malfunction.
- Use only in the country in which the device was purchased. This device conforms to regulations governing Bluetooth® devices in the country in which it was purchased. Observe all location regulations when using the device. Fujifilm does not accept liability for problems arising from use in other jurisdictions.
- Do not use the device in locations subject to magnetic fields, static electricity, or radio interference. Do not use the device in the vicinity of microwave ovens or in other locations subject to magnetic fields, static electricity, or radio interference that may prevent reception of wireless signals. Mutual interference may occur when this product is used in the vicinity of other wireless devices operating in the 2.4 GHz band.
- The wireless transmitter operates in the 2.4 GHz band using a different form of modulation.
- The following may be punishable by law:
- Disassembly or modifi cation or this device
- Removal of device certifi cation labels
- This device operates on the same frequency as commercial, educational, and medical devices and wireless transmitters. It also operates on the same frequency as licensed transmitters and special unlicensed low-voltage transmitters used in RFID tracking systems for assembly lines and in other similar applications.
- To prevent interference with the above devices, observe the following precautions. Confirm that the RFID transmitter is not in operation before using this device. Should you observe that the device causes interference in licensed transmitters used for RFID tracking, immediately stop using the affected frequency or move the device to another location. If you notice that this device causes interference in low-voltage RFID tracing systems, contact a Fujifilm representative.
Supplied accessories
- Lithium coin-cell battery (CR2032)
- Pouch
- Printed matter
Specifications
| Maximum load | 1.5 kg/53.0 oz (maximum combined weight of attached camera and accessories) |
| Approximate dimensions (W × H × D) | Legs retracted: 48.0 mm × 172.3 mm × 38.3 mm/ 1.89 in × 6.78 in × 1.51 in Legs extended: 145.9 mm × 132.3 mm × 163.4 mm/ 5.74 in × 5.21 in × 6.43 in, excluding projections |
| Weight | Approx. 205.5 g ±10 %/7.3 oz. ±10 %, excluding battery |
| Operating temperature | –10 °C to +40 °C/+14 °F to +104 °F |
Wireless (Bluetooth®)
| Standards | Bluetooth version 5.0 (Bluetooth Low Energy) |
| Operating frequency (center frequency) | 2,402 MHz–2,480 MHz (40 channels) |
- Specifications and performance are subject to change without notice.
- The Bluetooth® word mark and logos are registered trademarks owned by the Bluetooth SIG, Inc., and any use of such marks by Fujifilm is under license.
Manufacturer: FUJIFILM Corporation
EU Importer:
FUJIFILM Electronic Imaging Europe GmbH
Fujistrasse 1 47533 Kleve, Germany
U.K. Importer:
FUJIFILM UK Limited
Fujifilm House, Whitbread Way, Bedford, Bedfordshire, MK42 0ZE, United Kingdom

Pairing





















