CHIEF SCAC Designer Cart Camera Shelf Instruction Manual
DISCLAIMER
Legrand | AV and its affiliated corporations and subsidiaries (collectively “Legrand | AV”), intend to make this manual accurate and complete. However, Legrand | AV makes no claim that the information contained herein covers all details, conditions or variations, nor does it provide for every possible contingency in connection with the installation or use of this product. The information contained in this document is subject to change without notice or obligation of any kind. Legrand | AV makes no representation of warranty, expressed or implied, regarding the information contained herein. Legrand | AV assumes no responsibility for accuracy, completeness or sufficiency of the information contained in this document.
Chief® is a registered trademark of Legrand AV Inc.
DEFINITIONS
MOUNTING SYSTEM: A MOUNTING SYSTEM is the primary Chief product to which an accessory and/or component is attached.
ACCESSORY: AN ACCESSORY is the secondary Chief
product which is attached to a primary Chief product, and mayhave a component attached or setting on it.
COMPONENT: A COMPONENT is an audiovisual item designed to be attached or resting on an accessory or mounting system such as a video camera, CPU, screen, display, projector, etc.
WARNING: A WARNING alerts you to the possibility of serious injury or death if you do not follow the instructions.
CAUTION: A CAUTION alerts you to the possibility of damage or destruction of equipment if you do not follow the corresponding instructions.
IMPORTANT SAFETY INSTRUCTIONS
WARNING: Failure to read, thoroughly understand, and follow all instructions can result in serious personal injury, damage to equipment, or voiding of factory warranty! It is the installer’s responsibility to make sure all accessories aren properly assembled and installed using the instructions provided.
WARNING: Exceeding the weight capacity can result in serious personal injury or damage to equipment! It is the installer’s responsibility to make sure the combined weight of all components attached to the SCAC accessory does not exceed 10 lbs (4.5 kg).
WARNING: Use this accessory only for its intended use as described in these instructions. Do not use attachments not recommended by the manufacturer.
WARNING: Never operate this accessory if it is damaged. Return the accessory to a service center for examination and repair.
WARNING: Do not use this accessory outdoors.
WARNING: RISK OF INJURY TO PERSONS! Do not use this mounting system / accessory to support video equipment such as televisions or computer monitors.
–SAVE THESE INSTRUCTIONS–
Dimensions

LEGEND
Tighten Fastener
Loosen Fastener
Phillips Screwdriver
Open-Ended Wrench
By Hand
Hex-Head Wrench
Pencil Mark
Drill Hole
Adjust
Remove
Optional
Security Wrench
TOOLS

Assembly And Installation
Shelf Assembly
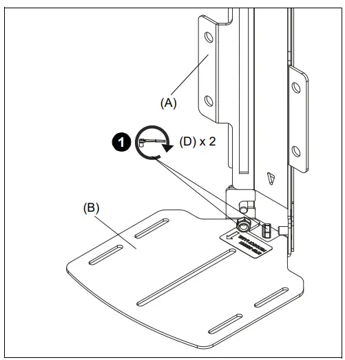
Use two M8 hex nuts (D) to secure camera shelf (B) to attachment plate (A). (See Figure 1)
Attaching Shelf to Cart
Use four M8 hex nuts (D) to secure attachment plate (A) to designer cart. (See Figure 2)
NOTE: SCAC shelf may be installed in an above or below orientation.
Height Adjustment
- Loosen two hex nuts that attach two brackets of attachment plate (B) to each other. (See Figure 3)
- Adjust shelf height as desired. (See Figure 3)
NOTE: For all above display installations, it is recommended that the shelf be positioned so that it rests on top of display to help ensure an even mount. - Tighten two hex nuts that were loosened in Step 1. (See Figure 3)

Installing Camera (not included)
WARNING: Exceeding the weight capacity can result in serious personal injury or damage to equipment! It is the installer’s responsibility to make sure the combined weight of all components attached to the SCAC accessory does not exceed 10 lbs (4.5 kg).
WARNING: Camera must be secured to SCAC shelf using either adhesive hook and loop squares (E) or screw (C)! Failure to securely mount camera to shelf may result in serious personal injury or damage to equipment!
NOTE: OPTIONAL: Slots are provided in shelf for strap (not included) to hold camera in place. (See Figure 4)
Using Adhesive Squares
- Use up to eight adhesive hook and loop squares (E) to secure camera to shelf. Attach adhesive squares to bottom of camera first and then attach corresponding squares to shelf when the exact mounting location has been determined. Using Screw(s)
NOTE: Screw mounting options will vary based upon camera model. - Install 1/4-20 x 3/8” Phillips pan machine screw (C) through mounting slot on shelf and into hole on bottom of camera. (See Figure 4)
- Route cable from camera towards back of shelf and down behind the SCAC. (See Figure 4)

8800-003309 Rev00
2022 Legrand | AV
www.legrandav.com
07/2022
USA/International A 6436 City West Parkway, Eden Prairie, MN 55344
P 800.582.6480 / 952.225.6000
F 877.894.6918 / 952.894.6918
Europe A Franklinstraat 14, 6003 DK Weert, Netherlands
P +31 (0) 495 580 852
F +31 (0) 495 580 845
Asia Pacific A Office No. 918 on 9/F, Shatin Galleria
18-24 Shan Mei Street
Fotan, Shatin, Hong Kong
P 852 2145 4099
F 852 2145 4477



















