Our smart, cost-effective & slimline rediator

1500 W SMART3 CERAMIC CORE
RADIATOR
INSTRUCTION MANUAL
*This product is only suitable for well-insulated spaces or occasional use.
Please read all of the instructions carefully and retain them for future reference.
Safety Instructions
When using electrical products, basic safety precautions should always be followed.
Check that the voltage indicated on the rating plate corresponds with that of the local network before connecting the
product to the mains power supply.
Children younger than 3 years old should be kept away from the product unless continuously supervised.
Children aged from 3 years and less than 8 years should not plug in, regulate or clean the product or perform user maintenance. Children aged from 8 years and people with reduced physical, sensory or mental capabilities or lack of experience and knowledge can use this appliance, only if it has been installed in its intended operating position and they have been given supervision or instruction concerning the use of the appliance in a safe way and understand the hazards involved.
Children should not perform cleaning or user maintenance unless they are older than 8 years and supervised.
This is not a toy – children should be supervised to ensure they do not play with the product.
Always unplug the product and allow it to cool fully after use and before any cleaning or maintenance. Normal voltage is still present in this product as long as the product is connected to the electrical source.
This product contains no user-serviceable parts. If the power supply cord, plug, or any part of the product is malfunctioning or if it has been dropped or damaged, only a qualified electrician should carry out repairs. Improper repairs may place the user at risk of harm. Keep the product and its power supply cord out of the reach of children and away from heat or sharp edges that could cause damage. This includes any parts of the product that may become hot during use and other heat-emitting products.
Keep furniture, curtains and other flammable material at least 1 metre away from the product.
Do not run the supply cord under carpets, rugs etc. or anywhere where it may present a trip hazard.
Do not immerse the product or plug in water or any other liquid. Do not operate the product with wet hands.
Do not use this product in the immediate surroundings of a bath, a shower or swimming pool.
Do not remove from the mains power supply by pulling the cord; switch off and remove the plug by hand.
Do not leave the product unattended for extended periods of time whilst connected to the mains power supply or when in use -check regularly to ensure safety.
Do not use this product for extended periods of time without making daily safety checks on the appliance and surrounding area. If defect or damage is found discontinue use immediately. Do not use the product for anything other than its intended use. Do not cover this product.
Ensure that the product has adequate ventilation at all times; place in an open, well-ventilated space, and install according to the instructions provided. Place the product in a location where it is unlikely to be accidentally covered and check daily to prevent the risk of fire, property damage or injury.
Do not use this product outdoors.
Do not attempt to move the product whilst it is in use.
Do not use the product with a programmer, timer, separate remote-control system or any other device that will switch the product on automatically other than that supplied with the product, as there is a risk of fire if the heater is covered or positioned incorrectly.
Do not clean the product with abrasive chemicals or materials such as scourers as they may damage the product and impair future function. This includes insecticide and chemical solvents. The product should be used on a stable, heat-resistant surface. The product must not be located immediately below or next to a mains power supply.
Never use accessories that are not recommended or supplied by the manufacturer. It could cause danger to the user and damage to the product.
Use of an extension cord with the product is not recommended. This product is intended for domestic use only. It should not be used for commercial purposes.
Caution: Some parts of this product can become very hot and cause burns. Particular attention has to be given where children and vulnerable people are present.
Hot surface – do not touch the hot section or heating components of the product.
Warning: In order to avoid overheating, do not cover the product.
Do not use this product in small rooms whilst occupied by persons incapable of leaving the room on their own, unless constant supervision is provided.
Thermal Cut-out Device
The radiator is fitted with a thermal safety cut-out device, built in to prevent it from overheating. Should the radiator start to overheat, the thermal safety cut-out system will automatically operate and the heat settings will switch off. If this happens:
STEP 1: Switch off the radiator using the on/off switch located on the right-hand side of the radiator main unit.
STEP 2: Check that the radiator is unplugged from the mains power supply and allow it to cool for approx. 30 minutes.
STEP 3: Clear anything which has been covered, is leaning against or maybe restricting adequate ventilation to the radiator, being careful not to damage the radiator.
STEP 4: Plugin and switch on the radiator at the mains power supply.
Caution: In order to avoid a hazard, due to inadvertent resetting of the thermal cut-out, this radiator must not be supplied through an external switching device such as a timer or connected to a circuit that is regularly switched on and off by the utility.
Care and Maintenance
Always unplug the radiator from the mains power supply and allow it to cool sufficiently before performing any cleaning or maintenance.
Wipe the exterior of the radiator with a soft, damp cloth and allow it to dry thoroughly.
Do not use harsh or abrasive cleaning solvents or scourers, as they may damage the finish of the radiator.
Regularly check the radiator, plug, and power supply cord for damage.
Check the area around the radiator daily and make sure that it is clear from items that may fall onto or obstruct adequate ventilation.
Getting Started
Remove the radiator from the box.
Remove any packaging from the radiator.
Place packaging inside the box and either store or dispose of it safely.
In the Box
1500 W Smart Ceramic Core Radiator Wing nut bolts (qty. 4)
Wheelbase units (qty. 2)
360 ° castor wheels (qty. 4)
Upper wall brackets (qty. 2)
Lower wall bracket (qty. 1)
Wall bracket screws (qty. 5)
Wall plugs (qty. 5)
Bracket locking screws (qty. 2)
Instruction manual
Features
| 1500 W power Wi-Fi controlled heat settings 7-day timer with adjustable temperature control Open window function Presence detection mode Surface temperature control | Digital thermostat Thermal cut-out device Lockable screen for child safety Portable with 360 ° wheels Wall mountable LCD display |
Description of Parts

- 1500 W Smart Ceramic Core
Radiator main unit - On/off switch
- Touchscreen panel
- Wingnut bolts
- Wheelbase units
- 360 ° castor wheels
- Fins

| Icon | Description | Icon | Description |
![]() | Multifunctional digital display | Heating icon | |
| Day of the week number (1 to 7) | ![]() | Temperature limitation function | |
![]() | Comfort mode | Wi-Fi icon | |
![]() | Economic mode | ![]() | Open window mode |
![]() | Frost prevention mode | ![]() | Control panel lock activated |
![]() | Timer mode | Daily status bar (0 to 24 h) | |
![]() | Sensor mode | Scroll left (swipe) | |
![]() | Not used in this model | Scroll right (swipe) | |
![]() | Power button | ![]() | Decrease button |
![]() | Increase button | ![]() | Mode button |
Before First Use
Do not connect the radiator to the mains power supply until all of the instructions have been read, fully understood and the radiator has been fully assembled.
The minimum safe distances must be observed.
Check that there is no damage to the radiator before assembly.
Assembling the 1500 W Smart Ceramic Core Radiator
Assembling the Wifi Radiator
Attaching the wheels for portable use
STEP 1: Ensure the Wi-Fi Radiator is turned off and unplugged from the mains. Place the Radiator on its side on a flat, stable surface so the bottom of the unit is exposed and easily accessible.
STEP 2: Place the wheelbase units flat against a surface, the surface pointing upwards is the underside of the wheelbase unit. Unscrew the bolt caps off the 360-degree castor wheels. Thread the bolt through the underside of the wheelbase unit then screw the caps back onto the bolt. The bolt should sit on the flat side of the wheelbase unit. Repeat this for all four wheels.
STEP 3: Place the assembled wheelbase unit against the bottom of the Wi-Fi-radiator unit and line up the holes. Make sure the lip of both the wheelbase units are facing downwards in respect to the Wi-Fi radiator main unit and the ends of the U-shaped wheelbase unit are pointing outwards. Secure the wheelbase unit to the main unit by fastening the 4 wings nut bolts into the holes (2 per wheel base assembly).
STEP 4: Carefully turn the radiator back into its upright position. Position radiator on a flat, stable, heat-resistant surface in an open space, at least 1 meter away from furniture, curtains, or any other flammable materials.
| Note: The radiator must be placed in a location with adequate ventilation where it is unlikely to be covered or damaged accidentally. When using the radiator for the first time, a slight odor may be emitted. This is normal and will soon subside. Allow for sufficient ventilation around the radiator. Caution: Do not leave the product operating unattended for extended periods of time. |
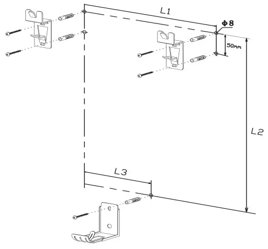
Wall Mounting the 1500 W Smart Ceramic Core Radiator
The radiator should be mounted on a heat-resistant wall so that the bottom of it is at least 150 cm from the floor with a minimum space of 200 mm on all other sides to allow for good air circulation. The radiator is not suitable for placing in an alcove, there should be as much clear space as possible above the radiator to allow for good heat dissipation and to reduce the risk of the product being covered accidentally.
STEP 1: Check that the wall the radiator is to be mounted on is strong and stable enough to support its weight and that it is heat-resistant to avoid cosmetic damage to the wall coverings. Make sure that the mounting position observes the safe distance requirements.
STEP 2: Using a pencil, mark the screw hole locations as described in the wall mounting diagram. Make sure that the holes are marked accurately and are in the positions required for the model. Check the marked positions are level and marked accurately before drilling the pilot holes.
STEP 3: Using a suitable drill bit, drill pilot holes at each marked location. Consult a qualified professional if required.
STEP 4: Insert a wall plug into each pilot hole so that the wall plug sits flush with the wall
surface. Position the required mounting bracket onto the surface and fix to the wall with the wall bracket screws. The lower wall bracket should be fixed to the lowest set of pilot holes.
STEP 5: Place the radiator onto the support brackets, making sure that all of the brackets have engaged with the radiator and can support the weight.
STEP 6: Insert the bracket locking screws into the upper wall brackets and tighten to ock the radiator into the brackets.
Note: The radiator must be placed in a location with adequate ventilation where it is unlikely to be covered or damaged accidentally. |
Wall Mounting Diagram:

| MODLE | L1 (mm) | L2 (mm) | L3 (mm) |
| 1000W | 200 | 423 | 100 |
| 1500W | 300 | 423 | 200 |
| 2000W | 400 | 423 | 200 |
Instructions for Use
STEP 1: Plugin and switch on the radiator at the mains power supply.
STEP 2: To turn on the radiator, press the on/off switch to the “I” position. The screen will display all available digits and symbols before going into standby mode.
STEP 3: Press”
” to turn the radiator on. The display will change to comfort mode and display the comfort mode temperature.
STEP 4: Press “
” to increase the temperature in 0.5 °C increments. When the desired temperature is shown on the screen, press “
” to confirm. The temperature is now set and the radiator will begin heating the room to the set temperature.
STEP 5: Press”
“ to decrease the temperature in 0.5 °C increments. When the desired temperature is shown on the screen, press “
” to confirm. If the set temperature is higher than the current ambient room temperature, the radiator will display “
” and begin heating the room.
STEP 6: Press”
“to put the radiator into standby mode. The time will be displayed on the screen if it is set, otherwise, the digits will flash as a reminder. Switch off the radiator using the on/off switch located on the right-hand side of the radiator main unit.
Note: The comfort mode temperature must be set higher than the current room temperature for the heat setting to engage
Enabling and Disabling the Control Panel Lock
To enable the Control Panel lock, press and hold “
” and “
” simultaneously until “
“ appears. This will deactivate all of the controls except for the power button and on/off switch.
To deactivate the Control Panel lock, press and hold”
” and “
” simultaneously until the “
” disappears.
Note: The Control Panel lock cannot be enabled or disabled when the radiator is in standby mode. Turning the radiator off with the on/off switch will disable the Control Panel lock.
Advanced Operation
Modes of Operation
The radiator has 5 modes that can be programmed and set for convenience: COMFORT MODE (
) – the radiator will maintain the set temperature.
ECONOMIC MODE (
) – the radiator will maintain the set temperature. For the most efficient operation, do not set the temperature higher than comfort mode.
FROST PREVENTION MODE (
)- the radiator will be set to 7 °c to prevent frost. The set temperature for this mode cannot be changed.
SENSOR MODE (
) – the radiator will operate in comfort mode when people are detected in the room. When people are no longer detected in the room the radiator will change to economic mode and then frost prevention mode, until people are detected again. This mode must be programmed from the Internal Setup menu before it will operate correctly when selected.
TIMER MODE (
) – the radiator will run on a programmed timer setting and will automatically change from comfort to economic mode at specific times.
To change the mode, press “
” to cycle between modes in order:
→ COMFORT MODE→
ECONOMIC MODE→
FROST PREVENTION MODE
→ TIMER MODE→
SENSOR MOM→ ![]()
Not used in this model
The mode can also be changed by swiping the touch screen left or right to scroll through the programs.
Note: Sensor mode must be programmed from the internal setup menu before it can be selected and operate correctly.
Setting the Time and Timers
STEP 1: Navigate to TIMER mode (
) by pressing ‘
‘. Press and hold
until the hour digits begin to flash inside a circle. Use
and
to set the hour and then press .
to confirm.
STEP 2: The minute digits will now flash. Use
and
to set the minutes and then press
to confirm.
STEP 3: The day of the week number will now flash. Use
and
to set the day of the week number:
1 = Monday
2 = Tuesday
3 = Wednesday
4 – Thursday
5 is Friday
6 – Saturday
7 = Sunday
Press ‘
‘ to confirm
STEP 4: The program number “P1” will be displayed on the left-hand side of the circle alongside the day of the week number in the right-hand side.
The times the comfort and economic mode are engaged for are displayed along the bottom of the screen in the daily status bar in blocks of 1 hour.
Use
and
to change the program number to the desired program for the selected day. There are seven programs to choose from.
When the desired program has been selected, press ‘0’ to confirm. The program for the following day can now be selected in the same way until a program has been assigned for every day of the week.
When all of the days of the week have been programmed, the display will return to the home display screen. A flashing block on the daily status bar shows where in the program the radiator is. The time is now set and will be displayed on the screen when the radiator is in standby mode.
Customizing the Programmes
Each of the seven programs can be customized to the user’s requirements for maximum convenience. To customize a program, follow steps 1-3 of the “Setting the Time and Timers” section. The program number “P1” will be displayed in the left-hand side of the circle alongside the day of the week number in the right-hand side.
STEP 1: Press and hold ”until the digits’
‘ flash next to the program number and the first bar on the Daily Status Bar flashes. The hour time period each bar represents will be displayed in a 24-hour format alongside the program number as the bar is selected.
STEP 2: Press (
)to toggle comfort mode on when it is off or to leave the setting unchanged ed when it is on.
Press’
‘ to toggle comfort mode off when it is on or to leave the setting unchanged when it is off.
When either button is pressed, the next bar will automatically be selected for modification.
Press and hold either button to quickly toggle and scroll for setting multiple bars in a short period of time.
Press and hold
Otto toggle comfort mode on.
Press and hold
to toggle comfort mode off.
STEP 3: When customization is complete, press ‘
‘ to save the settings. The next program to be customized can be selected with
or
buttons in the same way.
Resetting to Factory Settings
To reset the radiator to factory settings, make sure that the radiator is in standby mode. Press and hold “
‘ until the screen displays all digits and symbols then release it.
This will clear all existing user-customized settings and can now be reprogrammed.
More Advanced Operation
Internal Set-up Menu
More advanced features and settings, including the Wi-Fi settings, can be accessed through the internal set-up menu:
FO: Temperature Compensation
Fl: Sensor Mode Function
F3: Open Window Function
F4: Temperature Limitation Function
F5: Wi-Fi Function
To access the internal set-up menu the radiator must be in standby mode. Press and hold 0 until “
” appears on the left-hand side of the circle. The current set value will be displayed on the right-hand side of the circle. Press
to cycle through the functions in ascending order.
FO: Temperature Compensation
This allows the thermostat on the radiator to be calibrated to the true room temperature. Press “
” to increase the temperature and press “
” to decrease it. The temperature can be adjusted to compensate for temperature differences of +/- 5 °C in 1 °C increment. When the desired level of compensation is set, press “
‘ to confirm and move to the next function.
Fl: Sensor Mode Function
This is the amount of time the radiator will continue to heat the room after people are no longer detected in the sequence described below.
- 1st time period: Room heated at comfort temperature. If no motion is detected ->
- 2nd time period: Room heated at 1 °c below comfort temperature. If no motion is detected =>
- 3rd time period: Room heated at 2 °c below comfort temperature.
If no motion is detected => - 4th time period: Room heated at economic temperature.
- If no motion is detected for 24 hours after 4th time period: room heated at frost prevention temperature.
If a person is detected, the sequence will be reversed with the radiator moving back 1 time period each time a person is detected until the original comfort temperature is reached.
There are 5 time period options available “0” (Off), “15”, “30”, “45” and “60” minutes. Press “
” to increase the time setting and then press
to decrease it. When the desired time period is set, press
to confirm and move to the next function.
F2: Open Window Function
If the radiator detects that the room temperature has dropped more than 2 °C within 5 minutes (for example, if a window is opened), the radiator will change to frost-prevention mode to save energy for the time period selected before reverting to the previous mode to reheat the room.
There are three options available: “0” (Off), “60” and “90” minutes. Press “
” to increase the time setting and then press “
” to decrease it. When the desired time period is set, press “
” to confirm and move to the next function.
F3: Temperature Limitation Function
The radiator will automatically limit the max. the temperature of the unit to reduce the risk of burns and scalds if a child or vulnerable person accidentally falls against the unit.
There are 6 settings: “0” (Off), “40 °C”, “45 °C”, “50 °C”, “55 °C” and “60 °C”. Press “
” to activate the function. The
symbol will be displayed to show the mode is activated. Press “
‘ or “
‘ to increase/decrease the temperature. When the desired temperature is set, press “
‘ to confirm and move to the next function.
Note: The heating element will switch off when the radiator reaches the temperature set. This is controlled by an internal temperature sensor and does not represent the external surface temperature of the radiator. Limiting the temperature of the radiator in this way will limit the effectiveness with which it heats the room. |
F5: Wi-Fi Function
This allows the radiator to be connected to a Wi-Fi network and controlled from a smartphone app. The radiator can still function normally without a Wi-Fi connection but adjustments can only be made from the control panel and not remotely. Press “
‘ to turn on the Wi-Fi function, the word “
” will be displayed on the screen. Press ‘to turn off the Wi-Fi function, the word “oF” will be displayed on the screen. Press
after set up to exit the internal setup menu.
Connecting the Radiator to the Smartphone App
STEP 1: Enable the Wi-Fi function on the radiator following the instructions contained in the “Internal Set Up Menu” section.
will flash to show that the connection is enabled but not connected.
STEP 2: Download and install the Tuya Smart smartphone app. Register for an account on the app and then check that the smartphone is connected to the same Wi-Fi network as the radiator will be. On the app press ADD DEVICE, the option to pair with the Wi-Fi Radiator should automatically show on the app screen. If it does not select the auto-scan option on the app and wait for the radiator to appear. The app will then request the WiFi network information for your device. Check that the Wi-Fi network displayed on the app is the same one that the smartphone is connected to, and enter the Wi-H password into the password box underneath the Wi-Fi network name on the TUYA app.
STEP 3: With the radiator in standby, press and hold the mode button until the screen shows a countdown. Then press confirm on the smartphone app and wait. If the connection is successful, the message PASS will be shown on the radiator and
will remain solid.
If the connection is unsuccessful, then FAIL will be shown on the radiator. If the connection fails, wait for the connection search to time out on both the radiator and the smartphone app and try again. It may take 2-3 attempts before a successful connection is established. If the connection still fails, check that the radiator is close enough to the Wi-Fi router to have good signal and that the smartphone is connected to the Wi-Fi.
STEP 4: Navigate to the HOME screen on the app and press POWER
in the bottom left of the screen to turn the radiator on. The display can be used to control the radiator.
Scan this code on the App Store or Google Play to install the Tuya Smart smartphone app.

https://smartapp.tuya.com/smartlife
Controlling the Radiator from the Smartphone App Home
Page Display

- Device information
- Device name
- Power button
- Selected mode (comfort, eco, anti-freeze, program or sensor mode available)
- Currently selected temperature
- Current ambient temperature
- Temperature selector (buttons or scroll)
- Timer mode
- Device settings
Selecting Modes on the Smartphone App
To change the mode on the smartphone app, press the power button to turn the radiator on. Select the required mode on the Comfort Mode dropdown.
To set the temperature for COMFORT or ECONOMIC mode
Select the desired mode on the mode selection dropdown. The temperature can be adjusted for this mode by moving the temperature control wheel or using the temperature control arrows. This mode temperature will remain saved for the setting until it is adjusted again.
Program Data Option
Press the Program Data button on the control panel and select ‘Program Data’ on the menu. This option allows control of the calendar and selects at what times of the day the radiator will be set to ‘Eco’ and ‘Comfort’ mode. Click on the desired day and time to select the preferred mode. Once the desired modes have been selected on the calendar press save to finalize the selection.
Deleting a device from the smartphone app
Choose the desired device that you would like to delete. Select the pencil icon at the top right-hand corner of the control screen. Scroll down and select the ‘Remove device’ option on the dropdown.
Troubleshooting
| Problem | Cause | Solution |
| The radiator is not operating. | The radiator is not plugged 1n and switched on at the mains power supply. The thermal cut-out device Has activated. The fuse has blown. | Check that the radiator is plugged in and switched on at the mains power supply. |
| There is no heat or light being emitted from the radiator. | There may be a problem with the power supply to the radiator. | Check the mains power supply by plugging in a working appliance. If the mains power supply is functional and the power cord or plug of the radiator is suspected to be faulty, have it checked by a qualified electrician. |
| The radiator will not connect to the smartphone app. | The radiator may not be close enough to the Wi-Fi router to obtain a good connection. The smartphone app may riot be connected to the Wi-Fi network. | Move the radiator closer to the Wi-Fi router and try to connect again. Check that the smartphone app is connected to the same Wi-Fi network that you intend to connect the radiator to. |
High and low-temperature alarm
| Temperature Display shows | Condition |
| LL 1 | An ambient temperature lower than -20 °C |
| LL 2 | An internal temperature lower than -20 °C |
| HH 1 | Ambient temperature is over 47 °C |
| HE-i 2 | Internal temperature is over 85 °C |
Error codes
| Temperature Display shows | Condition |
| Er 1 | Temperature sensor open circuit or lower than 0 °C |
| Er 2 | Temperature sensor short circuit or higher than 94 °C |
Specifications
Product code: EH3109W
Supply: 220-240V – 50 Hz
Power: 1500 W
ERP Table
| Item | I Symbol | I Value | I Unit | Item | I Unit |
| Heat Output | Type of heat input for electric storage local space heaters only (select one) | ||||
| Nominal heat output | P nom | 1,2 | kW | Manual heat charge control. with an integrated thermostat. | (no) |
| Nominal heat output (indicative) | P min | 0 | kW | Manual heat charge control with room and/or outdoor temperature feedback. | (no) |
| Maximum continuous heat output | P max.c | 1,2 | kW | Electronic heat charge control with room and/or outdoor temperature feedback. | (no) |
| Auxiliary electricity consumption | Fan-assisted heat output. | (no) | |||
| At nominal heat output | el max | 0 | kW | Type of heat output/room temperature control (select one) | |
| At minimum heat output | el min | 0 | kW | Single-stage heat output and no room temperature control. | (no) |
| 1.1 standby mock | el sb | 0.001 | kW | Two or more manual stages, no room temperature control. | /not |
| With mechanic thermostat room temperature control. | (no) | ||||
| With electronic room temperature. | (no) | ||||
| Electronic room temperature control day timer. | (no) | ||||
| Electronic room temperature control. week timer. | (yes] | ||||
| Other control options (multiple selections possible) | |||||
| Electronic temperature control, with .ence detection. | (yes) | ||||
| Electronic temperature control, with open live detection. | (yes) | ||||
| With distance control option. | (yes) | ||||
| with adaptive start control. | (no) | ||||
| With working time limitation. | (no) | ||||
| With black bulb sensor. | (no) | ||||
Connection to the mains
Please check that the voltage indicated on the product corresponds with your supply voltage.
Important
As the colors in the mains lead of this appliance may not correspond with the colored markings identifying the terminals in your plug, please proceed as follows:
The wires in the mains lead are colored in accordance with the following code:
Blue Neutral (N) Brown Live (L)
FOR UK USE ONLY – Plug fitting details (where applicable).
The wire colored BLUE is the NEUTRAL and must be connected to the terminal marked N
or colored BLACK.
The wire colored BROWN is the LIVE wire and must be connected to the terminal marked L or colored RED.
On no account must either the BROWN or the BLUE wire be connected to the EARTH terminal (
).
Always ensure that the cord grip is fastened correctly.
The plug must be fitted with a fuse of the same rating already fitted and conforming to BS 1362 and be ASTA approved.
If in doubt consult a qualified electrician who will be pleased to do this for you.
Non-rewireable mains plug
If your appliance is supplied with a non-rewireable plug fitted to the mains lead and should the fuse need replacing, you must use an ASTA-approved one (conforming to BS 1362 of the same rating).
If in doubt, consult a qualified electrician who will be pleased to do this for you.
If you need to remove the plug – DISCONNECT IT FROM THE MAINS and then cut it off the mains lead and immediately dispose of it safely. Never attempt to reuse the plug or insert it into a socket outlet as there is a danger of an electric shock.
UP Global Sourcing UK Ltd.,
Victoria Street, Manchester OL9 ODD. UK.
If this product does not reach you in an acceptable condition please contact our Customer Services Department at www.beldray.com
Please have your delivery note to hand as details from it will be required.
If you wish to return this product please return it to the retailer from where it was purchased with your receipt (subject to their terms and conditions).
Guarantee
All products purchased as new carry a manufacturer’s guarantee; the time period of the guarantee will vary dependent upon the product. Where reasonable proof of purchase can be provided, Beldray will provide a standard 12-month guarantee with the retailer from the date of purchase. This is only applicable when products have been used as instructed for their intended, domestic use. Any misuse or dismantling of products will invalidate any guarantee.
Under the guarantee, we undertake to repair or replace free of any charge any parts found to be defective. In the event that we cannot provide an exact replacement, a similar product will be offered or the cost refunded. Any damages from daily wear and tear are not covered by this guarantee, nor are consumables such as plugs, fuses, etc.
Please note that the above terms and conditions may be updated from time to time and we, therefore, recommend that you check these each time you revisit the website.
Nothing in this guarantee or in the instructions relating to this product excludes, restricts, or otherwise affects your statutory rights.
The crossed-out wheelie bin symbol on this item indicates that this appliance needs to be disposed of in an environmentally friendly way when it becomes of no further use or has worn out. Contact your local authority for details of where to take the item for recycling.


*To be eligible for the extended guarantee, go to www.beldray.com and register your product within 30 days of purchase.
Find us on
Due to continual product development, the item may differ slightly from that shown.

Manufactured by:
UP Global Sourcing UK Ltd.,
Victoria Street, Manchester OL9 ODD. UK
www.beldray.com
©Beldray Trademark. All rights reserved.
Please retain instructions for future reference.
Made in China.
CD230519/MD000000/V1





















