Atlantic Color Changing Pond Lights

Introduction
Thank you for purchasing Atlantic Color Changing Lighting. Atlantic’s Lighting features solid brass bodies with an oil-rubbed bronze finish or high-impact plastic housings. These Lights create a vibrant nighttime atmosphere with a near unlimited number of colors with the
InfiColor Smart Module. Multiple fixtures can be connected to a single Smart Module and controlled via mobile application on your Apple or Android device.
Prior to Operation and Installation
Caution:
- DO NOT operate this product under any conditions other than those for which it is specified. Failure to observe these precautions can lead to electrical shock, product failure, or other problems.
- Follow all electrical codes when installing Atlantic Lighting.
- To reduce the risk of electrical shock, connect transformer to a 120 volt receptacle protected by a ground fault circuit interrupter (GFCI).
- Quick-connect plugs are gasketed for outdoor use and must be fully tightened to prevent water infiltration. Quick-connect plugs are not waterproof and should not be submersed.
- Always use dielectric grease on all connections and verify that the lens ring is tightly secured before submersing the fixture.
- Never shorten or cut the cord on Atlantic Color Changing Lights. Removing the driver or cutting/shortening the cord will damage the LED and void the warranty.
- Extension cords (model #CCEXT20) are available to add an additional 20’ of cord to any Light.
- The InfiColor Smart Module is weatherproof, but must be mounted vertically above the ground on a wall or post within reach of a properly grounded GFCI outlet. Do not submerse the Control Module or expose it to heavy rainfall. Failure to do so will void the warranty.
- The InfiColor Smart Module can be connected to an existing 12 volt AC lighting system by cutting and splicing the flat low voltage wire that supplies power to the Module.
- Adapters are included to adapt newer 5-wire lighting components and InfiColor Smart Module to older 6-wire fixtures and control modules. USE ONLY ONE ADAPTER PER ZONE/SEGMENT. COMBINING ADAPTERS WILL DAMAGE SYSTEM. DO NOT USE MORE THAN ONE ADAPTER PER ZONE OR SEGMENT.
COMPACT SPOTLIGHTS – CCCS2 / CCCS4
Installation
Compact Spotlights offer three different mounting options for your convenience:
- Adjustable stand: for placement on rock ledges, under waterfalls or for highlighting streambeds
- Ground stake: for installation around the perimeter of the water feature or in conventional landscape installations
- Nestled: without the stand or stake, amongst the stones and gravel
Proper light placement is important for every project. Whenever possible, lights should be positioned facing away from the viewing area to minimize glare and hot spots. When camouflaging the light cord with rocks and gravel, always leave enough slack in the cord so that the fixture can be raised above water level for servicing.
Maintenance
Replacement diode, gasket and lens kits are available for Compact Spotlights. Unplug the fixture. Loosen the brass lens ring. Remove lens ring, lens and gasket. Carefully remove the diode assembly and replace. Install new silicone gasket and lens and reassemble. Ensure that all components are installed correctly after servicing and the lens ring is tightly secured before submersing the fixture.
LIGHT RING – CCRL5
Installation
The Ring Light is ideal for illuminating bubbling pots, fountains and uplighting waterfalls. The brass body accommodates 11/2” standpipes. With the bushing installed, the hole in the center of the light accommodates 1” standpipes. Simply slide the Ring Light over the standpipe to illuminate the interior of an overflowing vase or fountain. Remove the center bushing to accommodate 11/2” standpipes. The Ring Light’s minimal 1/2” profile makes it ideal for uplighting waterfalls and large trees.
SPOUT LIGHT – CCSL2
Installation
The Spout Light can be installed in the plumbing behind a wall, shining through a Wall Spout (see Figure 1) or under a core-drilled stone or pot (see Figure 2). The light is designed to be installed in any tee that has 1” female threads. If the tee is larger than 1”, a reducing bushing with 1” female threads will be needed. Install the light into the tee, with the light facing the water outlet. Apply Teflon tape, paste or RTV silicone to the threads of the light and thread the light into the fitting. Do not use the cord to twist in the light or allow it to become twisted when tightening. The spout light cannot transmit light through sweeps or around corners. There must be a direct path for the light to be transmitted. The use of rigid PVC plumbing (1” diameter or greater) is highly recommended for the best results.

Maintenance
Replacement diode, gasket and lens kits are available for Spout Lights. Unplug the fixture. Loosen the brass lens ring. Remove lens ring, lens and gasket. Carefully remove the diode assembly and replace. Install new silicone gasket and lens and reassemble. Ensure that all components are installed correctly after servicing and the lens ring is tightly secured before submersing the fixture.

HARDSCAPE LIGHTS – CCHL6 / CCHL12
Installation
Hardscape Lights are designed to be installed into walls and columns, just under capstones. The diode assembly can be replaced without removing the cord or the capstone. The round 18” long cord between the driver and the luminaire cannot be cut, and some accommodation must be made for the driver in most applications. We recommend installing a 1” conduit into the wall to accommodate the cord before installing the fixtures.
When installing the mounting bracket, make sure the stone above the bracket does not rock or pinch the cord. The holes in the bracket serve as glue points to hold the bracket in place.
NOTE: Hardscape Lights are not submersible.
Maintenance
Replacement diode assemblies are available for Hardscape Lights. Remove the screws on the existing light, being careful not to let the diode assembly fall, as this could break the plug connecting the light to the cord. Lower the diode assembly and squeeze the locking clip to separate the plugs. Plug in the new diode assembly, making sure the gasket has not moved or shifted and that the notched edge of the diode assembly fits between the two ridges on the cord gasket. Align the screw holes and hand tighten the screws.
BAR LIGHT – CCBL5
Installation
The Bar Light is a linear light designed to wash walls, falls and spillways with a wide beam angle. Solid brass Bar Light includes dual bases for positioning on any horizontal surface. For other applications, included stainless steel L-brackets may be used to mount Light to any hard surface. Mount the brackets to the light and measure between the holes, center to center. Detach the brackets from the light. Mark where the light is to be mounted and attach the brackets to the mounting surface using an appropriate fastener. Mount the light to the brackets. The mounted Light rotates 30° in either direction for versatility in directing illumination.
FOUNTAIN LIGHT – CCFL2
Installation
Atlantic’s epoxy encased Fountain Light illuminates water inside vases, basalts and bubbling boulders. The PVC body with bottom mounted cord fits inside 11/2” socket fittings and 2” bore holes. Glue the 3/4” slip x 3/4” barbed fitting, included, to attach 3/4” Kink-Free tubing directly to Fountain Light. Without the fitting, the light mounts directly onto 3/4” rigid Sch40 PVC.
WIRING KITS – CCSM30X3
All Color Changing LED lights and wiring components are connected via a quick-connect plug. Color Changing LED Lights will not operate if plugs are aligned incorrectly. The connectors are keyed to ensure the connections line up properly. Color Changing quick-connect plugs carry both AC and DC current to the in-line driver. Moisture entering the connections will allow the AC and DC current to cross which can damage the lighting system.
Quick-connect plugs are gasketed for outdoor use and must be fully tightened to prevent water infiltration. Quick-connect plugs are not waterproof and should not be submersed. Dielectric grease is included and should be used in all connections to eliminate water infiltration.
The CCSM30X3 wiring kit enables up to three Color Changing lights (any models) to be installed together and controlled by a single transformer, Smart Module and App. The transformer must be plugged into a properly grounded GFCI outlet. Please follow the connection diagram below for proper installation.

TRANSFORMERS – TRANS88 / TRANS150
Installation
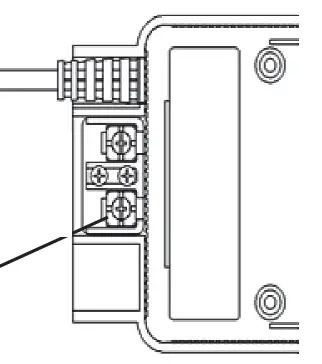
Strip and connect the wires to the outlet power terminals on the back of the transformer. Loosen the screws on the outlet power terminals and slide the wire under the screw plate. Tighten the screws to secure the wire.
Mount the Transformer in the desired location. The Transformer is weather-resistant and must be mounted above the ground on a wall or post.
Ensure that the power cord is within reach of a properly grounded Ground Fault Circuit Interrupter (GFCI) equipped outlet. After all connections to low voltage lights have been completed, plug the input power cord into the 120 volt GFCI outlet to complete installation.
Operation
The TRANS88 and TRANS150 have a control panel featuring a rotary timer control switch, photocell and circuit breaker/reset button.
The circuit breaker will turn off power to the lighting system in case of overload/power surge.
If the circuit is tripped, inspect/repair the lighting system and depress the reset button to restore power. The photocell automatically turns the transformer on when it begins to get dark outside. The photocell does not need to be in direct sunlight; however it must have access to indirect sunlight to operate effectively. The timer switch provides several modes of operation. You can choose OFF, ON, AUTO, 4H, 6H, or 8H.
OFF: Output power is off / system is off
ON: Output power is on / system is on at all times
AUTO: Photo cell will turn the output power on at dusk and off at dawn
4H: Photo cell will turn the output power on at dusk and it will turn off after 4 hours
6H: Photo cell will turn the output power on at dusk and it will turn off after 6 hours
8H: Photo cell will turn the output power on at dusk and it will turn off after 8 hours
INFICOLOR SMART MODULE
Installation
The InfiColor Smart Module is weatherproof, but must be mounted above the ground on a wall or post within reach of a properly grounded GFCI outlet. Do not submerse the Control Module or expose it to heavy rainfall.
- Install the Module in a well-ventilated area to ensure that the module operates within its specified working temperature.
- Verify that the Smart Module input voltage is 12 volt AC. We recommend that you use the transformer provided with this unit.
- Use dielectric grease on all connections and ensure that all cable connections are secure.
- Do not connect the power before the cord connections are finished.
- Do not cut or alter any round cords. Cutting or damaging any round cord will void the warranty.
CONNECTING LIGHTING TO MODULES
All Atlantic Color Changing Lighting is fully forward and backward compatible. Adapters are included to adapt newer 5-wire lighting components and InfiColor Smart Module to older
6-wire fixtures and control modules. The adapters included with the InfiColor Smart Module are for use with older lighting. The adapters included with new lighting components are for use with the older Control Module.
CAUTION: COMBINING ADAPTERS WILL DAMAGE SYSTEM. DO NOT USE MORE THAN ONE ADAPTER PER ZONE OR SEGMENT.
Apply dielectric grease, included with the InfiColor Smart Module and all new lights, to the pins of the plugs on the Module and light cords. Line up the keys; the plugs will only fit one way. Connect the plugs to the adapter and tighten the threaded ring. Complete the tightening process by wiggling the connection and retightening the threaded ring 2-3 times until firmly seated.

HOW TO CALCULATE WATTAGES & MAKE CUSTOM SETUPS
The InfiColor Smart Module provides 40 watts to each of three zones. The zones may be linked and synchronized as desired. Add up the wattage of each light, which can be found in the Catalog, the packaging, the instructions or the website, to find the total wattage of the group. The wattage shown is the highest wattage that the light will draw, rounded up to ensure Smart Module capacity is never exceeded.
There is also a limit to the length of any lighting run. The number of extension cords you can use consecutively depends on the total wattage of the zone.
If your total wattage is:
0-10 watts – 4 extension cords max
10-20 watts – 3 extension cords max
20-30 watts – 2 extension cords max
30-40 watts – 1 extension cord max
INFICOLOR MOBILE APP
To connect your mobile device to the Smart Module, be sure the Module is plugged in and open the InfiColor App. The app should populate your Smart Module on the opening screen. Simply select the Module name. Please note the Module can be connected to one mobile device at a time.
To Configure Zone Names and Timers
Click dropdown menu. Edit the names of the control module outlets or zones on the “Zone Settings” page. These zone names will be visible throughout the app. Each zone has an individual timer function to turn the zone on and off at set times. Click the “Save” button to save changes. A box will come up confirming the settings have been saved. Click the “Back” button once configuration is complete.
Color Tab
Use the Color tab to choose colors for the different zones using either the color picker or the red, green and blue sliders at the bottom. Choose the brightness of the color by adjusting the slider. Select the color for each zone, or select multiple zones to change color at the same time.
Favorites Tab
The Favorites tab stores preset color changing sequences. Select one, two or all three zones. Choose a sequence of colors, then choose the transition between them, the speed of the sequence and the brightness. The Edit button deletes stored Favorites you have created.
Custom tab
The Custom tab creates and stores custom color changing sequences. Move the red, green and blue sliders to choose a color, or select it from the color picker. Once you have decided on the color, click the “Plus” button to add it to the sequence. Repeat as desired. Add up to 10 colors to a sequence. Once the sequence has been created it can be named and saved. The saved sequence will be available on the Favorites page.
Warranty
All Atlantic Color Changing Lighting carries a five-year limited warranty.
All Color Changing Wiring Components carry a five-year limited warranty.
Atlantic TRANS88 and TRANS150 carries a one-year limited warranty.
This limited warranty is extended solely to the original purchaser commencing from the date on the original purchase receipt and is void if any of the following apply:
- Any round cord has been cut or altered.
- The light body/LED components have been misused or abused.
- The light body/LED components have been disassembled or modified other than as described in this manual.
- The Smart Module and quick-connect plugs have not been adequately protected from moisture with dielectric grease.
This warranty excludes labor/cost of labor for removal or installation of any product.
Troubleshooting Guide
Always turn off power before inspecting the Color Changing Lights. Failure to observe this
| Problem | Possible Cause | Possible Solution |
| Lights will not turn on | No input power to the transfomer | Verify power to the outlet is on / Check GFCI reset |
| No outlet power from the transformer | Check the reset button / circuit breaker on the transformer Verify if the transformer is operational by moving the timer to the ON position Use a volt meter to verify transformer is producing 12 volt AC | |
| Photocell malfunction | Cover the photocell with a piece of dark tape to check function | |
| Lights will not turn off | Timer control | Make sure timer control is not set to the ON position |
| Photo cell is covered | Clean sensor and outer clear covering Make sure nothing is shading the sensor | |
| LED color differs from app | Improper connection between LED light and Smart Module | Inspect connections / realign plugs |
| Smart Module failure | Contact Dealer for repair / replacement | |
| Individual lights within a larger system not working / displaying different colors | Improper connection to Splitter / Smart Module | Verify connections are aligned |
| Defective 4-outlet Splitter | Switch positions with a working light on the same Splitter to identify if the splitter is causing the issue. | |
| Loose connection. Moisture or corrosion in connections | Inspect quick-connected plugs for moisture, corrosion or missing gasket. Clean/dry/apply dielectric grease and reassemble. | |
| Failed LED diode assembly | If possible, switch out the diode assembly with one from a working light of the same model to determine if the driver has failed. If driver has failed, replace light. If test diode works, replacement diode assemblies are available. | |
| Smart Module is not responding to app | App is not synced with Smart Module | Reconnect Smart Module through Bluetooth |
| Lights intermittently responding to app | Loose connection. Moisture or corrosion in connections | Inspect quick-connected plugs for moisture or corrosion. Clean/dry/apply dielectric grease and reassemble. |

1.330.274.8317
www.ATLANTIC-OASE.com


























