Honeywell Portable Multiple Gas Detector User Guide
Introduction
The Honeywell BW™ Icon & BW™ Icon+ gas detectors warns of hazardous gas at levels above user-defined alarm set points. The detector can monitor up to four gases at a time. Refer to the Honeywell BW™ Icon User Manual for the full list of gases.
What’s in the Box
- Honeywell BW™ Icon gas detector
- Quick Reference Guide
- Battery (factory-installed)
- Tubing
- USB charger
- 1 Klick Fast stud
- 1 Calibration cap
User Interface
![]() | Alarm One : Shows when alarm one is breached and gas highlighted next to sensor |
![]() | Alarm Two :Shows when alarm two is breached. Alarm two will over write any alarm one status |
![]() | Time Weighted Average : Settable in Safety Suite DC for each toxic sensor |
![]() | Short Term Exposure Limit : Settable in Safety Suite DC for each toxic sensor |
![]() | Bump : Shows when bump is due and you can configure to have a count down |
![]() | Calibration: Shows when bump is due and you can configure to have a count down. |
![]() | Battery status :Shows battery status and when on charge will show charging status |
![]() | Bluetooth :All devices have Bluetooth – double click to enter menu for search mode |
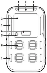
Overview


- LED Alarm
- Intelli Flash
- Display
- Button
- Beeper
- Sensor
- Clip
- Battery
- Charging Port
Contact Us
Europe, Middle East, Africa
Life Safety Distribution GmbH
Toll-Free 00800 333 222 44
Middle East +971 4 450 5800
Middle East +971 4 450 5852
(Portable Gas Detection)
[email protected]
Americas
Honeywell Analytics
Distribution Inc.
Tel: +1 847 955 8200
Toll free: +1 800 538 0363
[email protected]
Asia Pacific
Honeywell Analytics Asia Pacific
Tel: +82 (0) 2 6909 0300
India Tel: +91 124 4752700
[email protected]
Technical Services
EMEA: [email protected]
US: [email protected]
AP: [email protected]

https://www.honeywellanalytics.com/en/products/BW-Solo
Safety Certifications
Ex (IECEx & ATEX):
- IEC60079-0, 2017
- IEC60079-11, 2011-7 Edition 6.0
- IEC61010-1
- II 1G Ex ia I/IIC T4 Ga ( -40°C ≤ Tamb ≤ 60°C )
IP: IEC60529, IP66, IP68
CE (EMC): EN50270,2015 Type 2
CE LVD: EN60950, EN61010
CE (BLE):
- EN300 328
- EN301 489-1
- EN301 489-17
- R&TTE Directive 2014/53/EU
- EN62479, 2010
CE (ROHS): EN50581, 2012
FCC & IC:
47CFR Part 15
ANSI C63
CAUTION
- The detector is a personal safety device. It is your responsibility to respond properly to the alarm.
- For safety reasons, this equipment must be operated and serviced by qualified personnel only.
- The lithium battery in this product presents a risk of fire, explosion, and chemical burn if misused. Do not disassemble, incinerate, or heat above 212°F (100°C). Batteries exposed to heat at 266°F (130°C) for 10 minutes can cause fire and explosion. Batteries must only be charged in a safe area free of hazardous gas.
- Deactivating the detector by removing the battery pack may cause improper operation and harm the detector.
- Use only Honeywell approved battery chargers such as the vehicle Charger.
- Do not use the apparatus if it is damaged. Inspect the apparatus before use. Look for cracks and missing parts.
Common device’s operations

| Power On | 4-second hold |
| Power Off | 4-second hold |
| Enter and exit Menus | Double-press |
| Select Next | Single-press |
| Initiate Selected | 3-second Hold |
| Acknowledge latched alarm | 1-second hold |
Bump Test and Calibration via a Mobile Device
- Turn On the BW Icon. Place the cap over the detector, and then press down on both tabs to snap it into place.

- Attach the hose.

- In your mobile device, open the Device Configuration app

- In your BW Icon:
- Double press to enter the menu
- Single press until the BLE icon
is displayed - Hold press 3 secs to initiate the pairing mode.

- In the Device list screen from the Device Configurator app, select the BW Icon Serial Number to start pairing. The upper LED and the BLE icon will light in green after pairing succeed
- In your Mobile device:
- Tap on the Menu button

- Select Remote Calibration or Bump

- Follow on-screen instructions.
- Tap on the Menu button
- The process is complete when the results are displayed on your mobile device. You can now remove the cap by pulling on the tabs.
IMPORTANT: Read the User Manual for complete information on the BW Icon operation.

































