DOMETIC SP950C Truck Parking Cooler Split System

Please read this instruction manual carefully before installation and first use, and store it in a safe place. If you pass on the product to another person, hand over this instruction manual along with it.
General safety instructions
The manufacturer accepts no liability for damage in the following cases:
- Damage to the product resulting from mechanical influences and incorrect connection voltage
- Alterations to the product without express permission from the manufacturer
- Use for purposes other than those described in the operating manual
NOTICE!
The freedom of movement of semi-trailers (of the outer edges of the semi-trailer when turning or jackknifing) and other vehicle attachments must not be restricted.
NOTE
Observe the safety instructions in the installation manual for the parking cooler.
Scope of delivery
Installation kit for Iveco Stralis Hi-Way Euro 6

Before starting the system, check that all the parts belonging to the scope of delivery are present.
Target group for this manual
The installation information in this manual is only intended for qualified personnel at workshops, who are familiar with the guidelines and safety precautions to be applied during the installation of vehicle accessory parts.
Intended use
The fastening frame is used for installing the condenser unit SP950C or SPX1200C for the parking cooler SP950 or SPX1200, respectively, to the following vehicles: lveco Stralis Hi-Way Euro 6. The fastening frame is attached on the right of the rear cab wall. When fastening the fastening frame, use existing fastening points on the vehicle. You do not need to drill new holes.
Fitting the fastening frame
NOTICE!
Observe the information in the installation manual when fitting the parking cooler.
NOTE
Operating instructions can be found in the operating manual for the parking cooler.
Basic assembly is described in fig.1, page 3:
Fit the fastening frame and the condenser unit at the lveco Stralis Hi-Way Euro 6 as follows:
NOTE
Only install the condenser unit after you have attached the mounting frame on the rear wall of the truck.
- Insert and tighten the four M8 x 35 (8.8) bolts, eight M8 8.4 x 16 mm U washers and four M8 retaining nuts (fig. 1, page 3) in the mounting frame for the con-denser unit.
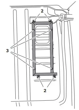
- Remove the two M8 screws from the upper spoiler holder (fig. 2 1, page 4).
- Remove the two dummy plugs beneath the upper spoiler holder from the M8 drill holes.
- Fasten the upper part of the fastening frame on the upper spoiler holder with the M8 x 40 (10.9) screws (fig. 2 1, page 4).
- Fasten the lower part of the fastening frame into the M8 drill holes now available with the M8 x 35 (10.9) screws (fig. 2 2, page 4).
- Put the the four large M8 8.4 x 24 mm U washers as spacer discs onto the pro-truding screws on the fastening frame (fig. 2 2, page 4).
- Place the condenser unit on the projecting bolts of the mounting frame and bolt to the four U washers M8 8.4 x 16 mm and four M8 retaining nuts (fig. 3, page 5).
- Check that all bolts are still tight after travelling approximately 200 km.



Guarantee
The statutory warranty period applies. If the product is defective, please contact the service partner in your country (addresses on the back on the instruction manual). Our experts will be happy to help you and will discuss the warranty process with you in more detail.






















