KVM-tec 4K DP 1.2 Redundant And Uncompressed

INTRODUCTION
Congratulations on the purchase of your new media4Kconnect Special KVM Extender. You have bought a high quality extender. These instructions are part of this product. They contain important information regarding safety, use and disposal for every user of the media4Kconnect Special Extender. Please familiarise yourself with the information within prior to using your product. Use the product only in the manner as described and for the areas of application as stated. Following proper use and maintenance, your media4Kconnect Special KVM Extender will bring you
joy for many years to come.
INTENDED USE
This product is intended as a device for professional use, for transmitting USB and video signals over huge distances. The product may only be used according to the instructions as described in this manual. All use, other than that described in this manual, is seen as unintended use. Modifications in the course of technological progress are reserved. In these user instructions the media4Kconnect Special is referred to as ‘product’ or ‘extender‘. The media4Kconnect Special redundant/uncompressed /PC is referred to as the Local unit/CPU and the media4Kconnect Special redundant/uncompressed/Monitor is referred to as the Remote unit/ CON. RS 232 is fully transparent and is transmitted up to 115200 baud in both directions! Sound analog is transmitted 1:1 in both directions without changing the sound level.
SAFETY INSTRUCTIONS
WARNING! Read and understand all safety instructions
- Follow all the instructions. This will avoid accidents, fire, explosions, electric shocks or other hazards that may result in damage to property and/or severe or fatal injuries. Please ensure that everyone who uses the product has read and followed these warnings and instructions.
- Keep all safety information and instructions for future reference and pass them on to subsequent users of the product.
The manufacturer is not liable for cases of material damage or personal injury caused by incorrect handling or non-compliance with the safety instructions. In such cases, the warranty will be voided. - This product is not intended for use by persons (including children) with restricted physical, sensory or intellectual capability or lack of experience and/or knowledge, unless they are supervised by a person who is responsible for their safety or provides them with instructions on how to use the product.
- Danger! Not for use in potentially explosive environments
- Danger! Be vigilant at all times, and always take care around this product. Do not use electrical equipment if you are lacking in concentration or awareness, or are under the influence of drugs, alcohol or medication. Even a moment of inattentiveness can lead to serious accidents and injuries when using electrical equipment. Check the product and the cables for any damage before use. If there is any visible damage, a strong odour, or excessive overheating of components unplug all the connections immediately and stop using the product
- If the product is not installed and used in accordance with this manual, it may cause disruptive interference with radio or television reception or affect other electronic products in residential areas.
- Prior to connecting to the mains, make sure your local mains voltage matches the rating indicated on the product.
- The product must be connected to a permanent and earthed AC wall socket•
- Protect the cables from tension, crushing and buckling and lay them so that
people cannot trip over them. - Use the device with a suitable, properly installed and easily accessible power outlet.
- Unplug the appliance during lightning storms or when not in use.
- Danger ! Never touch the adapter with wet hands.
- Use the product within the specified performance limits.
- Do not place the product near heaters
- Do not drop or hit the product.
- Unplug all connections before cleaning the product. Do not use wipes or chemicals as these could damage the surface. Wipe the housing with a damp cloth. Electrical/electronic parts must not be cleaned
- Alterations to the product and technical modifications are not permitted
- Use the device with a suitable, properly installed and easily accessible power outlet. The appliance plug serves as a disconnection point.
TECHNICAL SPECIFICATIONS.
- Type: media4Kconnect Special redundant SET media4Kconnect Special uncompressed SET
- Model: media4Kconnect Fiber KVM Extender Power plug input voltage 2 x 12 VDC 2 A
- external Power supply redundant
- supply tolerances DC: +20% / -15%
- Redundant
- Power supply 12 VDC > 2A
- Power requirement 12W without USB devices Operating
- temperature 0 ºC to 45 ºC (32 bis 113 °F)
- Storage temperature −25 ºC bis 80 ºC (-13 to 176 °F) Relative humidity: max. 80% (not condensing)
- Casing material: anodized aluminum
- Dimension: Local (CPU): B104 x H32 x D175 mm/B4.2 x H1.69 x D7.2 4inch, 610g/1.34 lb.
- Weight Remote (CON): B104 x H32 x D175 mm/B4.2 x H1.69 x D7.2 4inch, 620g /1.36lb.
- Shipment weight 3040g/ 6,7 lb.
- Expected product life 82 820 hours / 10 years
PRODUCT ELEMENTS
Remote Extender (CON)
Nr. Name Function
- Audio in Audio in from microphon
- Audio out Audio out to speaker
- RS232 RS232 plug
- DC power supply for 12V/2A
- DC power supply for 12V/2A
- kvm-link link for fiber cable main
- kvm-link link for fiber cable secondary/redundant
- dp out DisplayPort 1.2 out to monitor
- USB USB 2.0 from Keyboard and mouse
- reset Reset button
- Power/Status LED Extender status display
Local Extender (CPU)
Nr. Name Function
- Audio in Audio in from PC
- Audio out Audio out to PC
- RS232 RS232 plug
- DC power supply for 12V/2A
- DC power supply for 12V/2A
- kvm-link link for fiber cable main
- kvm-link link for fiber cable secondary/redundant
- dp in DisplayPort 1.2 in from PC
- USB 2.0 USB 2.0 to PC
- Reset Reset button
- Power/Status LED Extender status display
ABOUT THE STATUS LED
LED Status Update:
| Color | Light display | Autoupdate Mode |
![]() | fast flashing | Update runs |
![]() | shining | Update fails |
![]() | shining | Update Successful |
Bedeutung LED Anzeigen
| Color | Light display | Meaning |
![]() | shining | only network connection available |
![]() | fast flashing | no active connection |
![]() | shining | no videosignal |
![]() | shining | everything works |
A detailed error description can be found in chapter First Aid
EXTENDER INSTALLATION
UNPACKING AND CHECKING THE CONTENT
Before using the product for the first time it should be checked for damage. In case of damage due to transport inform the carrier immediately. Before delivery the product is checked for its function and its operating safety.
- Make sure that the packaging contains the following content:
- 1x media4Kconnect Special redundant/uncompressed /local Extender CPU
- 1x media4Kconnect Special redundant/uncompressed /remote Extender CON
- 2 x 12 VDC 2 A power supply 1 x DP – DP cable 1.8 m/5,9ft 1x USB A-B cable 1.8m/5,9ft
- 8 x mounting feets
- kvm-link 2 x 10GSFP+ installed
- The monitor or television in use has only one HDMI input, no DP.
With HDMI it is important to know that we need HDMI 2.0 for UHD @ 60Hz.
MOUNTING KIT
MOUNTING (OPTIONAL)
Rack Mounting Kit RMK-F
The rack mounting kit RMK-F is for assembling kvm-tec media4Kconnect extenders. It consists of 19“ rack tray and an alu-faceplate.
INSTALLING THE EXTENDER
WARNING! Read and understand all safety information before installing the product.
The units can be set up to access point to point or over a Switching System with a host computer.
In the case of the latter, an additional 10 G Network Switch and a Windows PC or tablet with the Switching Manager must be installed with a Network Switch, each user can gain quick access to any of the required computers.
QUICK INSTALLATION media4Kconnect Special redundant
- Connect the CON/Remote and the CPU/Local Unit with the supplied 12V 2A power supply.
- Now connect the USB cable to a USB socket of your PC and connect the other end of the USB cable to the Local Unit. Connect the keyboard and mouse to the Remote Unit.
- Connect the Local and the Remote Unit with a network fiber cable.
- Connect the DP cable to the DP socket of the PC to the DP socket DP/in of the Local device and connect the screen on the remote side with the DP cable.
- Connect the Audio cable from PC to Local Extender and connect the Audio cable from Remote Extender to Speaker
- Connect the Audio Cable from Microphone to Remote Extender and connect the Audio cable from Local Extender to PC.
- HAVE FUN – Your kvm-tec Extender is now in use for many years (MTBF approx. 10 years)!
- Please note that the recommended length of the display port cable should be max. 1.8m,5.9 ft otherwise interference-free 4K transmission may not be guaranteed.
QUICK INSTALLATION media4Kconnect Special uncompressed
- Connect the CON/Remote and the CPU/Local Unit with the supplied 12V 2A power supply.
- Now connect the USB cable to a USB socket of your PC and connect the other end of the USB cable to the Local Unit. Connect the keyboard and mouse to the Remote Unit.
- Connect the Local and the Remote Unit with a network fiber cable.
- Connect the DP cable to the DP socket of the PC to the DP socket DP/in of the Local device and connect the screen on the remote side with the DP cable.
- Connect the Audio cable from PC to Local Extender and connect the Audio cable from Remote Extender to Speaker
- Connect the Audio Cable from Microphone to Remote Extender and connect the Audio cable from Local Exten-der to PC.
- HAVE FUN – Your kvm-tec Extender is now in use for many years (MTBF approx. 10 years)!
- Please note that the recommended length of the display port cable should be max. 1.8m,5.9 ft otherwise interference-free 4K transmission may not be guaranteed.
MEDIA4KCONNECT IN THE MATRIX VARIO SYSTEM
STARTUP
To start up the system:
- Make sure that monitor and computer are switched on.
- If you are using a Network Switch, connect the power cable to an earthed wall socket.
- Connect both extender power cables ( 6 / 20 ) to an earthed wall socket. Switch on both units. Both extenders start an initialization process. The status LED blinks some seconds red and changes to green after a successful connection The monitor will displays your computer’s desktop or any open applications.
REPLACING THE SFP MODULE
- The Media4K is delivered with a multimode SFP + module.
- To replace an SFP module with a different SFP+ module:
- Remove the black dust protector from the SFP+ module.
- Pull the metal latch of the SFP+ module forwards until it is at a right angle.
- Replace the SFP+ module with the other module. Put the metal latch back in position. Only use SFP+ modules from kvm-tec, or recommended by KVM-tec.

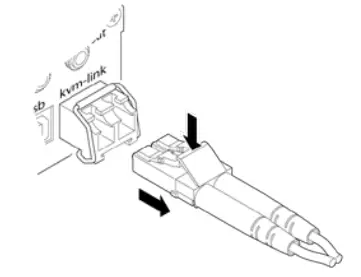
REMOVING A FIBER CABLE
To remove a fiber cable:
- Press the latch down and slowly pull the cable out.

BEST PRACTICE FOR WINDOWS 10
Disable USB Energy Savings in Windows 10


USING ON-SCREEN MENU
Use the monitor and keyboard to access the main menu. Access to the main menu
- Make sure that the extenders, monitors, and computer are turned on
- Press the Scroll Lock button five times one after the other. The main menu and the overview of the submenus are displayed.
- To access a submenu, press the corresponding key or navigate with the arrow keys up and down to the corresponding line and then press Enter key.

In the main menu you can make the following settings by selecting the corresponding letters:
Press
- S System status menu system status/ current status
- F Features Menu activated features
- U Update update firmware
- G Settings settings
SYSTEM STATUS
By pressing the „S“ key or by selecting the arrow keys, you access the status menu, where you will find information about hardware and software versions, as well as the activated upgrades The menu displays information about the connection, the resolution of the video channel and the USB status. The current Firmware version is displayed in the upper left corner. The link status indicates whether a connection is possible. Video and USB display data transfer status
FEATURES MENU
Pressing the „F“ key or selecting the arrow keys will take you to the features menu, where you can operate the activated features. go to chapter 4 FEATURES
UPDATE MENU
Display of firmware version By pressing the „U“ key or by selecting the arrow keys, you reach the update menu, in which the firmware of the Extender will be displayed and can be updated.
- The current version of the firmware can be downloaded at http://www.kvm-tec.com/support. Each update file contains a detailed description of the update process. For further information please refer to the update chapter
- Connect the USB stick to the CON (REMOTE) unit (wait a few seconds until the USB stick is connected to the CON unit).
- Open the update menu with the „U“ key.
- Press „S“ to display this file
- The firmware is displayed with „Configuration found“
- Press „ U“ to start the update on the Remote (CON) Unit


SCREEN „ Update“
The UPDATE process is now started and takes place in two steps:
- Erasing flash: erases the memory
- Updating: the new version is installed
SETTINGS
By pressing the „G“ key or selecting the arrow keys you will have access to the Settings menu, where you can access all Extender settings.
DEFINING WHAT DDC DATA YOUR PC USES
Definition of the DDC information used in the PC:
- Make sure that the main menu is open ( 5 x scroll)
- Press the O to display the DDC-option menu
- Press 1 to display the DDC information of the monitor connected to the remote (CON)
- The Extender is connected. The DDC information is automatically saved
- Press 2 for a fix resolution of 1920 x 1080
- Press 3 for a fix resolution of 2560 x 1440
- Press 4 for a fixed resolution of 3840 x 2160
- Press ESC to return to the main menu

SCREEN „DDC/EDID Settings“
SELECT KEYBOARD LAYOUT
In the Keyboard Layout menu you can switch between the keyboard layouts with which you can navigate the on screen display menu (OSD).
Press ENTER for slecting DE, EN or FR keyboard for selecting Englisch (QWERTY).
KEYBOARD SHORTCUTS
- By pressing the „S“ key or by selecting the arrow keys you will access the Keyboard Shortcuts menu.
- If you want to change one of the shortcuts, you have to press the letter specified for the shortcut.
- Now you can press any key or key combination.
- (Please note that only a key combination with the keys 1 or F1 is possible with point F.)
- Use the arrow keys to determine the number of keystrokes required to trigger the shortcut.
- Then confirm with Enter.

- SCREEN „Keyboard shortcuts“
KEYBOARD FALLBACK MODE
To use the OSD menu, the keyboard on the remote device must be identified.
For most keyboards, use the 0 settings.
When using a USB, some mice act like a keyboard. In this case, select fallback mode 1 or 2.
MOUSE SETTINGS
By pressing the „M“ button or by selecting the arrow buttons, you enter the Mouse Settings menu.
With the M button, you will open the Mouse Settings where you can adjust the speed of the mouse with the arrow keys.
SCREEN „Mouse Settings“
MANAGING LOCAL SETTINGS
- By pressing the L key, or by selecting the arrow keys, you can access the Menu Local Settings
- Press the L key to open the Local Settings.
- Here you will find the Remote Wakeup setting.

VIDEO SYNC SETTINGS
- Pressing the „V“ button or selecting the arrow buttons selects the Video Sync Settings menu.

This feature can be used to determine the control loop for video synchronization. The following modes can be used:
- HARD – key „H“ Rapid rate of regulation
- MEDIUM – „M“ button Mean rate of regulation
- SMOOTH – „S“ button Slow speed of regulation
MONITOR POWER SAVE MODE
Power saving mode: The monitor turns off when no video signal is transmitted
SCREEN „Monitor Power save mode“
FEATURES
- Pressing the „F“ key or selecting the arrow keys, you will access the FEATURES menu, where you can select all the functions and features.
- P- Point to point Mode (direct connection)
- S- Matrix Switching Mode (only with switching manager)
- E-USB Emulation Mode
- U- USB save feature (mass storage usable)
- V- Uncompressed mode
- M-Unlock Features – redundant or uncompressed for Switching Systems

SCREEN Menü FEATURES
- POINT TO POINT
- Pressing „P“ takes you to the point to point configuration. By default the Remote is directly connected to the Local.
MATRIX SWITCHING SYSTEM
Pressing „S“ takes you to the Matrix Switching System configuration.
If this function is active, the Multiview Commander and Mouse Glide functions are controlled via the Switching Manager software (see Switching Manager manual).
All functions of the switching system can be controlled via the Switching Manager software can be operated. With this link you can download the Switching Manager Software Manual downloaden: www.kvm-tec.com/en/support/manualsr
USB EMULATION MODE
When this mode is set, the local extender emulates a keyboard and mouse always connected to the PC. The result is switching from one PC to another PC without any switching delay. Emulation Mode is restricted to mouse and keyboard only.
USB SAVE FEATURE
Press „U“ to go to the USB SAVE FEATURE configuration. With the activation, the intrusion of computer viruses can be prevented via USB- mass storage can be prevented. Data from a connected USB mass storage device cannot then be accessed.
MOUSE GLIDE & SWITCH
Multiple media4Kconnect extenders can be configured to automatically switch the USB operation of each computer and follow the mouse movement. Up to 8 monitors can be configured both vertically and horizontally. You can change the existing layout by pressing the T key and the F key can be used to search for extenders that are not displayed. Press the C key to reset all settings. Press the A key to apply all settings made.
UNCOMPRESSED MODE
By pressing „V“ you can activate and deactivate the Uncompressed Mode. Once enabled, the KVM Extender transmits up to 4K resolution uncompressed and in 10bit color depth.
Please note that for this mode you need two 10G fiber optic lines between the Remote and the Local Unit!
UNLOCK FEATURES REDUNDANT OR
UNCOMPRESSED FOR SWITCHING SYSTEMS
- In this menu you can also enable the „Uncompressed“ and „Redundancy“ feature after purchasing your 4k KVM Extender.
- Order the unlock code for the desired feature from your supplier by providing the device ID and serial number of the 4k KVM Extender.
- By entering the unlock code you unlock the desired feature. Activate the desired feature after unlocking in the Features menu.

MAINTENANCE & CARE
MAINTENANCE AND CARE
EXTENDER CARE
Caution! Do not use solvent-containing cleansers. Do not use wipes, alcohols (e.g. spiritus) or chemicals as these could damage the surface.
DISPOSAL
This symbol on the product, the accessories or packaging indicates that this product must not be treated as unsorted municipal waste, but must be collected separately! Dispose of the product via a collection point for the recycling of waste electrical and electronic equipment within the EU and in other European countries that operate separate collection systems for waste electrical and electronic equipment. By disposing of the product in the proper manner, you help to avoid possible hazards for the environment and public health that could otherwise be caused by improper treatment of waste equipment. The recycling of materials contributes to the conservation of natural resources. Therefore do not dispose of your old electrical and electronic equipment with the unsorted municipal waste. The packaging is made of environmentally friendly materials, which may be disposed through your local recycling facilities. By disposing of the packaging and packaging waste in the proper manner, you help to avoid possible hazards for the environment and public health.
SUPPORT & FIRST AID
smart connection
- KVM-tec Supportkvm-tec Support
- support@kvm-tec.[email protected]
- Phone: +43 2253 81912 – 30Phone: +43 2253 81912 – 30
- We are here for you to answer your questions about the installation.
- Manual download www.kvm-tec.com or KVM-tec Installationchannel on our homepage
| Error | Cause | solution |
| LED is not lighting | The devices get no power | Is the power supply connected?Ne start device |
| LED is lighting | No connection | Check if the RJ45/network cable is connected well. |
| in red | between Loc and Rem | (Clicking noise when plugging in) Control both, if it does not work please send an e-mail to |
| [email protected] or phone +42 2253 81912 | ||
| LED is lighting | No picture on the | Check if the local (PC) cable is connected well. |
| in orange | monitor | Check if the remote (monitor) cable is connected well. |
| If everything is connected well but no function appears, | ||
| reconnect power supply again. | ||
| If the menu is visible, press the O key and choose the | ||
| resolution of the monitor. Then press the assigned | ||
| number on your keyboard. | ||
| LED is lighting in green | Screen occurs but the keyboard is not working | Plug out/in USB of keyboard and wait until driver is installed (after few seconds). Check all USB connections on both sides (Local and Remote) If it is still not working, plug out/in USB once more |
| LED is lighting | The screen | Install current fi firmware from our homepage http://www.kvm-tec.com/support |
| in green | flikers, | |
| has an incorrect | ||
| display |
CABLE REQUIREMENTS
REQUIREMENTS FIBER CABLE
MULTI-MODE (STANDARD)
- A multi-mode fiber cable should meet the following requirements
- The maximum length should be 300 m (984ft). The media4Kconnect is equipped with a multimode – SFP+ module, which allows a transmission distance of up to 300 m /984ft
- Dedicated fiber optic connection cable type OM4 Duplex Multimode with LC plug
SWITCH SPECIFICATION
REQUIREMENTS NETWORK SWITCH
The entire switching network system requires its own separate network. For security reasons, it cannot be integrated into an existing corporate network.
The network switch must meet the following specifications:
Full HD: 1Gigabit Switch
4K: 10Gigabit Switch
Network requirements Matrix System UDP Version The KVM-TEC Matrix Switching System communicates via IP between the individual endpoints (local/CPU or remote/CON), as well as with the KVM-TEC Swit-ching Manager, Gateway2Go and API. Sharing of videos is realized via the IGMP function of the switch via multicast. Each endpoint joins a multicast group, even if only one connection is established. This process is repeated cyclically so that the switch keeps the multicast group active. One exception is the Gateway2Go, which uses unicast and communicates via UDP just like the other devices. The following UDP ports are required for the transmission: Port Number 53248 (0xD000) to 53260 (0xD00C) and Port Number 50000 (0xC350) These ports must be taken into account when configuring the firewall. For the connection via WAN a secured VPN connection is necessary. The KVM-TEC Matrix system supports DHCP management of IP addresses, static IP addresses are possible, internal default address range and assignment of IP addresses via a DHCP server. To meet all these requirements, the use of Layer 3 switches is recommended.
SWITCHES
For information on switches, please contact our sales team at s[email protected] or our support at [email protected]
WARRANTY
WARRANTY
The warranty period is 24 months from the date of purchase. The warranty expires in case of:
- External effort
- improper maintenance
- Violation of the operating instructions
- lightning damage
- Please, contact us first before returning the product.
EXTENDED WARRANTY
- 2 years standard warranty
- Art Nr 9003 warranty extension to 5 years per Set
- Art Nr 9002 warranty extension to 5 years per Unit
ADDRESS & PHONE / EMAILS
ADDRESS & PHONE/EMAIL
If you have any questions about our products, please contact kvm-tec or your dealer.
- KVM-tec electronic gmbh
- Gewerbepark Mitterfeld 1A
- 2523 Tattendorf
- Austria
- Phone: 0043 (0) 2253 81 912
- Fax: 0043 (0) 2253 81 912 99
- Email: [email protected]
- Web: www.kvm-tec.com
- Find our newest updates and FAQs on our homepage:
- KVM-tec Inc. USA Sales p+1 213 631 3663 & +43 225381912-22 email: [email protected]
- KVM-tec ASIA-PACIFIC Sales p +9173573 20204 email: [email protected]
- KVM-tec China Sales – P + 86 1360 122 8145 email: [email protected]
- Misprints, errors and technical changes reserved Misprints, errors and technical changes reserved

































