
User Manual
Air Sampler PCE-AS1

Safety notes
Please read this manual carefully and completely before you use the device for the first time. The device may only be used by qualified personnel and repaired by PCE Instruments personnel.
Damage or injuries caused by non-observance of the manual are excluded from our liability and not covered by our warranty.
- The device must only be used as described in this instruction manual. If used otherwise, this can cause dangerous situations for the user and damage to the meter.
- The instrument may only be used if the environmental conditions (temperature, relative humidity, …) are within the ranges stated in the technical specifications. Do not expose the device to extreme temperatures, direct sunlight, extreme humidity, or moisture.
- Do not expose the device to shocks or strong vibrations.
- The case should only be opened by qualified PCE Instruments personnel.
- Never use the instrument when your hands are wet.
- You must not make any technical changes to the device.
- The appliance should only be cleaned with a damp cloth. Use only pH-neutral cleaner, no abrasives or solvents.
- The device must only be used with accessories from PCE Instruments or equivalent.
- Before each use, inspect the case for visible damage. If any damage is visible, do not use the device.
- Do not use the instrument in explosive atmospheres.
- The measurement range as stated in the specifications must not be exceeded under any circumstances.
- Non-observance of the safety notes can cause damage to the device and injuries to the user.
We do not assume liability for printing errors or any other mistakes in this manual.
We expressly point to our general guarantee terms which can be found in our general terms of business.
If you have any questions please contact PCE Instruments. The contact details can be found at the end of this manual.
Applications
- Pharmaceutical industry :
Monitoring the number of microorganisms under the laminar flow hood;
Analysis of the cleanliness of a cleanroom;
Testing the effectiveness of sterilization. - Food and beverage industry :
Detection of microbial contamination in cleanrooms according to the HACCP concept. - Hospitals :
Detection of pathogenic microorganisms in operating theatres, as well as in the pharmacy, storeroom or ICU. - Electrical industry :
Measuring particles and micro-bacterial contamination in clean rooms.
Features
- ISO/DIS 14698-1 ;
- Reliable air sampling design, the sampling head has up to 300 0.6mm micropores (standard for 1001/ min sampling flow sampler) or 300 0.8mm micropores (standard for 2001/ min sampling flow sampler), so that the collected microorganisms can be evenly distributed on the surface of the culture medium, reducing the overlap of dust bacteria and improving the accuracy rate;
- With real-time flow monitoring, automatic adjustment of sampling flow rate to ensure the accuracy of sampling volume.
- High-definition LCD touch screen, rich display content, user-friendly menu settings, simple and intuitive operation;
- The starting time and sampling quantity of the automatic air sampler can be set directly through the operation panel ;
- The sampler can be controlled by Bluetooth function on a mobile phone ;
NOTE: An App is NOT available! - The calibration operation is simple and the flow can be calibrated by adjusting the power of the sampling fan directly through the menu options ;
- Fully automatic cycle sampling function can achieve up to 99 continuous sampling times within 100 hours ;
- It is easy to realize the traceability of equipment operation. It can automatically record 4000 groups of sampling data (including the set sampling location number, sampling group number, sampling quantity, and sampling time) and query the sampling record data at any time ;
- Built-in high-capacity rechargeable lithium battery, precise display of battery power, the battery can work continuously for more than 15 hours when fully charged ;
- Intelligent charging mode, in order to effectively extend the service life of the battery and to realize long-term continuous sampling of the equipment, can be connected to the power charger all the time during operation ;
- The shell of the whole machine is made of high-quality aviation aluminum, and the sampling head can be used for steam sterilization or 75% alcohol wiping sterilization ;
- The standard universal culture dish is 90 x 13 – 15mm, without expensive special consumables ;
Specifications
| Micropores in the sampling head | 300 |
| The pore size of the sampling head | 0.6/0.8 (mm) |
| Sampling flow | 100/200 (1/min) |
| Cross-section velocity of the sampling port | 0.38 (m/s) (valid under laboratory conditions) |
| Sampling volume | 10-6000 (I) set freely (In 101) |
| Suitable culture dish | 90×13-15mm standard culture dish |
| Display | Touch panel, high resolution 800×480 |
| Bluetooth (remote control) | NOTE: An App is NOT available! |
| Audio alarm | Yes |
| Procedure cycle sampling | Up to 99 continuous sampling times within 100 hours |
| Sampling parameter setting | 99 groups and 30 points |
| Recording function | 4000 sets of sampling data records |
| Battery | 7.4 V 6400 mA |
| Charging power supply | AC 110-240 V 50/60 Hz transfer to DC 8.4 V |
| Standard | ISO 14698-1 |
| Tripod | With standard photography tripod thread |
| Operating conditions | Temperature : 0-60 °C ; Relative humidity : 0-90 % |
| Dimensions | approx. 120 x 300 mm |
| Weight | approx. 2.6 kg |
Delivery contents

1 x Air Sampler PCE-AS1
1 x Calibration attachment
1 x Mains power adaptor
1 x Carrying case
1 x Instruction manual
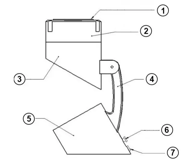
Device description

- Cover of the collecting head
- Specimen mount
- Pump
- Collecting headstand
- Control panel with touch screen
- Power supply
- On / off switch

Operating instructions
Key description

As shown in the figure above, the contents displayed in each labeled area are in accordance with the following rules:
- Current date
- The current time is displayed in the non-sampling mode, and the remaining sampling time is displayed when sampling.
- Bluetooth connection status, color means connected, gray means not connected.
- When the buzzer is on, no diagonal line means on and a diagonal line indicates off.
- Current battery power, the range is 1-10 bars.
- Four quick setting touch buttons and the horizontal line under the number indicate that the value is modifiable.
- Modify the selected value (number with a horizontal line), up arrow for increase, down arrow for decrease.
- Main menu function keys

| Icon | Function |
| Bluetooth and buzzer status | |
| Press to set the group, range: 0-99 | |
| Press to set the time delay, range: 0-99 | |
| Press to set the location, range: 0-29 | |
| Press to set the sampling amount, range: 0-60001(1n 101) | |
| Adjust the selected setting options. When a setting item is selected, the key is valid. | |
| Enter the setting menu of the instrument and set the corresponding parameters in the corresponding interface. | |
| Start sampling according to the set parameters. (In order to prevent accidental touch during the sampling process, only the stop key on the touch screen is effective). | |
| Stops the current sampling. This key is only valid when the device is sampling. | |
| Enter to view the sampling data. |

As shown in the first figure, select the month, year, and day box to be adjusted and then you can modify it by using the up and down keys. The upper row is the start date of the data to be viewed and the lower row will automatically show the current date when entering the menu and can also be modified.
After the date is selected, press “VIEW” to view the sampling data in the corresponding time period, as shown in the second picture. If you press the HOME button, you will return to the home page.
In the data display menu, each page can display up to five groups of sampling data. You can press the up and down keys to turn the page. You can view the first 100 groups of sampling data within the selected time range directly on the instrument at once. If you need to view other data, you can set different viewing time periods for data viewing.

Press the key corresponding to the year, month, day, hour, minute, and second to select the corresponding parameter to be modified. When the parameter is selected, it can be modified by using the up and down keys on the right.
If the modified parameters need to be saved, press the SAVE button. If you do not need to save them, you can press the HOME button to return to the home page or press the up and down page button to turn to the setting interface of other parameters.

Go to the second menu. Press the Del key in the second menu to delete all the saved sampling data. Please operate with caution! If you do not want to delete the data, you can press the HOME button to return to the main interface.
Flow calibration (password required) interface description
This menu is intended for trained personnel only.

In the flow calibration menu, press the corresponding password box to select it and then enter the corresponding password by using the up and down buttons to the right. When the password is correct, press the CONFIRM key to enter the flow calibration menu, as shown in the second figure. When entering the flow calibration menu, the sampling pump is automatically started. Press the CALIBRATION button to select the flow parameters. After selection, the corresponding values can be modified by means of the up and down buttons. When the flow setting reaches the standard value, press the SAVE button to save the current flow calibration value and then return to the main menu. If you press the home page, you will not save the modified parameters and return to the main interface.
Setting range of calibration parameters: 0-499.

After setting the single sampling quantity, sampling times, and sampling interval, press the START button to start program sampling. The grouping, location, and delay of program sampling are saved by calling up the corresponding parameters of standard sampling directly. The total number of samples will be displayed in the data in the next row after setting the values of the single sampling amount and sampling number.
After pressing START, the sampling delay is carried out first. After the delay is completed, a single sampling is started and the sample size is equal to the set single sampling amount. After the sampling of a single sampling quantity is completed, the sampling times will be automatically reduced by 1 and the sampling will stop. At the same time, the countdown of the sampling interval starts. When the countdown of the sampling interval changes to 0, a single sampling is started again.
Do this until the STOP button is pressed or the sampling number becomes 0.
Setting range of single sampling quantity: 10-3000 (minimum setting amount: 10)
Setting range of total sampling times: 0-99
Sampling interval setting range:0-99
Note 1
The value of single sampling amount * total sampling times should be less than 6000. If it is higher than 6000, the set modification parameters will automatically change to the corresponding minimum setting value.
Note 2
The total estimated time should be less than 99:59:59. If it is higher than this value, the set modification parameter will automatically change to the corresponding minimum setting value.
Description of language setting

Press the Chinese or English key to select the corresponding language. After the selection, press the SAVE button to save the selected language and go back to the main interface. By pressing the HOME button, you will directly return to the main interface and the set language has not been saved.
Maintenance and precautionary measures
- Do not perform sampling with toxic corrosive gas. The device is also not intended for use in acidic alkaline environments. It is not allowed in areas where there is fine dust
exceeding 0.3 mg/m³. - Do not press the SAMPLE button before covering because the pump can overheat and be destroyed.
- Completely charge the battery before each use to prevent damage.
- When the Petri dish is inserted, it should be placed solidly on the specimen mount.
- After each use, the collecting head and top should be cleaned with 75 % alcohol. Then the cover must be placed back on the collecting headset.
Troubleshooting
| Problem | Possible reason | Solution |
| The display does not switch on / remain dark even though the „On / Off” key is pressed. | 1. Battery low 2. Fuse faulty | 1. Connect the charger. 2. Open the lower part of the device and insert a new fuse. |
| The pump does not work when the „Sample” key is pressed. | 1. Cable in the handle is loose or broken 2. Pump output failed 3. Pump faulty | 1. Connect the cables in the grid correctly. 2. Restore the pump output. 3. Replace the pump. |
| The flow rate is too low. | 1. Battery low 2. Holes in the collecting head are partly or fully clogged. 3. Dish excessively covered with medium | 1. Connect the charger. 2. Clean the clogged holes in the collecting head. 3. Spread the medium evenly. |
| After starting the device, the display shows something but no clear letters or numbers or display indicates that some individual keys do not work. | The internal computer of the sampler has detected a fault. | Use the key at the back to turn off the meter. Wait 5 seconds until you switch it back on. All parameters will be reset. |
Warranty
You can read our warranty terms in our General Business Terms which you can find here: https://www.pce-instruments.com/english/terms.
Disposal
For the disposal of batteries in the EU, the 2006/66/EC directive of the European Parliament applies. Due to the contained pollutants, batteries must not be disposed of as household waste. They must be given to collection points designed for that purpose.
In order to comply with the EU directive 2012/19/EU, we take our devices back. We either re-use them or give them to a recycling company that disposes of the devices in line with the law.
For countries outside the EU, batteries, and devices should be disposed of in accordance with your local waste regulations.
If you have any questions, please contact PCE Instruments.
![]()

PCE Instruments contact information
| Germany PCE Deutschland GmbH Im Langel 4 D-59872 Meschede Deutschland Tel.: +49 (0) 2903 976 99 0 Fax: +49 (0) 2903 976 99 29 [email protected] www.pce-instruments.com/deutsch | France PCE Instruments France EURL 23, rue de Strasbourg 67250 Soultz-Sous-Forets France Téléphone: +33 (0) 972 3537 17 Numéro de fax: +33 (0) 972 3537 18 [email protected] www.pce-instruments.com/french | Spain PCE Ibérica S.L. Calle Mayor, 53 02500 Tobarra (Albacete) España Tel. : +34 967 543 548 Fax: +34 967 543 542 [email protected] www.pce-instruments.com/espanol |
| United Kingdom PCE Instruments UK Ltd Unit 11 Southpoint Business Park Ensign Way, Southampton Hampshire United Kingdom, SO31 4RF Tel: +44 (0) 2380 98703 0 Fax: +44 (0) 2380 98703 9 [email protected] www.pce-instruments.com/english | Italy PCE Italia s.r.l. Via Pesciatina 878 / B-Interno 6 55010 Loc. Gragnano Capannori (Lucca) Italia Telefono: +39 0583 975 114 Fax: +39 0583 974 824 [email protected] www.pce-instruments.com/italiano | Turkey PCE Teknik Cihazları Ltd.Şti. Halkalı Merkez Mah. Pehlivan Sok. No.6/C 34303 Küçükçekmece – İstanbul Türkiye Tel: 0212 471 11 47 Faks: 0212 705 53 93 [email protected] www.pce-instruments.com/turkish |
| The Netherlands PCE Brookhuis B.V. Institutenweg 15 7521 PH Enschede Nederland Telefoon: +31 (0)53 737 01 92 [email protected] www.pce-instruments.com/dutch | Hong Kong PCE Instruments HK Ltd. Unit J, 21/F., COS Centre 56 Tsun Yip Street Kwun Tong Kowloon, Hong Kong Tel: +852-301-84912 [email protected] www.pce-instruments.cn | United States of America PCE Americas Inc. 1201 Jupiter Park Drive, Suite 8 Jupiter / Palm Beach 33458 FL USA Tel: +1 (561) 320-9162 Fax: +1 (561) 320-9176 [email protected] |

http://www.pce-instruments.com
product search on: www.pce-instruments.com
Last change: 16 July 2021
v1.0
© PCE Instruments

















