Paul Neuhaus Q-ARKTIS, LED-Deckenleuchte,Ø 44cm, bunt, Smart Home

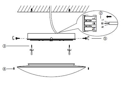
Fitting instructions

Fitting

Electrical connection

Teach remote control

Reset








Download manual
Here you can download full pdf version of manual, it may contain additional safety instructions, warranty information, FCC rules, etc.