SNAIGE RF31NG Freestanding Refrigerator – Freezer

DEAR CUSTOMER!
Some provisions in this user manual are unified for refrigerating products of different types (for a refrigerator, refrigerator-freezer or freezer). CAREFULLY READ THE INSTRUCTION MANUAL.
The Manufacturer shall not be held liable for damage arising from the failure to observe the instructions contained in this manual.
Keep this manual for future reference, or to pass it over to the next user.
General information
The appliance is a two-compartment refrigerator-freezer combination and is intended to be used in households and similar applications.
The refrigerator compartment is designed for the brief storage of fresh food. The freezer compartment is designed for the freezing and long-term storage of food products. There is a frost-free freezing system (No Frost)
For RF36NG, RF34NG: in the refrigerator compartment is the cold section. A temperature of -2 to +3 °C is maintained in the cold section which is suitable for short-term storage of meat, fish, and similar products.
CE conformity. At the time of its market launch, this appliance complies with the requirements stipulated in the guidelines of the council for the harmonization of the legal provisions of the member states on electromagnetic compatibility Directive 2014/30 / EU and on the use of electrical equipment within certain voltage limits Directive 2014/35 / EU. This appliance is marked with the CE mark and has a declaration of conformity for inspection by the responsible market surveillance authorities.
GUIDELINES CONCERNING THE SAFETY OF USE
General safety requirements:
- WARNING: Keep ventilation openings, in the appliance enclosure or in the built-in structure, clear of obstruction.
- WARNING: Do not use mechanical devices or other means to accelerate the defrosting process, other than those recommended by the manufacturer.
- WARNING: Do not use electrical appliances inside the food storage compartments of the appliance, unless they are of the type recommended by the manufacturer.
- WARNING: When positioning the appliance, ensure the supply cord is not trapped or damaged.
- WARNING: Do not locate multiple portable socket outlets or portable power supplies at the rear of the appliance.
- WARNING: Disposal of the appliance should be according to national rules.
- WARNING: Do not damage the appliance refrigeration system. It contains the refrigerant gas R600a. If the refrigeration system is damaged:
- Do not use any open flame.
- Avoid sparks-do not turn on any electrical appliances or lighting fixtures.
- Immediately ventilate the room: air the room in which the appliance is placed for a few minutes (the size of the room for a product containing isobuthane / R600a must be at least 4 m3) to avoid damage to the cooling system.
C- Pentane is used as blowing agent in the insulation foam and it is a flammable gas.- This appliance is not designed for the storage of explosive substances such as aerosol cans with a flammable propellant.
- It is prohibited to store petrol and other flammable liquids near the appliance.
- The appliance should be used only for storing foodstuffs.
Children and vulnerable people safety
- Do not allow children to play with the appliance or to plug it in or unplug from the electricity supply socket. Do not allow children to play with the packaging material from the appliance.
- This appliance can be used by children aged from 8 years and above and persons with reduced physical, sensory or mental capabilities or lack of experience and knowledge if they have been given supervision or instruction concerning use of the appliance in a safe way and understand the hazards involved.
- Cleaning and user maintenance shall not be made by children without supervision.
- Children aged from 3 to 8 years are allowed to load and unload refrigerating appliances.
Requirements for the connection to the mains:
- The appliance should only be connected to an earthed socket installed in accordance with the regulations. Make sure that the supply voltage corresponds with the voltage marked on the rating label. This product complies with all binding CE labelling directives. The earthed electrical socket by which the appliance is connected to the mains should be in an accessible place. It is a legal requirement that the appliance is properly earthed. The manufacturer will not be held liable for any damage or injury which may result from the failure to fulfil this requirement.
- To avoid the exposure to danger, always have faulty cable be replaced only by the manufacturer, by our customer service or by qualified person and with a cable of the same type.
- It is forbidden to readjust or modify any parts of the unit. It is crucial not to damage the capillary tube visible in the compressor recess. The tube may not be bent, straightened or wound. If the capillary tube is damaged by the user the guarantee will be void.
- Do not use adapters, multiple sockets and two-wire extension leads. If it is necessary to use the extension lead, it must be equipped with a protection ring and a single socket and must have a VDE/GS safety certificate. If an extension lead is used (with a protection ring and safety certificate), its socket must be located at a safe distance, away from the sinks, and must not be in a place where it could be flooded by water or waste water.
- The frequency and power of the electricity supply in your house must conform to the general data parameters of the appliance as it is shown in the product label.
- When positioning the appliance, be careful that the electrical cord isn’t squeezed in order to avoid its damage. Do not store heavy objects such as cooling devices or other devices next the appliance in such a way that they could squeeze and damage the electrical cord. This can cause a short circuit and a fire.
- Make sure that the plug of the electrical cord is not squeezed by the back wall of the appliance or otherwise damaged. A damaged plug can be the cause of a fire!
CAUTION! If the installed interior lighting or the advertising panel’s light-emitting diode (LED) lamp for the cooling device is not functioning, contact the maintenance and repair representative for replacements. Lamps can be replaced only by the maintenance and repair representative
Do not try repair the appliance on your own. Always contact an authorized technician. To avoid the exposure to danger, always have faulty cable be replaced only by the manufacturer, by our customer service or by qualified person whit a cable of same type.
Requirements for safe use:
- It is forbidden to use a technically damaged appliance.
- If the appliance is unplugged (for cleaning, moving to another place, etc.), it may be repeatedly switched on after 15 min.
- When performing activities, such as cleaning, maintenance or moving, the appliance must be completely disconnected from power supply (by pulling the plug out from the socket). Do not pull on the cord, but hold the body of the plug instead.
- Do not set up the device outdoors.
- In an emergency, pull the power plug out of the socket immediately.
- Do not place any switched on electrical devices on top of the appliance because this may cause ignition of plastic parts.
- Do not place any dishes with liquids on top of the appliance and do not keep flowers in vases or other liquid-filled vessels on the appliance.
- Do not climb on or sit on the appliance, do not lean on or hang on the appliance doors and do not allow children to do this.
- Do not remove or touch items from the freezer compartment if your hands are wet or damp.
- Do not use water spray and steam to clean the appliance.
The appliance should be transported in the vertical position;
do not tilt any more than 30°. The manufacturer will not be responsible for any damage of the appliance that results from non-compliance with the instructions for transportation.
The manufacturer guarantees reliable operation of the refrigerator when the relative air humidity not greater than 70 per cent and the ambient temperature is:
+ 16 TO +32 DEGREES CELSIUS (Climate class N);
+ 16 TO +38 DEGREES CELSIUS (Climate class ST);
+ 16 TO +43 DEGREES CELSIUS (Climate class T).
INSTALLATION AND OPERATING CONDITIONS
Positioning:
- This appliance can be installed in a dry, well ventilated indoor where the ambient temperature corresponds to the climate class indicated on the rating plate of the appliance.
Do not install this appliance in areas that are too humid or too colds, such as the construction appendices, garages or wine cellars. Place the appliance away from heat sources such as kitchen stove/oven, radiators, or direct sunlight. The appliance must not touch any pipes for heating, gas or water supply, or any other electrical devices.
Minimum distances from the heat sources:
- from the electric gas and other ovens – 30 mm,
- from oil or coal fired ovens – 300 mm,
- from built-in ovens – 50 mm
If there is no possibility of ensuring the above- mentioned distances, provide an appropriate insulation board.
- Do not cover the ventilation holes at the top of the appliances
- it must be a good air circulation around the appliance. There should be a gap of at least 10 cm between the top of the appliance body and any furniture that may be above it. If this requirement is not followed, the appliance consumes more electrical energy and its compressor may overheat.
- The appliance must stand on a level surface and must not touch the wall. If necessary, regulate the height of the appliance by adjusting the levelling feet: by turning them clockwise – the front of the appliance rises, by turning them counter clockwise – it comes down. If the appliance is tilted slightly backward – the doors will close by themselves.
- If the appliance is placed in a corner, a gap must be left between the appliance body and the wall so that the freezer compartment door can be opened enough to pull out the frozen product drawer. External dimensions for installation.

Preparing for operation:
- It is recommended to prepare the appliance for operation with a helper.
- The apppliance must only be transported in its vertical position; do not tilt any more than 30°.
- Remove package. Lift the appliance away from foamed polystyrene base. Tear off adhesive tapes. Remove all red-coloured parts from the shelves (fig. 2.).

NOTE. When you open the freezer compartment door a little red packing detail will fall out – it is for transportation purposes only. - When positioning the appliance in chosen location, it will move more easily into position if you lift the front a little and incline it backward, allowing it to roll on its casters. When placing, moving, lifting the appliance, do not hold the door handles, do not pull the condenser at the rear part of the refrigerator and do not touch the compressor unit.
- Take two supports 1 from the bag and insert them into the guides 2 at the top back part of the appliance (see fig).

- The appliance should not be connected to the mains until all packing and transport materials aren’t removed. Suitably dispose the packaging material.
First use: - Before using the appliance for the first time, the interior and all internal accessories should be washed with lukewarm water and some neutral soap to remove the typical smell of a brandnew product, then dried thoroughly.
- Once the unit has been positioned, wait for about 30 minutes before it is connected to the mains.
If the unit has been tilted more than 30° during transport: wait at least 4 hours before connecting the appliance to the power supply. This is to allow the oil to flow back in the compressor. - When first starting-up or after a period out of use, before putting the products in the compartment let the appliance run at least 2 hours.
DESCRIPTION OF THE APPLIANCE, BASIC PARTS (Fig. 1)
The appliance accessories listed below may differ from the accessories of the appliance you have bought in quantity and in design. This description is adapted for entire group of two-compartment refrigerator-freezer combinations.

| 1 | Control panel | 9 | Fast-freeze section |
| 2 | On / off switch for interior light | 10 | Frozen products section(s) |
| 3 | Height-adjustable shelves | 12 | Egg tray |
| 4 | Shelf for bottles | 13 | Door trays |
| 5 | Cold section drawer | 14 | Condenser |
| 6 | Glass shelf | 15 | Thaw water drip tray |
| 7 | Fruit and vegetable trays | 16 | Compressor |
NOTE. The technical data of the appliance can be found on the rating label attached to the inside wall of the appliance. For more information about the appliance, scan the QR code on the enclosed energy label and / or visit the official website of the product database: https://eprel.ec.europa.eu
ELECTRONIC CONTROL PANEL DESCRIPTION, TEMPERATURE REGULATION
When connecting the device to the mains for the first time, the blue temperature indicating segment lights up at +5 (factory temperature setting +5 °C, but you can select the preferred temperature according to your needs).
- Temperature adjustment button. Temperature setting in the refrigerator compartment:
Activate temperature button 1: tap and keep until the temperature indicating segment starts to flash in blue (active). Then release button 1 and tap repeatedly until the required temperature segment is blue (activated). One tap changes the temperature by one position.
The temperature setting operates in a circle: for example, the active segment is at +5, and if you want to set +9 °C after activation you have to tap temperature button 1 2 times – until the temperature indicating segment at +9 turns blue.Refrigerator compartment temperature is adjustable on a five-point scale:
+ 9 – highest temperature (lowest cooling).
+ 1 – lowest temperature (highest cooling).
NOTE. After power loss the device turns on automatically, saving the last user-set temperature in the refrigerator compartment.
IF THE REFRIGERATOR COMPARTMENT DOOR IS OPEN MORE THAN 30 SECONDS an audible warning signal sounds, and silencing when the door is closed.
If the room temperature is below +16 °C, we recommend that you set a lower temperature with the temperature-selection button (1).
Cooling device on/off\
SHUTDOWN. Tap and hold button 1 until the three temperature indicative segments are blue, and the light in the refrigerator compartment turns off. CAUTION! Voltage remains turned on.
SWITCHING ON. Tap and hold button 1 until the set temperature indication segment is blue, and the refrigerator compartment lighting is on.
NOTE: after turning on the cooling device, the last temperature set by the user will be saved. - Temperature indicator segments. The temperature set-point segment is illuminated in blue (active), while the other temperature value segments are grey (inactive).
- The Fast Freeze function is activated by tapping button 3. When the Fast Freeze function is on, the white segment in the centre of the button is on. The Fast Freeze function switches off automatically after 52 hours at the latest. The user can manually deactivate the quick freeze function at any time by touching button 3.
STORAGE AND FREEZING OF FOODSTUFFS
Temperature zones in the refrigerator:
Due to the natural air circulation, there are different temperature zones in the refrigerator compartment.
- The upper part of the refrigerator compartment and the door – the warmest area: store tropical fruits, cans, drinks, eggs, sauces, canned products, butter, jam.
- The middle part of the refrigerator compartment – cold zone: store cheese, milk, dairy products, delicacies, yogurt.
- The lower part of the refrigerator compartment – the coldest area: keep cold snacks, desserts, meat and fish, cheesecake, fresh pasta, sour cream, pesto / salsa sauce, home-cooked food, dough, pudding and cream cheese.
- Fruit and vegetable drawer at the bottom of the refrigerator compartment: Store vegetables and fruits (except tropical fruits).
- Chiller compartment: Only store meat and fish in the coldest drawer.
To avoid food contamination, follow the instructions below:
- Prolonged opening of the door can significantly increase the temperature in the compartments of the appliance: only open the door for the time required to place /remove food.
- Regularly clean surfaces that may come into contact with food and accessible drainage systems.
- Store fresh meat and fish in suitable containers in the refrigerator so that they do not come into contact with or drip on other food.
- If the appliance is left empty for a long time, switch it off, defrost, clean, dry and leave the door open to prevent mold from forming inside the appliance.
Freezing of foodstuffs
When freezing large quantities of fresh food, turn on the Fast Freeze function 24 hours in advance – tap Fast Freeze function button 3 (see Fig. 3).
The segment in the centre of the button will light. Place fresh food prepared for freezing in one or two lines in the fast freezing section.
After 24 hours, move the frozen food products from the Fast Freeze section into the storage section drawer(s) (see Fig. 1). The Fast Freeze function automatically shuts off when a temperature below –18 °C is achieved. The light goes out in the centre of the FAST FREEZE button..
DO NOT EXCEED THE MAXIMUM QUANTITY OF FROZEN FOODS IN THE PRODUCT DATA SHEET (see in the rating label).
- Leave a space of at least 3 cm between refrigerated food and the upper partitions.
- Do not put unpackaged food in the freezer compartments.
- IMPORTANT! Do not freeze liquid food in glass containers or bottles. Do not freeze sparkling drinks.
- Fresh frozen food must not come into contact with food that has already been frozen.
- Do not freeze food that is above ambient temperature.
- Strictly adhere to the expiration date for frozen foods as stated by the manufacturer on the product packaging.WE RECOMMEND THAT FROZEN FISH AND SAUSAGE SHOULD BE STORED IN THE FREEZER COMPARTMENT NOT LONGER THAN 6 MONTHS; CHEESE, POULTRY, PORK, LAMB – NOT MORE THAN 8 MONTHS; BEEF, FRUIT AND VEGETABLES– NOT LONGER THAN 12 MONTHS.
CAUTION! In the event of accidental defrosting, for example due to a power failure, if the power has been off for longer than the value shown in the technical characteristics chart under “rising time”, the defrosted food must be consumed quickly or cooked immediately and then refrozen (after cooling).
DEFROSTING, CLEANING AND CARE
THE REFRIGERATOR COMPARTMENT defrosts automatically. Drops of ice that form on the back wall of the refrigerator compartment thaw during the time the compressor is not working and the thaw water runs down the thaw water runoff channel to the tray on top of the compressor (Fig. 1), where it evaporates.
FREEZER COMPARTMENT gets defrosted automatically: it operates a frost-free cooling system (No Frost). However, according to how often the freezer door were opened and closed, and to – how warm products were placed into the appliance, the frost can accumulate on walls of freezer inner liner and drawers. It is normal. But the thicker is the layer of frost, the higher is a power consumption. In case if No Frost system had not managed to evaporate the excess moisture and the frost layer has formed on, you should defrost the appliance. To defrost the appliance, follow the steps in sequence:
- WARNING! Turn the appliance off and pull the plug out of the electrical socket.
- Remove foodstuffs from freezer compartment. The frozen foodstuffs will not warm up too much while you are thawing the freezer compartment if you cover them with a thick cloth and keep them in a cool place.
- Leave door of freezer compartment open. When the frost melts, clean and wipe dry the surfaces and fixtures of the freezer compartment.
- Close the appliance door. Plug in and turn on the appliance.
REGULARLY CLEAN THE APPLIANCE!
Note: before cleaning the cooling device and its rear compartment part, the device must be disconnected from the mains by unplugging.

- Protect the appliance’s inner surfaces and plastic parts from fats, acids and sauces. In case of accidental spills – immediately clean with warm soapy water or dishwashing detergent. Wipe dry.
- Regularly clean the hermetic gaskets of the doors. Wipe dry.
- Regularly clean the thaw water channel space in the refrigerator with a special cleaner for that purpose (see fig.).
- At least once a year clean dust away from the back part of the appliance body and the compressor. A soft brush, electrostatic cloth or vacuum cleaner may be used for cleaning.
- DO NOT use detergents containing abrasive particles, acid, alcohol or benzene for cleaning the appliance inner and outer surfaces. DO NOT use for cleaning cloths or sponges that have coarse surfaces intended for scrubbing.
- If the appliance is to be left switched off for an extended period, leave its doors open.
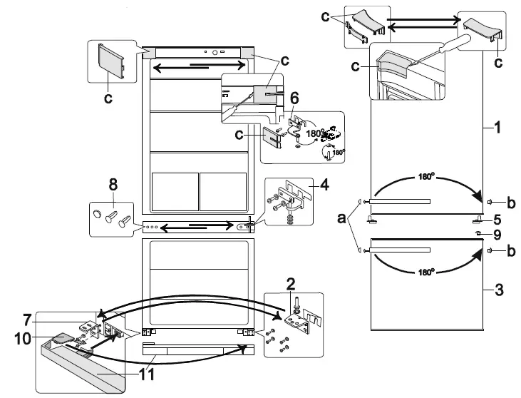
CHANGING THE OPENING DIRECTION OF THE DOORS
It is recommended that changing the opening direction of the doors should be done with a helper. You will need two spanners No. 8 and No. 10 and a head screwdriver.
When changing the opening direction of the doors, YOU CAN NOT lay the refrigerator horizontally!
Warning: Always disconnect the unit from the mains before any maintenance or repair work is carried out.
Before you start, please note the following:
- Always ensure that the correct number of washers is used on all hinge bolts and screws.
- So that the doors can close tightly against the frame, take the utmost care that they are properly aligned during reassembly.

- Remove the four covers C from the housing and inside of the door.
- Unscrew the hinge bolt on the inside of the door in thearea C/6. Caution: Support the door.
- Take off the refrigerator door.
- Take out the fi xing screws and remove the upper bracket 6. Note the small plastic plate underneath the bracket.
- Turn the bracket 6 including the small plastic plate through 180° and replace it on the other side of the refrigerator, using the two screw holes adjacent to each other.
- Place the refrigerator door on a soft surface. Remove the hinge support 5 from the underside of the door and fit the hinge support provided on the opposite side.
- Take out the covering caps and then remove the hinge support in the middle 4. Note the small plastic plate underneath the bracket. Caution: Support the door.
- Take off the freezer door 3.
- Remove the lower panel 11 by lifting it up slightly.
- Take out the fi xing screws and remove the bracket 2 with its hinge bolt. Note the small plastic plate underneath the bracket.
- Unscrew the hinge bolt, together with the washers, from the bracket, and fi t it into the corresponding opening on the opposite side of the bracket.
- Remove the bracket 7 and replace it with the holding bracket 2 with its hinge bolt.
- Now install the holding bracket 7 in the previous position of the bracket 2.
- Take out the sealing plugs 8 from the partition separating the refrigeration and freezer compartments and replace them in the openings on the opposite side.
- Take out sealing plugs 9 from the freezer door and replace it in the opening on the opposite side.
- Place the freezer door onto the hinge bolt on holding bracket 2. Caution: Support the door.
- Turn the holding bracket 4 with its hinge bolt and plastic plate through 180°.
- Replace the bracket bolt on the opposite side of the freezer door and secure it with the screws.
- Replace the covering caps over the screw heads. Place the refrigerator door onto the hinge bolt on holding bracket 4. Caution: Support the door.
- Re-insert the hinge bolt of the bracket 6 into the refrigerator door and secure it with the screws.
- Fit the four covers C over the bracket and the openings.
- Remove the screw covering caps a.
- Take out the screws holding the door handles. Move the handle slightly towards the side with the screw and then pull the handle off to the front.
- Fit the handles on the opposite side, using the fixing screws to secure them (note that the screws need to go through the sealing plugs b). Push the sealing plugs provided
(b) into the now empty openings in the door and replace the covering caps (a) on the screw heads. - Take out cover 10 from the lower panel 11 and replace it on the opposite side.
- Replace panel 11 on the appliance.
Wait for about 30 minutes before it is connected to the mains. If the unit has been tilted to more than 30°, wait for about 4 hours before reconnecting it to the mains.
OPERATION PROBLEMS AND THEIR SOLUTIONS
- The appliance is plugged in to the mains but it does not work.
Check that your house electricity supply installations are in order. Check that the plug is correctly inserted into the electricity supply socket. - The temperature segment in the center of the button is red.
The cooling device is operating in emergency mode. Contact the refrigeration appliance’s maintenance and repair company without delay. - Temperature cannot be set, FAST FREEZE function cannot be activated.
Close the refrigerator door, turn off the cooling device – disconnect the power supply cord from the outlet, and wait 12 minutes. After the specified time, plug the power cord back into the outlet and perform the required action: set the temperature or turn on the FAST FREEZE function. - The noise has become louder.
Check that the appliance is standing stable, on a level place. To make it level, regulate the front feet. Check if the appliance is not touching any furniture, and that no part of the refrigeration system at the back part of the appliance body is touching the wall. Pull the appliance away from any furniture or walls. Check that the cause of increased noise isn’t due to bottles, cans or dishes in the appliance that might be touching each other. - Water has appeared at the bottom of the refrigerator compartment.
Check whether a thaw water channel space isn’t blocked. Clean the thaw water channel space with a cleaner intended for that purpose. - Water has appeared on the tempered glass shelves.
- Food items or dishes in the refrigeration compartment are touching the back wall of the compartment. Do not let food items or dishes touch the back wall.
- Moisture dripping from under the glass shelves.
- If you placed many containers with liquids on the shelf, moisture can condense and drip onto the shelf below. Move some containers with liquids onto other shelves.
- Water has appeared under the appliance.
The thaw water collection tray has slipped off the compressor. Place the tray on top of the compressor. - When the appliance door is opened, the rubber sealing gasket pulls out.
- The gasket is smeared with sticky foodstuffs (fat, syrup). Clean the sealing gasket and the groove for it with warm water containing soap or dishwashing detergent and wipe dry. Put the rubber sealing gasket back into the place
- High temperature in appliance, the compressor operation pauses are short.
- Ascertain whether the appliance doors are shutting tightly, whether the door wasn’t kept open longer than necessary when taking out or putting in foodstuffs or whether a large amount of warm food was placed in the appliance.
- The top of the appliance has condensation on it.
- The ambient relative air humidity is above 70 %. Ventilate the room where the appliance stands and if possible remove the cause of the humidity.
Remarks on the appliance operating noise.
As the appliance operates and goes through the freezing cycle, various noises will be emitted. This is normal and is not a sign of any malfunction. As the refrigerant circulates around the refrigeration system, it causes sounds like murmuring, bubbling, or rustling. Louder sounds like popping or clicking may be heard for a short time as the refrigerator’s compressor switches on.
ENVIRONMENTAL PROTECTION INFORMATION
Important Note:
This appliance is marked according to the European directive 2002/96/EC on Waste Electrical and Electronic Equipment (WEEE). By ensuring this product is disposed of correctly, you will help prevent potential negative consequences for the environment and human health, which could otherwise be caused by inappropriate waste handling of this product.

The symbol on the product, or on the documents accompanying the product, indicates that this appliance may not be treated as household waste. Instead it shall be handed over to the applicable collection point for the recycling of electrical and electronic equipment.
Disposal must be carried out in accordance with local environmental regulations for waste disposal. For more detailed information about treatment, recovery and recycling of this product, please contact your local authority, your household waste disposal service or the retailer where you purchased the product.
Our packaging are made of environmentally friendly materials, which can be reused:
- The external packaging is made of cardboard/foil
- The FCKW free shape of foamed polystyrene (PS)
- Polyethylene (PE) foils and bags
The refrigerants and foaming agents, which are 100% free of FCKW and FKW have been used for manufacturing our product. Therefore we are helping to protect the ozone layer and prevent the increase of greenhouse effects. Also, the innovative technology and environmentally friendly insulation help in reducing energy consumption.
RISK FROM OLD APPLIANCE!
Keep children under the age of 8 away from the power cord of the appliance. Keep children away from the packaging materials.
Playing children can lock themselves in the device or get into other life-threatening situations.
- Remove or destroy existing snap locks and bolt locks.
- Do not let children play with the appliance.
- Always supervise children in the vicinity of the old appliance.




The temperature setting operates in a circle: for example, the active segment is at +5, and if you want to set +9 °C after activation you have to tap temperature button 1 2 times – until the temperature indicating segment at +9 turns blue.Refrigerator compartment temperature is adjustable on a five-point scale:


















