
USER MANUAL
POWER CHARGER FOR WATCH
Thank you for purchasing Nillkin product! In order for you to know it more, please read the user manual carefully before using. Have a perfect experience!

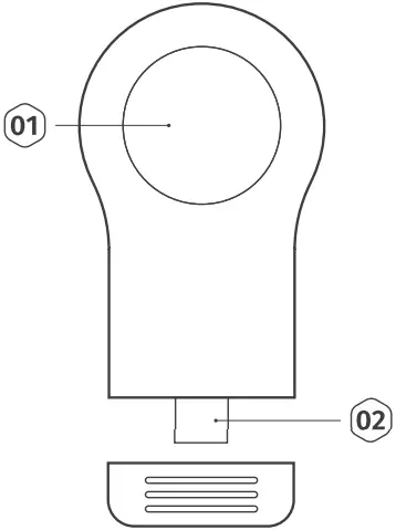
01
Watch wireless charging area
02
Type-C power input port
Instruction

Remove the silicone lid, insert the watch charger into the Type-C power port

Place the watch on the charging area, charge when placed

Applicable Devices
( Only some mainstream models are listed )
| Brand | Model |
| Garmin | Instinct, Instinct Esports, Approach S40, Approach S60, D2 Charlie, D2 Delta PX, Enduro, Fenix 5X Plus, Fenix 6/6 Pro/6X Pro, Fenix 7/7S/7X, Forerunner245/745/945, Vivomove 3S, Vivomove Style, Vivoactive 3 Music |
| Samsung | Galaxy Watch Active2, Galaxy Watch2, Galaxy Watch3, Galaxy Watch4 |
| HUAWEI | GT3Pro, Watch3, Watch3Pro, GT2 Pro, GT2 Pro ECG,GT3, GT Runner |
| Specifications | Input: 5V Output: 5W(Max) Charging efficiency: ≤80% Net weight: 21 g |
| Package contents | Watch charger x 1 User Manual x 1 |
| Attentions | Keep away from water and other liquid. Using environment temperature is 0-45°C. Please do not seriously strike, disassemble, repair or reconstruct the device by yourself. Keep away from chemical drugs such as benzene and diluents. |
Digital Brand for Smart&Simple Life
Made in China
Designed By NILLKIN
GY0013


This device complies with part 15 of the FCC Rules. Operation is subject to the following two conditions: (1) this device may not cause harmful interference, and (2) this device must accept any interference received, including interference that may cause undesired operation.
Any changes or modifications not expressly approved by the party responsible for compliance could void the user’s authority to operate the equipment.
NOTE: This equipment has been tested and found to comply with the limits for a Class B digital device, pursuant to Part 15 of the FCC Rules. These limits are designed to provide reasonable protection against harmful interference in a residential installation. This equipment generates, uses and can radiate radio frequency energy and, if not installed and used in accordance with the instructions, may cause harmful interference to radio communications. However, there is no guarantee that interference will not occur in a particular installation. If this equipment does cause harmful interference to radio or television reception, which can be determined by turning the equipment off and on, the user is encouraged to try to correct the interference by one or more of the following measures:
- Reorient or relocate the receiving antenna.
- Increase the separation between the equipment and receiver.
- Connect the equipment into an outlet on a circuit different from that to which the receiver is connected.
- Consult the dealer or an experienced radio/TV technician for help.
Radiation Exposure Statement
This device complies with FCC RF radiation exposure limits set forth for an uncontrolled environment. This transmitter must not be co-located or operating in conjunction with any other antenna or transmitter. During the operation of device a distance of 15 cm surrounding the device and 20 cm above the top surface of the device must be respected.

















