
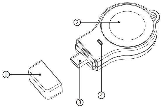
Apple Watch Charger-Product Structure

- Wireless Charging Area for Apple Watch———————–
P16 - Apple Watch Charger Case
- Type-C Input—————————————
P15 - Watch Charging Indicator—————————–
P6
Apple Watch Charger-Specifications
| Type C Input | 5V/1A |
| Output | 2W |
Apple Watch Charger-LED Usage
Watch charging indicator12
| Standby mode | Green light on |
| Charging mode | Greenlight breathing |
Wireless charging for Apple Watch
Please remove the case of the watch charger and inserted it into the corresponding position of the charging dock.
Wireless charging for Apple Watch
Please make sure your Apple Watch corresponds to the area of the wireless charger for Apple Watch. It will automatically detect the Apple Watch and charge it.
Note:
This product is only available for Apple Watch. If Samsung watches, it’s not compatible.
This equipment has been tested and found to comply with the limits for a Class B digital device, pursuant to part 15 of the FCC Rules. These limits are designed to provide reasonable protection against harmful interference in a residential installation. This equipment generates, uses, and can radiate radio frequency energy and, if not installed and used in accordance with the instructions, may cause harmful interference to radio communications.
However, there is no guarantee that interference will not occur in a particular installation. If this equipment does cause harmful interference to radio or television reception, which can be determined by turning the equipment off and on, the user is encouraged to try to correct the interference by one or more of the following measures:
- Reorient or relocate the receiving antenna.
- Increase the separation between the equipment and receiver.
- Connect the equipment into an outlet on a circuit different from that to which the receiver is connected.
- Consult the dealer or an experienced radio/TV technician for help.
Caution: Any changes or modifications to this device not explicitly approved by the manufacturer could void your authority to operate this equipment.
This device complies with part 15 of the FCC Rules. Operation is subject to the following two conditions:
- This device may not cause harmful interference, and
- this device must accept any interference received, including interference that may cause undesired operation. The device has been evaluated to meet the general RF exposure requirements.




















