GP Batteries International GP XPLOR Ultra Compact Headlamp PHR16 Instruction Manual




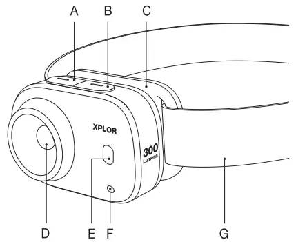
Getting to know your headlamp
(A) Button A
(B) Button B
(C) Bracket
(D) Main light
(E) Night vison – Red LED
(F) Indicator light – Charge status, battery status, lock-out status & overheat warning
(G) Washable & reflective head strap
(H) Water protection cap
(I) USB-C charging port
Operating instruction
Main light
- Press (A) to turn on. Double press to turn off.
- Single press (A) to cycle through settings – Low > Med > High > Off.
- Double press (A) at any time to turn off any light output.
SOS & Beacon
- To activate SOS, press and hold (A) or (B) for 4 secs. Activation can be from off or when already on.
- To activate Beacon, press and hold (A) and then press (B), or press and hold (B) and then press (A).
- Press (A) and output returns to low.
- Press (B) and red LED on.
- Double press (A) to turn off all settings.
Night Vison – Red LED
- Press (B) to turn on night vision.
- Single press (B) to cycle through settings – Low > High > Flashing > Off.
- Double press (A) to turn off night vision
Turbo
- Press and hold (A) or (B) for 1 sec to activate Turbo mode. Available from any light setting. Turbo will drop to high setting after one minute to protect from high temperatures. Can be re-activated when needed.
- Double press (A) to turn off Turbo
Lock-out
- Lock – Press and hold (A) and (B) for 4 secs., to activate lockout mode – indicator light will flash red twice.
- Unlock – Press and hold (A) and (B) for 4 secs., to activate unlock mode – battery indicator light will flash green twice.
Note: The output will drop down one step if overheating occurs to protect headlamp.
Charging the headlamp
- Remove water protection cap (H) and insert the USB-A plug into a power supply, such as a power bank, computer or wall socket and the USB-C plug into the headlamp.
- Indicator light (F) will indicate the charge status of the headlamp.
- Red LED indicates charging
- Green LED indicates fully charged
- Once fully charged, remove the cable and insert protection cap (H) to ensure water protection.
- When running, the headlamp can remain plugged into a power bank for extended runtime. Only the high mode will be available for main light output. The red LED features (Constant on – low to high and flashing) as well as SOS and Beacon are also available.
- For best battery performance, please recharge the headlamp every 3-4 months. This is a non-replaceable battery and will provide excellent service if well maintained.
Battery indicator
- When headlamp is off, double press (B) to check battery level.
Solid green: Over 70%
Solid red: 35% to 70%
Red flashes 5 times: Below 35% - Low battery warning light – When battery is below 35%, the light in use will flash twice every 5 minutes.
Specifications

Weight : 43.5 g
Dimensions: 56 x 38 × 34 mm
LED: CREE / SMD
Material : PC + POM
Circuit: Digitally regulated
Battery : Lithium polymer
Battery protection: Over-charge and over-discharge
Usage and Care
- Do not dismantle headlamp, as this can cause harm to the headlamp and the person will void the warranty.
- This has a high lumen output, so be careful not to shine directly into anyone’s eyes as it may cause harm and injury.
- The battery is sealed and cannot be replaced for your own safety.
- Do not use cleaning agents that may damage the product. Use a soft cloth to avoid scratching.
- This headlamp uses a sealed LiPo 800mAh battery. Always connect the USB carefully, to avoid water and other liquids getting into the port, which may cause damage to the unit and battery.



















