EMPIRE STATE
Tower Fan
Artikelnummer
![]()
Dear Customer,
Congratulations on purchasing this device. Please read the following instructions carefully and follow them to prevent possible damages. We assume no liability for damage caused by disregard of the instructions and improper use. Scan the QR code to get access to the latest user manual and more product information.
TECHNICAL DATA
| Item number | 10030980 |
| Power supply | 220-240 V ~ 50 Hz |
SAFETY INSTRUCTIONS
- Remove the packaging and make sure that the appliance is intact. If in doubt, do not use it and contact qualified personnel only.
- Packaging materials (plastic bags, polystyrene, staples etc.) Must be kept out of the reach of children as they could be hazardous.
- This device may be only used by children 8 years old or older and persons with limited physical, sensory and mental capabilities and / or lack of experience and knowledge, provided that they have been instructed in use of the device by a responsible person who understands the associated risks.
- Before connecting the appliance, check that the appliance rating corresponds to the mains rating.
- This appliance must only be used for the purpose for which it has been manufactured. As a stand fan. The manufacturer is not responsible for any damage caused by improper or incorrect use.
- The installation/assembly of the device will be made according to the indications of the manufacturer. A wrong procedure may cause damages to persons, animals or objects, for which the manufacturer cannot be considered responsible
- Before cleaning or carrying out maintenance on the appliance, disconnect it from the electrical mains by removing the plug from the electrical outlet or by switching off the system switch.
- If the appliance is faulty and/or operating incorrectly, switch it off without tampering with it. If the above is disregarded, the safety of the appliance may be compromised.
- If the supply cord is damaged, it must be replaced by the manufacturer, its service agent or similarly qualified persons in order to avoid a hazard.
- Do not power the device using multiple sockets.
- Do not use adapters and/or extension cable
- The device must not be switched on using external timers and/or other remote control devices which are not specified in this manual.
- Do not use or store the device near heat sources (heaters, stoves).
- Do not dip the device in water or other liquids; in case the accidental fall in the water do not try to take it out, but first of all unplug immediately the power cable from the socket.
- If you use the device for the first time, make sure to remove any label or protective sheet which blocks its proper functioning.
- Plug and unplug the power cable with dry hands and hold it firmly.
- Before plugging the plug into a wall outlet, make sure that the unit is switched off.
- Always unplug the power cable to avoid the overheating and avoid stretching it.
- Make sure that all air intakes and outlets are free and not covered so that the unit does not overheat.
- Avoid placing the power cable on abrasive or sharp surfaces or in positions where it can be damaged easily.
- Do not hang the fan on the wall or ceiling unless this type of installation is provided and explained in this manual.
- Place the device at a proper distance from the objects or surrounding walls making sure that its functioning will not cause accidental damages.
- Do not use the device near gas stoves or open flames in general.
- Do not use the device near curtains or textiles.
- Do not cover the device during functioning.
- Do not expose yourself for a long period to the air flow generated by the device because it can cause damage to the health
- If the fan must be stored for a long period and is not used regularly, place the fan in its original packaging in a dry place.
- Always remember to unplug the power cable of the device if it is not used for a long period, before storing, cleaning or performing any maintenance operation.
- Do not use the appliance in the presence of potentially flammable or explosive liquids or gases.
- This product is intended for household use only and not for commercial / industrial or outdoor use.
PRODUCT OVERVIEW

- Control Panel
- Display window
- Body
- Base
ASSEMBLY
1

Align the parts of the base with the pin. Rotate the base parts together. The pins must snap into the holes.
2

Revolve the arrows of two rotary knobs about 90°.
3

Assemble the pedestal and body.
Align three screws with corresponding hole locations and screw tightly.
CONTROLS AND FUNCTIONS

- Control panel
- ON/OFF
- Display window
- Timer
- Normal wind
- Sleep wind
- Swing
- Natural wind
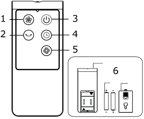
REMOTE CONTROL

- Speed key
- Swing key
- ON/OFF key
- Timer key
- Mode key
- Battery
Note: Point the remote controller at the receptor on body of the fan and press the desired button. The remote controller will work at distances of up to roughly five meters and the angle of 30 degree included between right and left from the receptor.
USE AND OPERATION
Press a button on the device to activate one of the following functions:
- Press the [+] button to set on of 6 speed levels of the air circulation.
- Press the Time button and use the [+] and [-] buttons to set the time. When the fan is running, press the timer button to turn off the fan after 0.5 to 12 hours. In Standby Mode, you can preset a start time of 0.5-12 hours.
- Press the Mode button to select normal, natural and sleep wind.
- Press the oscillating button to start or stop the swing function.
Sleep wind
The fan operates with low sleep wind as default.
There are the levels: low – medium – high (L-M-H).
With +/- you can set the level.
| High level | Level 3 (30 min) → Level 2 (30 min) → Level 1 |
| Mid level | Level 2 (60 min) → Level 1 |
| Low level | Level 1 (15 min) → Level 2 (30 min) → Level 1 |
Natural wind
| Level 1 (6 s) → Level 3 (6 s) → Level 6 (6 s) → Level 3 (6 s) |
CLEANING AND CARE
The fan requires little maintenance. Do not try to fix it by yourself. Refer it to qualified service personnel if service is needed.
- Before cleaning and assembling, fan must be unplugged.
- To ensure adequate air circulation to the motor, keep vents at the rear of the motor free of dust. Do not disassemble the fan to remove dust.
- Please wipe the exterior parts with a soft cloth soaking a mild detergent.
- Do not use any abrasive detergent or solvents to avoid scratching the surface. Do not use any of the following as a cleaner: gasoline, thinner, bending.
- Do not allow water or any other liquid into the motor housing or interior parts.
Cleaning
- Be sure to unplug from the electrical supply source before cleaning.
- Plastic parts should be cleaned with a soft damp cloth and mild soap. Thoroughly remove soap film with dry cloth.
DISPOSAL CONSIDERATIONS
If there is a legal regulation for the disposal of electrical and electronic devices in your country, this symbol on the product or on the packaging indicates that this product must not be disposed of with household waste. Instead, it must be taken to a collection point for the recycling of electrical and electronic equipment. By disposing of it in accordance with the rules, you are protecting the environment and the health of your fellow human beings from negative consequences. For information about the recycling and disposal of this product, please contact your local authority or your household waste disposal service.
This product contains batteries. If there is a legal regulation for the disposal of batteries in your country, the batteries must not be disposed of with household waste. Find out about local regulations for disposing of batteries. By disposing of them in accordance with the rules, you are protecting the environment and the health of your fellow human beings from negative consequences.
MANUFACTURER & IMPORTER (UK)
Manufacturer:
Chal-Tec GmbH, Wallstrasse 16, 10179 Berlin, Germany.
Importer for Great Britain:
Chal-Tec UK limited
Unit 6 Riverside Business Centre
Brighton Road
Shoreham-by-Sea
BN43 6RE
United Kingdom






















