![]()
10005399 MKS BROOKLYN Fridge
User Manual
www.klarstein.com![]()
Dear Customer
Congratulations on purchasing this device. Please read the following instructions carefully and follow them to prevent possible damage. We assume no liability for damage caused by disregard of the instructions and improper use. Scan the QR code to get access to the latest user manual and more product information.
https://use.berlin/10035789
TECHNICAL DATA
| Item number | 10035789 |
| Power supply | 220-240 V ~ 50-60 Hz |
| Performance | 120-150 W |
| Maximum volume flow | 151 m3 /min |
SAFETY INSTRUCTIONS
- Never attach the fan to a powerpoint, but to the ceiling itself.
- The minimum distance between the blades of the fan and the floor must be more than 2.3 m.
- The minimum carrying capacity of the hook from which the fan is hung must be 100 kg.
- Make sure to install all poles disconnection switches having a contact separation of at least 3 mm between poles in the supply wiring to the ceiling fan.
- The model or type reference of luminaries may be installed in fans that are constructed for his purpose.
- Switch off the power before connecting
- The electrical wiring must be in accordance with the local regulation.
- The fan must be properly earthed to avoid the risk of electric shocks.
- Never mount the fan in a moist or wet room.
- Be careful when working near the rotating blades.
- This device may be only used by children 8 years old or older and persons with limited physical, sensory, and mental capabilities and/or lack of experience and knowledge, provided that they have been instructed in the use of the device by a responsible person who understands the associated risks.
Note: Always have your fan installed by someone who is knowledgeable about electrical wiring.
Notes on load capacity and minimum distances
The minimum distance between the fan blades and the floor must be more than 2.3 m. The minimum load capacity of the hook on which the fan is suspended must be 100 kg.
INSTALLATION

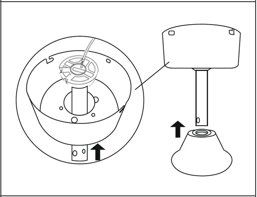
Remove the clamp (A), the bolt (B), and the carrier bolt (C) from the hanging rod.
Put the hanging rod through the upper and lower cap.
Feed the motor wires through the hanging rod. Reinsert the carrier bolt. Secure the rod and motor with the bolt (B), a washer and clamp (A) as shown.
Connect the wires from the receiver and motor.
Note: There is no light for this device. The (blue) light wire on the receiver does not need to be connected. Please wrap it with insulating tape.
Fasten the ceiling plate to the ceiling with 4 dowels and screws.
Insert the receiver and wires into the top cap.}
Fasten the upper cap and the ceiling plate with 4 screws.
Fasten the rotor blades with 2 screws each. The fan is now completely assembled and ready for use.
Speed and light
Press one of the buttons in the upper circle to adjust the speed and switch the light on or off.
Timer
Press one of the buttons in the lower circle to set the timer. After the set time has elapsed, the fan will turn off automatically.
CLEANING AND CARE
Always disconnect the appliance from the power supply before cleaning the appliance or carrying out maintenance work.
- Never use a wet sponge to clean the appliance.
- In order not to damage the product, it is advisable to use equipment adapted to the sensitive surfaces and products, which will slow down the wear of the device.
TROUBLESHOOTING
| Problem | Possible cause | Approach | ||
| The fan does not start. | Fuse or circuit breaker blew. | Check your fuses. | ||
| Loose cable connections. | Check all connections for loose cables. | |||
| The speed was not set correctly. | Select a speed. | |||
| The fan makes noise. | The upper cap touches the ceiling. | Make sure there is a minimum distance of 3 mm between the top cap and the ceiling. | ||
| Screws of rotor blades are loose. | Tighten all screws. | |||
| A ceiling fan is not properly attached to the ceiling. | Tighten all screws in the suspension plate. | |||
| Speed is not adjusted correctly. | Select a speed. | |||
| The fan is wobbling. | Rotor blades are not adjusted horizontally to the ceiling. | Move the fan so that all blades are at the same height as the ceiling. | ||
| The screws of the rotor blades are loose. | Tighten all screws. | |||
DISPOSAL CONSIDERATIONS
If there is a legal regulation for the disposal of electrical and electronic devices in your country, this symbol on the product or on the packaging indicates that this product must not be disposed of with household waste. Instead, it must be taken to a collection point for the recycling of electrical and electronic equipment. By disposing of it in accordance with the rules, you are protecting the environment and the health of your fellow human beings from negative consequences. For information about the recycling and disposal of this product, please contact your local authority or your household waste disposal service.
This product contains batteries. If there is a legal regulation for the disposal of batteries in your country, the batteries must not be disposed of with household waste. Find out about local regulations for disposing of batteries. By disposing of them in accordance with the rules, you are protecting the environment and the health of your fellow human beings from negative consequences.
MANUFACTURER & IMPORTER (UK)
Manufacturer
Chal-Tec GmbH, Wallstrasse 16, 10179 Berlin, Germany.
Importer for Great Britain:
Chal-Tec UK Limited
Unit 6 Riverside Business Centre
Brighton Road
Shoreham-by-Sea BN43 6RE
United Kingdom



















