BOLERO
OUTDOOR WALL SCONCE
SKU: 951705
BEFORE YOU BEGIN
We recommend consulting a professional if you are unfamiliar with installing electric fixtures. Signature Hardware accepts no liability for any damage to the faucet, plumbing, sink, counter top, or for personal injury during installation. Observe all local plumbing and building codes. Unpack and inspect the product for shipping damage. If any damage is found, contact our Customer Relations team via live chat at www.signaturehardware.com or by emailing [email protected].
GETTING STARTED
Ensure that you have gathered all the required materials that are needed for the installation.
ADDITIONAL QUESTIONS?
Still need help? Check out our Help Center at www.signaturehardware.com for product and warranty information, or contact us through live chat or by emailing [email protected].

CARE AND MAINTENANCE
To clean, wipe with damp cloth. Do not use abrasive cleaners or cleaners that contain alcohol.
CAUTION:
Shut off main power supply before cleaning product or changing light bulbs. All glass is fragile. Use care when handling glass shades and bulbs.
RECOMMENDED TOOLS AND ACCESSORIES
| Wire Connectors (3pcs) | |
| Screws (4pcs) | |
| Outlet Box Screws (2pcs) |
SAVE THIS MANUAL: RETAIN FOR CONSUMER’S USE.
READ THESE INSTRUCTIONS COMPLETELY BEFORE
INSTALLING THE PRODUCT. FOR PRODUCT OR
INSTALLATION QUESTIONS PLEASE CALL
CUSTOMER SERVICE AT 1-800-221-3379.
| Connect Black or Red Supply Wire (Lead Wire) to: | Connect White Supply Wire (Neutral Wire) to: |
| Black wire | White wire |
| *Parallel wire (round or smooth) | *Parallel wire (square or ridged) |
| Clear brown, gold or black wire without tracer | Clear brown, gold or black wire with tracer |
| Insulated wire (other than green) with copper conductor | Insulated wire (other than green) with silver conductor |
| * When parallel wires are used, the neutral wire is ridged down its length and the other wire is round and smooth (see illus.). | |

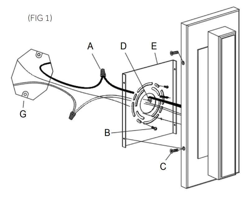
INSTALLATION (FIG 1)
- Shut off the power at the circuit breaker and remove old fixture, including the crossbar.
- Carefully unpack your new fixture and lay out all the parts on a clear area. Take care not to lose any small parts necessary for installation.
- Attach the Mounting plate(E)to the Outlet Box (G) (not supplied) by using 2 Outlet Box Screws (B).
- Now connect the electrical wires as follows: Connect the black wire from the fixture to the black house (hot) wire. Connect the white wire from the fixture to the white (neutral) house wire. Make sure all wire nuts are secured. You may wrap the connections with electrical tape. If your outlet has a ground wire (green or bare copper), connect fixture’s ground wire to it. Otherwise, connect fixture’s ground wire directly to the mounting plate using the green screw provided. Tuck the wire connections neatly into the junction box.
- Attach the Fixture (H) to the Mounting Plate by inserting the 4 Mounting Screws (C),
- To prevent moisture from entering the outlet box and causing a short, use clear caulking (ie. Indoor/Outdoor Silicone Sealant) to outline the outside of fixture backplate where it meets the wall leaving a space at bottom to allow moisture a means to escape.
1.855.715.1800
signaturehardware.com



















