

LAKE-TROLL
MANUAL DOWNRIGGER
USER MANUAL
CE MASTER USER MANUAL (FOR CE CERTIFIED MODELS)
THANK YOU
Thank you for purchasing a Cannon downrigger. We have designed your new downrigger to be an accurate and reliable tool that will enhance fishing control and improve your ability to catch fish. We hope that you enjoy the use of your new downrigger and enjoy the benefit of controlled depth fishing for years to come by always following safe boating practices and laws wherever you are fishing.
This manual covers installation and the operation of your downrigger. Read this manual carefully before operating your new Cannon downrigger. Retain this manual for future reference.
REMEMBER TO KEEP YOUR RECEIPT AND IMMEDIATELY REGISTER YOUR DOWNRIGGER.
To receive all the benefits for your product warranty, please fill out and mail the enclosed registration card. You may also complete registration on our website at cannondownriggers.com.
Please thoroughly read this user manual. Follow all instructions and heed all safety and cautionary notices below. Use of this downrigger is only permitted for persons that have read and understood these user instructions. Minors may use this product only under adult supervision.
ATTENTION: Your Cannon downnrigger should only be used for its intended purpose. Improper use will void the warranty and may be a safety risk.
CAUTION: Persons whose ability to run the downrigger or whose reactions are impaired by alcohol, drugs, medication, or other substances are not permitted to use this product.
LOCATING YOUR SERIAL NUMBER
Your Cannon 11-character serial number is very important. It helps to determine the specific model and year of manufacture. When contacting Consumer Service or registering your product, you will need to know your product’s serial number. We recommend that you write the serial number down in the space provided below so that you have it available for future reference.
The serial number on your Cannon Lake-Troll downrigger is located on the bottom of the mounting base.

- Made by Cannon Johnson Outdoors Marine Electronics, Inc. 121 Power Drive Mankato, MN 56001 USA Downriggers Produced in 2015

LAKE-TROLL MANUAL DOWNRIGGER
MODEL 1901250
SER NO K365 CN12345
EXAMPLE
Model: ______________________________________
Serial Number: ________________________________
Purchase Date: ________________________________
Store Where Purchased: _________________________
LIMITED WARRANTY
CANNON LIMITED WARRANTY
Johnson Outdoors Marine Electronics, Inc. (“JOME”) extends the following limited warranty to the original retail purchaser only. Warranty coverage is not transferable.
CANNON® LIMITED LIFETIME WARRANTY
JOME warrants to the original purchaser that if the accompanying product (see exclusions below) proves to be defective in material or workmanship within the following warranty periods, JOME will, at its option, either repair or replace same without charge (but no cash refunds will be made):
The boom, motor (if applicable), and reels, plus all plastic parts, including but not limited to frames and bases, will be free from defects in materials and workmanship, subject to normal wear and tear, for the original purchaser’s lifetime.
All other items will have 1-year limited warranties from the date of original retail purchase, except THE FOLLOWING ITEMS THAT HAVE NO WARRANTY: swivel lock pin, weights, and wire cable.
LIMITATION AND EXCLUSION OF IMPLIED WARRANTIES AND CERTAIN DAMAGES
THERE ARE NO EXPRESS WARRANTIES OTHER THAN THESE LIMITED WARRANTIES. JOME DISCLAIMS LIABILITY FOR INCIDENTAL AND CONSEQUENTIAL DAMAGES, AND IN NO EVENT SHALL ANY IMPLIED WARRANTIES (EXCEPT ON THE BOOM, MOTOR, REELS, AND ALL PLASTIC PARTS), INCLUDING ANY IMPLIED WARRANTY OF MERCHANTABILITY OR FITNESS FOR PARTICULAR PURPOSE, EXTEND BEYOND ONE YEAR FROM THE DATE OF PURCHASE (AND IN THE CASE OF THE SWIVEL LOCK PIN, WEIGHTS, AND WIRE CABLE, JOME DISCLAIMS ALL IMPLIED WARRANTIES). THIS WRITING CONSTITUTES THE ENTIRE AGREEMENT OF THE PARTIES WITH RESPECT TO THE SUBJECT MATTER HEREOF; NO WAIVER OR AMENDMENT SHALL BE VALID UNLESS IN WRITING SIGNED BY JOME.
Some states do not allow limitations on how long an implied warranty lasts or the exclusion or limitation of consequential damages, so the above limitation or exclusion may not apply to you. This warranty gives you specific legal rights, and you may also have other rights that vary from state to state.
CANNON® SERVICE POLICY
AFTER THE APPLICABLE WARRANTY PERIOD
After the applicable warranty period, or, if one of the above exclusions applies, Cannon® products will be repaired for a charge of parts plus labor. All factory repairs, after the applicable warranty period, carry a 90-Day Limited Warranty, subject to the exclusions and limitations stated above.
TO ENFORCE WARRANTY OR TO OBTAIN REPAIRS AFTER WARRANTY
To obtain warranty service in the U.S., the downrigger believed to be defective and the proof of original purchase (including the date of purchase) must be presented to a Cannon® Authorized Service Center or to Cannon®’s factory service center in Mankato, MN. Except as noted below, any charges incurred for service calls, transportation or shipping/freight to/from the Cannon® Authorized Service Center or Cannon®’s factory, labor to haul out, remove, re-install or re-rig products for warranty service, or any similar items are the sole and exclusive responsibility of the purchaser. Warranty service can be arranged by contacting a Cannon® Authorized Service Center or by contacting the factory at 1-800-227-6433 or by email to [email protected]. If the necessary repairs are covered by the warranty, we will pay the return shipping charges to any destination within the United States. Downriggers purchased outside of the U.S. (or parts of such downriggers) must be returned prepaid with proof of purchase (including the date of purchase and serial number) to any Authorized Cannon® Service Center in the country of purchase.
NOTE: Do not return your Cannon® downrigger or parts to your retailer. Your retailer is not authorized to repair or replace them.
Major parts, such as the motor and main frame, must be returned to JOME in Mankato, Minnesota, or a Cannon® Authorized Service Center, for repair or replacement. To reduce shipping costs, we suggest removal of loose parts such as the boom and rod holders. Small parts that can be easily removed such as the handle and/or the counter, may be removed from the downrigger and returned for repair or replacement. Retain your sales receipt. Proof of purchase must accompany product when returned.
Return Address:
Johnson Outdoors Marine Electronics, Inc.
Attn: Cannon Service Dept.
121 Power Drive
Mankato, MN 56001
ASSEMBLY & INSTALLATION

DOWNRIGGER PARTS DESCRIPTION
- Reel: This is used to spool the cable, available in lengths ranging from 150 to 400 feet.
- Boom: This is used to extend the weight out from the body of the downrigger and has a pulley fixed to its end. The boom length is 18 inches.
- Swivel Head and Depth Meter: This relays the cable at the end of the boom to lower the weight, and provides information as to how much cable you have run out, enabling you to choose your trolling depth.
- Weight: This is used to maintain the depth at which you want to fish. Sizes of weights range from 4 to 10 lbs.
- Cable: This connects to the weight.
- Mounting Base: This attaches to the boat, enabling you to place the downrigger where you choose.
- Rod Holder: This holds your fishing rods while trolling and may also be used for storing rods.*
* This diagram is for reference only and may differ from your actual downrigger.
DOWNRIGGER MOUNTING
Choosing a good location to mount your downrigger on your boat is very important. A downrigger should be mounted in a location where it is easy to observe your fishing rod and react quickly to operate the downrigger once there is a fish on the line.
MOUNTING ACCESSORIES
Cannon offers a complete line of mounting accessories that allow you to optimize your spread to fit the way you fish. Before making any permanent changes to your boat, consider what accessories might be used in your application. To see the complete line of mounting accessories available, visit cannondownriggers.com.
Deck Plates are necessary when extra strength must be added to the base material of the boat and for attaching the downrigger to other mounting accessories.
Gimbal Mounts are designed to fit medium-sized flush mounted rod holders built into the gunwale of many larger fishing boats and cruisers. Only sturdy, high quality rod holders should be used for this temporary mounting system. Gimbal mounts are available in 9″ or 12″ post lengths.
Clamp Mounts can be mounted at the junction of two rail sections with the aid of two ¼” pieces of plywood. They will protect your rail from any marks from the clamp and provide a non-slip surface.
Side/Rail mounts can be mounted to a welded T-section. It can also be used at the two rail section butt joint. In both installations it is recommended to use a non-slip material, such as rubber or a thin wood sheet, between metal surfaces.
You can also use these for mounting to a very narrow side gunwale. There is a plate provided for back-up with bolts and washers. If the gunwale compartment is foamed in, then wellnuts should be used. It is also recommended to install two additional flat head screws through the top plate for stabilization (you will need to drill and countersink).

Typical Mounting Positions
Gimbal Mount

Clamp Mount
Side Rail Mount on T-Section
Side Rail Mount on Gunwhale 
INSTALLING THE INCLUDED MOUNTING BASE
Decks thinner than 1/4″
Use a Cannon deck plate (sold separately – PN 2200693) to prevent deflection and add stability to decks thinner than 1/4″. Use the deck plate as a template to mark the hole locations.
If access to the underside of the deck is not available, the deck plate can be mounted using screws and wellnuts (not included). Use the deck plate as a template to mark locations and drill 4 wellnut clearance holes. Use four 1/4-20 x 1-1/2″ flat head screws and four wellnuts to mount deck plate. Tighten the screws so the wellnuts are firmly compressed.
Where the underside is accessible, the deck plate can be mounted using screws, nuts, and washers. Drill 9/32″ holes. Use four 1/4-20 x 1-1/2″ flat head screws, nuts and washers (flat and lock). Fasten plate to deck. To secure the mounting base to the deckplate use four 1/4-20 x 1″ truss head screws.
Deckplate
Decks from 1/4″ to 7/16″ thick
Where access to the underside of the deck is not available, the mounting base can be attached to the deck using wellnuts. Use the base as a template to mark locations and drill four wellnut clearance holes. Mount the base using four 1/4-20 x 1-1/2″ truss head screws and four wellnuts. Tighten the screws so the wellnuts are firmly compressed as pictured.
Decks thicker than 7/16″
For decks thicker than 7/16″, or where the underside of the deck is accessible, mount the base with screws, nuts, and washers. Use the base as a template to mark the locations and drill four 9/32″ holes. Use four 1/4-20 x 2″ truss head screws and four each flat washers and nuts. Fasten the base to the deck as pictured.
NOTE: Wellnuts SHOULD NOT be used on decks thicker than 7/16″.
NOTE: When using the telescopic boom, we strongly recommend the use of a deck plate on all boats to provide adequate stability for the downrigger.
Low-Profile Swivel Base
To mount the Low-Profile Swivel Base, follow the same procedure as for the deck plate with this exception: use four 1/4″-20 x 1-1/2″ truss head screws to fasten the mounting base and four additional 1/4″-20″ x 2-1/2″ truss head screws to attach the swivel base to the boat deck.

Decks from 1/4” to 7/16” Thick

Decks Thicker Than 7/16”

Low-Profile Swivel Base
MOUNTING THE DOWNRIGGER ON THE INCLUDED BASE
Slide the bottom of the frame over the lip of the base, with the boom outboard or facing the stern. Move the frame over the base until the latch clicks into place. If properly seated, the frame should completely cover the base.
CAUTION: If not fully seated, your downrigger can be dislodged from the base.
NOTE: Periodically check base to ensure integrity. It is recommended that the base be replaced once every five years.

INSTALLING THE BOOM
- Insert the boom into the downrigger frame.
- Secure it by seating it firmly against the shoulder inside the frame and fastening the boom locking screw (#8 X 1″ self tapping) so that it engages the hole in the boom.

- Boom
- Frame
- Boom Locking Screw
ATTACHING SWIVEL HEAD TO THE BOOM
- Spread the swivel head side plates and slip the assembly over the boom end.
- Leave the corrugated spacer in place until the assembly is snapped together.
- Remove the spacer and install the two #4 x 1/2″ screws into the swivel head.
NOTE: Adjusting the angle of the boom head can help control cable wrap on the reel.

- Boom End
- Screws
- Swivel Head
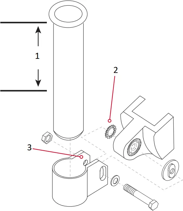
ATTACHING THE CRANK HANDLE ASSEMBLY
- Make sure the thrust bearing is placed between both thrust washers. The spring should be oriented with the narrow end is toward the bearing.
- Slide the bearing, washers and spring over the shaft.
- Carefully thread the crank handle onto the shaft and continue turning the handle clockwise until the clutch is fully tightened.

- Thrust Bearing
- Spring
- Race Bearings
- Crank Handle
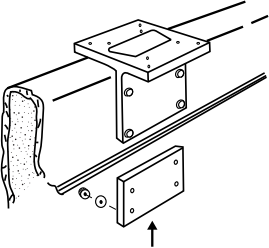
ATTACHING THE ROD HOLDER
The positive lock rod holder incorporates a locking disk that allows the rod holder to be aligned in 15 degree increments. Slide the rod holder tube into the clamp to the desired position within the recommended area (see below).
- Slide the rod holder tube into the clamp to the desired position within the recommended area (see below).
- Be sure the angled shoulders are facing up. Place the locking disk into the mating recess of the frame.
- Slip the clamp arms in place where the obround tab on the disk fits into the slot on the clamp.
- Slide the star washer between the arm of the clamp and the frame. Place the flat washer onto the bolt.
- Insert the bolt with washer through the clamp by entering the disk, going through the frame, the star washer, and out the other side of the clamp. Tighten the nut to secure the rod holder.
- Reposition the rod holder by loosening the nut and adjusting the tilt.

- Recommended Area to Clamp Rod Holder
- Star Washer Placement
- Angled Shoulder
CAUTION: This rod holder is intended for use of up to 30 lb. test line only, and is not recommended for use with any tackle IGFA rated higher than 30 lb. A safety strap (not included) is recommended for all applications.
The rod holder assembly is not warranted when used with tackle above 30 lbs. Equipment placed in the rod holders and the loss thereof is the responsibility of the user and is in no way warranted by CANNON, INC.. Mounting must be in accordance with the above instructions and diagram to be warranted.
TERMINATING THE DOWNRIGGER CABLE
NOTE: Use only straight cable when routing through the terminator. Worn or kinked cable can be stressed and may break prematurely when retrieving trolling weights.
NOTE: A set of pliers with wire cutters is recommended for this part of setup.
- Unwind about 2 feet of cable and thread through the rubber cushion.
Attach Swivel Snap to terminator. - Examine the top of the terminator and note the order shown in the detail to run cable.
- Lead and pull six inches of cable through HOLE A. Thread cable through swivel, then up into bottom of the terminator. Lead cable out of HOLE B and into HOLE C. Push the cable until its end touches the inside of the terminator hook. Tighten cable by squeezing terminator until it snaps shut. Then pull at top and bottom until drawn tight. Make sure that the cable threads the hook.
NOTE: Use only straight cable, not kinked cable. - Slide the cushion over the top of the terminator and give it a test pull. The cable is now set to attach a Cannon Flash Weight™.

- Rubber Cushion
- Cable
- Snap & Swivel
- A. CABLE IN
- C. CABLE IN
- B. CABLE OUT
- HOLE A
- HOLE B
- Swivel
- HOLE C
ATTACHING THE LINE RELEASE (UNI-RELEASE)
The Cannon Uni-Release attaches directly to the downrigger weight. Attach fishing line to the clip at the end of the release, and then click through a series of increasing tension settings. The release can be used with any test line on salt or fresh water and may be adjusted from 2 to 22 pounds of grip tension on the line.
To change line release tension, turn tension knob to (+) to increase or (-) to decrease. Tension also may vary according to where the line is placed in the grips. Higher tension is on the line if it is set back toward the hinge, and lower if set closer to the opening. To open the release, spread the release arms with thumb and forefinger applying pressure to the sides.

- Open
- Close
- Tension Adjust
- Fishing Line
- Gripper Pads
OPERATING THE DOWNRIGGER
OPERATING YOUR DOWNRIGGER
After mounting the Cannon downrigger to your boat, release some line from your rod and reel so that the lure is anywhere from 5 to 100 feet behind the boat. This is called drop back.
Attach the fishing line firmly into the line release (see “Attaching the Line Release” for instructions). Lower the weight to the desired depth as indicated on the depth meter. Place the fishing rod in the rod holder and reel up the slack so that your rod has a slight bend in it. When a fish strikes the lure, the line will separate from the release. Then you will be free to fight the fish and bring it in on your rod and reel.
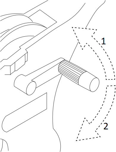
LOWERING THE WEIGHT
You can lower the trolling weight at a controlled rate by turning the crank handle gently counter-clockwise (away from the boom). Depending on how far you turn, you can let your trolling weight descend as fast or as slowly as you wish. Turn the crank handle clockwise (toward the boom) until the clutch is tight (the continuous clicking will stop and the handle will not turn forward any further). This gives you control to let it plunge rapidly or sink slowly to a predetermined trolling depth. With multiple downriggers, you could start all your weights creeping down, one at a time, and then stop them each in turn.
RAISING THE WEIGHT
Turn the crank handle clockwise (toward the boom) as rapidly as you desire to retrieve the trolling weight.

- To Lower Weight
- To Raise Weight
ADJUSTING THE CLUTCH TENSION
The clutch is built into the crank mechanism. Turn crank handle clockwise to increase the drag and counterclockwise to reduce it.
CAUTION: Remove weight from downrigger before traveling either by water or transporting on trailer.
ADJUSTING THE DEPTH METER
The depth meter is located on the side of the swivelhead, as pictured. You can raise or lower your depth by turning the crank handle. The depth meter counts the revolutions of the reel and reflects your depth in feet. To reset the depth meter, simply turn the reel with your fingers backwards or forwards until you reach 0.

BLOWBACK CALCULATIONS
BLOWBACK
Simply stated, blowback is what happens to the downrigger weight when you pull it through the water behind your boat. As your speed increases, so does the horizontal distance between the weight and your downrigger. The faster you go, the farther the weight is behind you. The farther the weight is behind you, the shallower the weight is.
The following charts provide you with blowback information for three sizes of Cannon downrigger weights pulled at three different speeds with no lures attached and with no current. Current drag, water salinity and the use of non-Cannon products will affect your actual trolling depth.
As an example, the first chart shows that if you are trolling at 4 MPH with an 8 pound weight and you have 100FT. of cable in the water with no current; the down rigger ball is actually at a depth of about 80 FT.



SERVICE & REPAIR
FREQUENTLY ASKED QUESTIONS
We have FAQs available on our website to help answer all of your Cannon questions. Visit www.cannondownriggers.com and click on “Frequently Asked Questions” under the “Service” tab to find an answer to your question.
CALL US (FOR U.S. AND CANADA)
Our customer service representatives are available Monday – Friday between 7:00am – 4:30pm CST at 800-227-6433. If you are calling to order parts, please have the 11-character serial number from your product, specific part numbers, and credit card information available. This will help expedite your call and allow us to provide you with the best customer service possible. You can reference the parts list located in your manual to identify the specific part numbers.
EMAIL US
You can email our customer service department with questions regarding your Cannon products. To email your question, visit www.cannondownriggers.com and click on “Contact Us” under the “Service” tab.
REPLACEMENT PARTS
In the U.S.A., replacement parts may be ordered directly from CANNON Parts Dept., 121 Power Drive, Mankato, Minnesota 56001. Be sure to provide the MODEL and SERIAL numbers of your downrigger when ordering parts. Please use the correct part numbers from the parts list. Payment for any parts ordered from the CANNON Parts Department may be by cash, personal check, Discover Card, MasterCard or VISA. To order, call 1-800-227-6433 or FAX 1-800-527-4464.
Cannon works with authorized service centers in the United States and Canada to provide parts and service for your downrigger. Please visit our Authorized Service Center page to locate a service center in your area.
COMPLIANCE STATEMENTS
ENVIRONMENTAL COMPLIANCE STATEMENT:
It is the intention of JOME to be a responsible corporate citizen, operating in compliance with known and applicable environmental regulations, and a good neighbor in the communities where we make or sell our products.
WEEE DIRECTIVE:
EU Directive 2002/96/EC “Waste of Electrical and Electronic Equipment Directive (WEEE)” impacts most distributors, sellers, and manufacturers of consumer electronics in the European Union. The WEEE Directive requires the producer of consumer electronics to take responsibility for the management of waste from their products to achieve environmentally responsible disposal during the product life cycle.
WEEE compliance may not be required in your location for electrical & electronic equipment (EEE), nor may it be required for EEE designed and intended as fixed or temporary installation in transportation vehicles such as automobiles, aircraft, and boats. In some European Union member states, these vehicles are considered outside of the scope of the Directive, and EEE for those applications can be considered excluded from the WEEE Directive requirement.
![]()
This symbol (WEEE wheelie bin) on product indicates the product must not be disposed of with other household refuse. It must be disposed of and collected for recycling and recovery of waste EEE. Johnson Outdoors Inc. will mark all EEE products in accordance with the WEEE Directive. It is our goal to comply in the collection, treatment, recovery, and environmentally sound disposal of those products; however, these requirement do vary within European Union member states. For more information about where you should dispose of your waste equipment for recycling and recovery and/or your European Union member state requirements, please contact your dealer or distributor from which your product was purchased.
DISPOSAL:
Johnson Outdoors Inc. products are not subject to the disposal regulations EAG-VO (electric devices directive) that implements the WEEE directive. Nevertheless never dispose of your product in a garbage bin but at the proper place of collection of your local town council.
Never dispose of battery in a garbage bin. Comply with the disposal directions of the manufacturer or his representative and dispose of them at the proper place of collection of your local town council.
PARTS DIAGRAM
LAKE-TROLL MANUAL DOWNRIGGER
This page provides Cannon® WEEE compliance disassembly instructions. For more information about where you should dispose of your waste equipment for recycling and recovery and/or your European Union member state requirements, please contact your dealer or distributor from which your product was purchased.
Tools required, but not limited to:
-flat head screw driver
-Phillips screw driver
-socket set
-pliers
-wire cutters.

ITEM | QTY | PART NUMBER | DESCRIPTION |
1 | 1 | 3330001 | FRAME – LAKE-TROLL (LEXAN) |
2 | 1 | 3395617 | DECAL – NOSE, LAKE-TROLL |
3 | 2 | 9010001 | BEARING – REEL SHAFT |
4 | 2 | 9430210 | WASHER – 7/8″ NYLON ROUND |
5 | 1 | 3397917 | REEL – ROUGH 3.75″ (LEXAN) |
6 | 1 | 1080001 | SHAFT – REEL |
7 | 1 | 3393412 | SCREW – SET 5/16″-18 X 1″ (REEL) |
8 | 1 | 3775392 | SPOOL CABLE SS [150.FT] |
9 | 1 | 9100070 | CABLE LEADER SLEEVE |
10 | 1 | 0467695 | BRAKE PLATE – REEL |
11 | 1 | 3391710 | CLUTCH PAD |
12 | 1 | 0467694 | BRAKE PLATE – RATCHET |
13 | 1 | 1000904 | SHAFT – RATCHET |
14 | 2 | 3391737 | WASHER – THRUST |
15 | 1 | 9010280 | BEARING – THRUST |
16 | 1 | 9400040 | SPRING – HAND CRANK |
17 | 1 | 0422002 | CRANK HANDLE, LAKE-TROLL |
18 | 1 | 1021480 | CLUTCH COVER |
19 | 1 | 9400070 | SPRING – DOG RATCHET |
20 | 1 | 9100160 | DOG – RATCHET |
21 | 4 | 9370220 | SCREW – #10 X 1-1/4″ FH TYPE A |
22 | 1 | 9100721 | RED THREAD CAP |
23 | 1 | 3395631 | DECAL – CANNON SMALL (BLACK) |
24 | 1 | 3395630 | DECAL – CANNON LARGE (BLACK) |
25 | 1 | 2477001 | BAG ASSY – SINGLE ROD HOLDER KIT |
*26 | 1 | 0290796 | >TUBE – ROD HOLDER |
*27 | 1 | 2151726 | >WASHER – 5/16″ FLAT |
*28 | 1 | 2383106 | >NUT – 5/16″-18 SS |
*29 | 1 | 3319005 | >CLAMP – ROD HOLDER W/ SLOT |
*30 | 1 | 3325002 | >DISK – ROD HOLDER |
*31 | 1 | 9040310 | >BOLT – HEX 5/16″-18 X 2″ |
*32 | 1 | 9430160 | >WASHER – STAR 5/16″ |
*33 | 1 | 2277002 | >UNIVERSAL LINE RELEASE |
34 | 1 | 3774001 | SWIVEL HEAD ASSEMBLY W/ COUNTER |
*35 | 1 | 0267001 | SIDE PLATE (RH) |
*36 | 1 | 0269726 | PULLY – SWIVEL HEAD |
*37 | 1 | 0325002 | COUNTER – SWIVEL HEAD |
*38 | 1 | 0333001 | GEAR – INTERMEDIATE, SWIVEL HEAD |
*39 | 1 | 0333002 | GEAR – REDUCTION, SWIVEL HEAD |
*40 | 1 | 0367004 | SIDE PLATE (LH), W/ COUNTER |
*41 | 2 | 9010070 | HDW BEARING BRASS |
*42 | 1 | 9100690 | CLAMP – RING, PUSH ON |
43 | 1 | 3316001 | CAP – BOOM END |
44 | 1 | 9370002 | SCREW – #8-32 SELF TAPPING |
45 | 1 | 3778901 | TAB LOCK MOUNTING BASE |
*46 | 1 | – | BASE – TAB LOCK, NO TAB (LEXAN) |
*47 | 1 | 3391001 | LOCKING TAB |
48 | 1 | 2994894 | *BAG ASSEMBLY, MOUNTING (KIT #4) |
49 | 4 | 2263102 | NUT – HEX 1/4″-20 |
50 | 4 | 2371712 | WASHER – 9/32″ FLAT |
51 | 1 | 9100100 | TERMINATOR |
52 | 1 | 9100101 | TERMINATOR CUSHION |
53 | 1 | 9100620 | TERMINATOR SNAP & SWIVEL |
54 | 4 | 9280713 | BOLT – TRUSS 1/4″ – 20 X 1-1/2″ |
55 | 4 | 9280725 | BOLT – TRUSS 1/4″ – 20 X 2-1/2″ |
56 | 3 | 9370010 | SCREW – #4 X 1/2″ PPH |
57 | 4 | 9950357 | WASHER – LOCK 1/4″ SPLIT |
58 | 1 | 3310008 | 16″ BOOM – COPOLYMER |
* THIS ITEM IS PART OF A KIT AND ONLY LISTED FOR VIEWING PURPOSES.
©2015 Johnson Outdoors Marine Electronics, Inc. cannondownriggers.com
RECOMMENDED ACCESSORIES
ROD HOLDERS & TRACK SYSTEMS
Incredible versatile rod holders, rock-solid bases and plates. It’s everything you need to rig your boat up to fit the way you fish – and you can mount it all up on our track system, which features interchangeable components made of high-strength aluminum.

DUAL AXIS ADJUSTABLE ROD HOLDER

ALUMINUM MOUNT TRACK SWIVEL BASE PEDESTAL
MOUNTS
Rig it up and reel ’em in with a variety of mounting options suited to fit the way you fish.

SWIVEL BASE DECK PLATE

CLAMP MOUNT GIMBAL MOUNT
LINE RELEASES & WEIGHTS
We offer a wide variety of downrigger accessories designed to give you the best fishing experience:

- Uni-Line Release
- Uni-Stacker Release
- 4 to 12 lb. weights
For a complete listing of Cannon accessories, visit cannondownriggers.com
Cannon Consumer & Technical Service
Johnson Outdoors Marine Electronics, Inc.
PO Box 8129
Mankato, MN 56002-8129
121 Power Drive
Mankato, MN 56001
Phone (800) 227-6433
Fax (800) 527-4464

©2015 Johnson Outdoors Marine Electronics, Inc.
All rights reserved.
Part #3397104 ECN 38752 Rev G 05/18
FREQUENTLY ASKED QUESTIONS
CALL US (FOR U.S. AND CANADA)
REPLACEMENT PARTS
AUTHORIZED SERVICE CENTERS
















