BUNKER 29779 Preparing 5-7 Drawer Trolley

Product Information
Preparing 5 / 7 Drawer Trolley
The Preparing 5 / 7 Drawer Trolley comes with a stock number of 29779 / 29792. The trolley has handles, bumpers, and castors that need to be attached during assembly. The castors need to be greased annually using high-quality bearing grease for maintenance. The surfaces of the trolley should be periodically cleaned with mild detergent and water. Auto wax can be used to preserve the storage unit’s luster finish and protect it against scratches.
Assembly Instructions
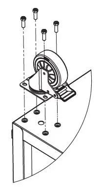
- Attach handles to the front angled side with 4 pieces of M8 x
20mm bolt. Do not fully tighten. - Attach bumpers to the side panel with 4 pieces of M4 x 10mm
bolt. Do not fully tighten. - Attach castors to the bottom of the unit with 16 pieces of M8 x
20mm bolt. Do not fully tighten.
To remove and replace drawers, refer to the user manual.
Product Information
Preparing 1 Door Tall Cabinet
The Preparing 1 Door Tall Cabinet comes with a stock number of 33165. The cabinet comprises of top and bottom panels, left and right side panels, back panel, door, front kick panel, side kick panel, shelf panels, foot holder, leg leveler, M8 x 16mm bolt, M6 x 16mm bolt, and flat washer. The cabinet panels and kick panels need to be assembled using bolts and washers. Two cabinets can be connected using M6 x 16mm bolts and nuts. The cabinet also comes with leg levelers for support.
Assembly Instructions
- Attach the back panel (item 5) to left and right side panels (item 3 and 4) by engaging the holes on the left and right side panels with the corresponding hooks on the back panel.
- Insert the top panel (item 1) into the side and back panels. Lay the cabinet flat on the ground if necessary.
- Insert the bottom panel (item 2) into the side and back panels. Lay the cabinet flat on the ground if necessary.
- Attach the leg leveller (item 11) to foot holder (item 10). Insert bolt M8 x 16mm (item 12) through the foot holder into the cabinet.
- Attach the front and side kick panel (item 7 and 8) to foot holder with bolt M6 x 16mm (item 13).
- Obliquely place the four shelf panels (item 9) in the cabinet, secure the shelf panels at four desired heights by carefully inserting the shelf edges into the flanges on left and right side panels. Make sure each shelf is level.
- Place the flat washer (item 14) into the hinge pin, align the hinge pin on the bottom of the door with the hole on bottom panel, slowly and carefully insert the hinge pin into the hole. Align the hinge pin on the top of the door with the hole on top panel, slowly and carefully insert the hinge pin into the hole.
To connect two cabinets, refer to the user manual.
Product Information
Installing Worktop
The Installing Worktop product comes with a stock number of 33171, 33172, 33178, 33180, 33182, 33192, 33203, 33210. The worktop needs to be placed on cabinets and aligned with the pre-drilled holes in the worktop and cabinets. Secure bolt M6 x 16mm through the top of the cabinets into the worktop pre-drilled holes.
Installation Instructions
- Place the worktop on cabinets.
- Align the pre-drilled holes in worktop with holes in cabinets.
- Secure bolt M6 x 16mm through the top of the cabinets into the worktop pre-drilled holes.
INSTALLATION INSTRUCTION
- Attach Handles
- Attach handles to front angled side with 4 pieces of M8 x 20mm bolt. Do not fully tighten.

- To make assembly easier we recommend having two persons aid one another in assembly.
- Attach handles to front angled side with 4 pieces of M8 x 20mm bolt. Do not fully tighten.
- Attach Bumpers

- Attach bumpers to the side panel with 4 pieces of M4 x 10mm bolt.
- Do not fully tighten.
- Attach Castors
- Attach castors to the bottom of unit with 16 pieces of M8 x 20mm bolt.
- Do not fully tighten.


REMOVING AND REPLACING THE DRAWERS
- Pull the drawer completely out
- Press down the left tab and lift up the right tab
- Pull drawer off sliders
- To reinstall the drawer, realign with the internal drawer slider and push in until locked in place
CASTOR MAINTENANCE
- Grease the castors annually using high-quality bearing grease.
CARE AND CLEANING
- Periodically the surfaces should be cleaned with a mild detergent and water. Grease and oil can be removed with most standard cleaning fluids. For safety, use a non-flammable cleaning fluid.
- Auto wax will preserve the storage unit’s luster finish and protects against scratches.
To make assembly easier we recommend having two persons aid one another in assembly.
PARTS Description
| Item | Description | Quantity |
| 1 | Top Panel | 1 |
| 2 | Bottom Panel | 1 |
| 3 | Left Side Panel | 1 |
| 4 | Right Side Panel | 1 |
| 5 | Back Panel | 1 |
| 6 | Door | 1 |
| 7 | Front Kick Panel | 1 |
| 8 | Side Kick Panel | 2 |
| 9 | Shelf Panel | 4 |
| 10 | Foot Holder | 4 |
| 11 | Leg Leveller | 4 |
| 12 | M8 x 16mm bolt | 16 |
| 13 | M6 x 16mm bolt | 12 |
| 14 | 12 x 7 x 5mm Flat Washer | 1 |
CABINET CONNECTION
- Connect the side panels of two cabinets with (4) bolt M6 x 16mm and nut M6, and tighten with phillips screwdriver (not included).
- Note: remove the drawers and open the doors before cabinet connection.

STEP 1:
- Attach back panel (item 5) to left and right side panels (item 3 and 4) by engaging the holes on the left and right side panels with the corresponding hooks on back panel.

STEP 2:
- Insert the top panel (item 1) into the side and back panels. Lay the cabinet flat on the ground if necessary.

STEP 3:
- Insert the bottom panel (item 2) into the side and back panels. Lay the cabinet flat on the ground if necessary.

STEP 4:
- Use packaging material to protect the unit. Attach the leg leveller (item 11) to foot holder (item 10). Insert bolt M8 x 16mm (item 12) through the foot holder into the cabinet.

STEP 5:
- Attach the front and side kick panel (item 7 and 8) to foot holder with bolt M6 x 16mm (item 13).

STEP 6:
- Obliquely place the four shelf panels (item 9) in the cabinet, secure the shlef panels at four desired heights by carefully inserting the shelf edges into the flanges on left and right side panels. Make sure each shelf is level.

STEP 7:
- Place the flat washer (item 14) into the hinge pin, algin the hinge pin on the bottom of the door with the hole on bottom panel, slowly and carefully insert the hinge pin into the hole. Algin the hinge pin on the top of the door with the hole on top panel, slowly and carefully insert the hinge pin into the hole.

- To make assembly easier we recommend having two persons aid one another in assembly.
- Place the worktop on cabinets, align the pre-drilled holes in worktop with holes in cabinets, secure bolt M6 x 16mm through the top of the cabinets into the worktop pre-drilled holes.

- To make assembly easier we recommend having two persons aid one another in assembly.
STEP 1:
- Attach wall bracket (single and double) to cabinet with bolt M8 x16mm, washer 18 x 8 x 1mm and spring washer 14 x 8.8 x 2.6mm, and tighten with wrench (not included).
STEP 2:
- Attach back panel to wall bracket (single and double) with bolt M6 x 16mm, nut M6 and spring washer 12 x 6.5 x 0.8mm, and tighten with wrench (not included).

STEP 3:
- Attach wall cabinet to wall bracket (single and double) with bolt M8 x 16mm, flat washer 8 x 8 x 1mm and spring washer 14 x 8.8 x 2.6mm, and tighten with wrench (not included)

STEP 4:
- Connect the side panels of two cabinets with M6 x 16mm and nut M6, and tighten with wrench (not included).

CABINET CONNECTION
- Connect the side panels of two cabinets with (4) bolt M6 x 16mm and nut M6, and tighten with wrench (not included).
- Note: remove the drawers and open the doors before cabinet connection.

- Attach wall bracket (double) to back panel with (10) bolt M6 x 16mm, nut M6 and flat washer 12 x 6.5 x 0.8mm, and tighten with wrench (not included).
- Attach wall bracket (double) to wall cabinets and base cabinets / trolley with (8) bolt M8 x 16mm, flat washer 18 x 8 x 1mm and spring washer 14 x 8.8 x 2.6mm, and tighten with wrench (not included).
- Attach wall bracket (single) to back panel with (5) bolt M6 x 16mm, nut M6 and flat washer 12 x 6.5 x 0.8mm,and tighten with wrench (not included).
- Attach wall bracket (single) to wall cabinets and base cabinets / trolley with (4) bolt M8 x 16mm, flat washer 18 x 8 x 1mm and spring washer 14 x 8.8 x 2.6mm, and tighten with wrench (not included).

- drapertools.com
- Draper Tools Limited, Hursley Road, Chandler’s Ford, Eastleigh, Hampshire. SO53 1YF UK.




































