OHIOSTEEL 48CP 48-Inch Core Plug Lawn Aerator

READ AND FOLLOW ALL SAFETY RULES AND OPERATING INSTRUCTIONS BEFORE USING THIS EQUIPMENT.
Safety Rules
This is the safety alert symbol. It is used to alert you to potential personal injury hazards. Obey all safety messages that follow this symbol to avoid possible injury or death.
Read and understand all safety rules and operating instructions before using this tractor attachment.
- Follow all safety rules and operating instructions provided by your tractor’s manufacturer when using attachment.
- Never allow children or untrained persons to operate tractor or attachment. Reduce tractor speed to slowest setting when towing or operating on slopes. Operate up and down slopes, never across the face of slopes.
- Do not carry passengers on tractor or attachment.
- Avoid sudden turns or maneuvers.
- Do not tow attachment on public roadways.
- Do not remove warning decals from product.
- Check product for worn, loose, or damaged parts before each use. If any damage is present, repair the product before using.
- Check product for loose or missing fasteners before each use. Tighten or replace fasteners as needed before using.
- Do not exceed tractor speed of 6 miles per hour when towing Lawn Aerator.
- Do not exceed tractor speed of 3 miles per hour when operating Lawn Aerator. Lawn Aerator has sharp points; always handle with care and wear proper footwear when operating.
Carton Contents

TOOLS REQUIRED FOR ASSEMBLY:
- 1/2″ Wrench and Socket
- 9/16″ Wrench and Socket
- 3/4″ Wrench and Socket
- Needle-Nose Pliers
- Grease Gun
- Mallet
Assembly Instructions
- Attach Hitch to Top Plate and tighten hardware.

- Attach Center Plates to Top Plate and tighten hardware.
Insert Bushings to hold Spool in place.
- Hold Foot Lever in place and slide Axle into position, then tighten hardware.
Install Tube Plugs into Foot Lever using a mallet if necessary.
- Slide Bushings, Spools, and Spacers onto both ends of Axle as shown.

- Attach Side Plates to Top Plate and tighten hardware.

- Install final Bushings onto both ends of Axle.

- Slide Wheel Brackets onto Axle as shown and tighten hardware.

- Slide Washers and Wheels onto Wheel Brackets and install Cotter Pin.
Bend legs of Cotter Pin to secure.
- Hook the Tine Spring into the cutout as shown (Figure A).
Push the Tine Spring towards the center of the Spool and twist until it locks into the slot (Figure B).
- Slide the Tine into the Tine Spring.
Secure with pins as shown.
- Rotate each Spool and verify that all 40 Tines are pointed in the same direction as shown.

- Slide Locking Handle through hole in Top Plate and fasten to Foot Lever.
Install Handle Grip and Hitch Pin as shown.
DO NOT TIGHTEN NUT COMPLETELY, BOLT MUST SPIN FREELY.
Operating Instructions
Before Using Lawn Aerator:
- Apply grease to wheels using grease gun until grease can be seen squeezing out from both sides of the wheel.
- Check tire pressure and inflate to 24 psi if needed.
- Read all Safety Rules found.
How to Aerate Lawn:
- Mow lawn and remove loose clippings.
- If ground is extremely hard or dry, it should be watered for one to two hours before aerating.
- Do not aerate if ground is too wet or muddy.
- Attach Lawn Aerator to tractor using supplied hitch pin.
- Step down on foot lever and engage locking handle to top plate. Tines should not be contacting the ground.
- Start tractor engine and tow Lawn Aerator to lawn.
- Step down on foot lever and push locking handle forward to disengage from top plate. Slowly allow foot lever to raise until tines have contacted the lawn.
- Engage tractor drive at its slowest speed and begin aerating. Increase tractor speed as desired.
- Aerate in straight lines whenever possible and avoid sharp turns.
- Optimal aeration will yield soil plugs roughly 2-3 inches in length. Add weight and/or reduce tractor speed as necessary to improve aeration.
- Four standard concrete blocks (140 lbs), or other weights up to 200 lbs, can be added to the top plate to increase aeration depth. Always secure weights to top plate using bungee straps (not provided).
Periodic Maintenance:
- Tighten fasteners as needed before each use
- Check tire pressure before each use
- Grease wheels annually
Warranty
If this product fails due to a defect in material or workmanship within THREE YEARS from the date of purchase, we will at our option repair or replace it free of charge. This warranty excludes tires, wheels, springs and tines, which are expendable and become worn during normal use.
This warranty does not cover:
- Repairs necessary because of operator abuse or negligence.
- Equipment used for commercial or rental purposes.
- Paint that is worn or faded due to normal use or exposure.
To arrange for product repair call 1-800-652-2321, or return this product to place of purchase for replacement.
This warranty gives you specific legal rights, and you may also have other rights which may vary from state to state. This warranty applies only while this product is in use in the United States.
In the space below record the purchase date of your Lawn Aerator.
Model Number 48CP
Purchase Date
Keep this Owner’s Manual and your receipt in a safe place for future reference.
After the three year warranty period all replacement parts may be ordered by calling 1-800-652-2321, or visit www.ohiosteel.com/parts
When ordering replacement parts, always give the following information:
- Product 48″ CORE PLUG LAWN AERATOR
- Model Number 48CP
- Part Number
- Part Description
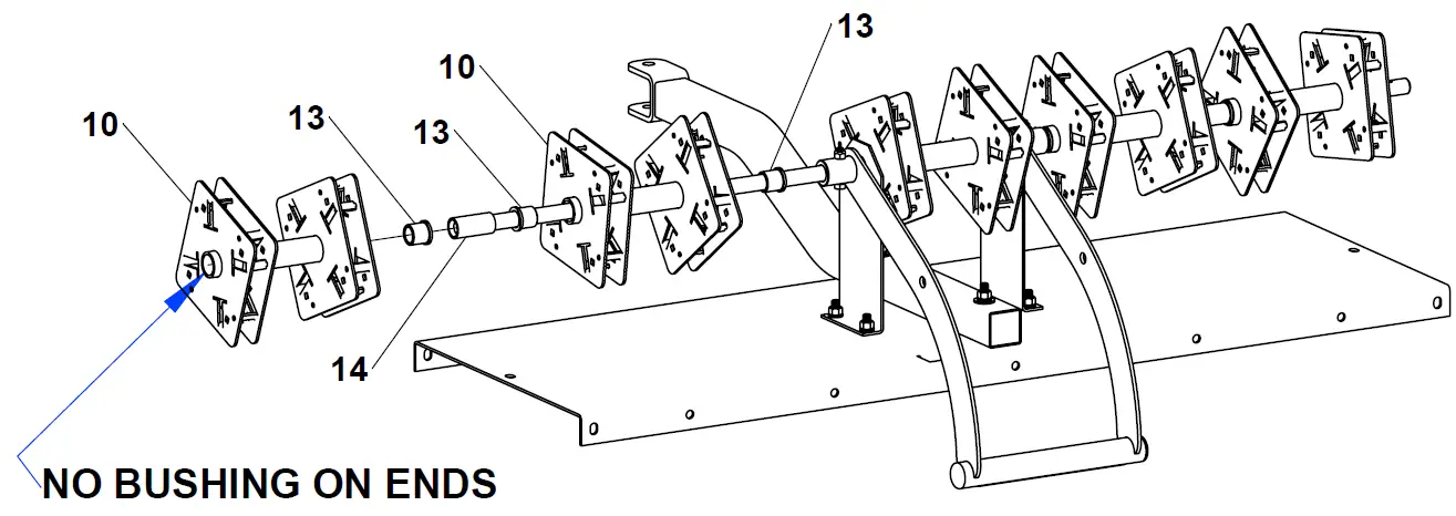
Exploded View

| ITEM | PART NO | DESCRIPTION | QTY | ITEM | PART NO | DESCRIPTION | QTY |
| 1 | 406474 | Top Plate | 1 | 19 | 6000533 | Hitch Pin | 1 |
| 2 | 406475 | Side Plate | 2 | 20 | 300084 | Hairpin Cotter, 2-5/16″ | 1 |
| 3 | 406476 | Center Plate | 2 | 21 | 300071 | 5/8″ SAE Flat Washer | 4 |
| 4 | 306003 | Axle | 1 | 22 | 300089 | Cotter Pin, 1/8″ x 1″ | 2 |
| 5 | 506072 | Hitch | 1 | 23 | 3000616 | 5/16-18 Nyloc Nut | 4 |
| 6 | 506121 | Locking Handle | 1 | 24 | 3000535 | 5/16-18 x 1-3/4″ Hex Bolt, GR 5 | 4 |
| 7 | 506122 | Foot Lever | 1 | 25 | 3000622 | 1/2-13 Nyloc Nut | 1 |
| 8 | 306012 | Wheel | 2 | 26 | 3000536 | 1/2-13 x 2″ Hex Bolt | 1 |
| 9 | 506051 | Wheel Bracket | 2 | 27 | 3000511 | 3/8-16 x 1″ Hex Bolt | 10 |
| 10 | 506081 | Core Plug Spool | 5 | 28 | 300069 | 3/8-16 Hex Nut | 12 |
| 11 | 406511 | Core Plug Tine | 40 | 29 | 300078 | 3/8″ Split Lock Washer | 12 |
| 12 | 306131 | Tine Spring | 40 | 30 | 3000720 | 3/8″ USS Flat Washer | 14 |
| 13 | 300211 | Bushing | 10 | 31 | 3000531 | 3/8-16 x 2-3/4″ Hex Bolt | 2 |
| 14 | 3001212 | Spacer | 2 | 32 | 6000162 | OSI Pro Decal | 2 |
| 15 | 300223 | Tube Plug | 2 | 33 | 306033 | Hardware Bag | 1 |
| 16 | 300420 | Handle Grip | 1 | 34 | 306034 | Spring Bag | 1 |
| 17 | 3000811 | Clevis Pin, 1/4″ x 1-1/2″ | 40 | 35 | 6004181 | Tine Repair Kit | 1 |
| 18 | 3000812 | Hairpin Cotter, 1-3/16″ | 40 | 36 | 6000203 | Owner’s Manual | 1 |
| KIT | KIT NUMBER | PART NUMBER | PART DESCRIPTION | QTY |
| Tine Repair Kit | 6004181 | 406511 | Core Plug Tine | 10 |
| 6000282 | Tine Spring | 10 | ||
| 3000811 | Clevis Pin, 1/4″ x 1-1/2″ | 10 | ||
| 3000812 | Hairpin Cotter, 1-3/16 | 10 |
Before you call…
Please email our customer service team at [email protected] with:
- A description of the issue you are having
- Photos of the issue that include an overall view and detailed view from multiple angles
- If applicable, a short video showing the issue
If you believe this is a warranty related issue please see the warranty page in this manual
Replacement Parts:
If you are ordering replacement part(s) for your product, please note that some parts are only available as a repair kit.
- First locate the part on the Exploded View page
- Take note of the part number
- If the part number is on the Repair Kits page, use the kit number to order your replacement parts
- If the part number is not on the Repair Kits page, use the part number to order your replacement part
You can place your parts order online at ohiosteel.com/partsstore
You can also reach our Customer Service Department at 1-800-652-2321
www.ohiosteel.com
(800) 652-2321






























