Einhell GE-SA 1435-1 Electric Scarifier and Lawn Aerator

Danger!
When using the equipment, a few safety pre-cautions must be observed to avoid injuries and damage. Please read the complete operating instructions and safety regulations with due care. Keep this manual in a safe place, so that the in-formation is available at all times. If you give the equipment to any other person, hand over these operating instructions and safety regulations as well. We cannot accept any liability for damage or accidents which arise due to a failure to follow these instructions and the safety instructions.
Safety regulations
The corresponding safety information can be found in the enclosed booklet.
Danger!
- Read all safety regulations and instructions. Any errors made in following the safety regula-tions and instructions may result in an electric shock, fi re and/or serious injury.
- Keep all safety regulations and instructions in a safe place for future use.
- Description of the warning logos (see Fig. 24) A = Important!
- Read the directions for use before operating the tool.
- B = Keep other persons (and animals) away from the danger zone.
- C = Caution, sharp teeth. The teeth continue to rotate after the equipment is switched off . Pull the plug out of the socket outlet before carrying out any maintenance or if the cable becomes damaged.
- D = Wear hearing and eye protection.
- E = Keep the power cable away from the roller.
Layout and items supplied
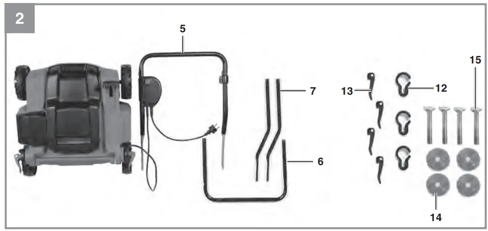
- Layout (Fig. 1/2)


- ON/OFF switch
- Safety lock-off
- Power cable
- Cable grip
- Top push bar
- Lower push bar
- Push bar bracket
- Scarifying depth
- Grass basket
- Ejector fl ap
- Frame parts for grass basket
- Cable clips
- Quick-release fastener
- Washer
- Screw for quick-release fastener
- Aerating roller
- Please check that the article is complete as specified in the scope of delivery. If parts are missing, please contact our service center or the sales outlet where you made your purchase at the latest within 5 working days after purchasing the product and upon presentation of a valid bill of purchase. Also, refer to the warranty table in the service information at the end of the operating instructions.
- Open the packaging and take out the equipment with care.
- Remove the packaging material and any packaging and/or transportation braces (if available).
- Check to see if all items are supplied.
- Inspect the equipment and accessories for transport damage.
- If possible, please keep the packaging until the end of the guarantee period.
Danger!
- The equipment and packaging material are not toys.
- Do not let children play with plastic bags, foils or small parts.
- There is a danger of swallowing or suff ocating!
- Original operating instructions
- Safety instructions
Proper use
The equipment can be used both as a scarifier and an aerator depending on the intended use. Only a few movements are required to change the roller. The scarifying roller is designed for ripping moss and weeds – complete with their roots – out of the soil and for loosening the soil. As a result, your lawn can absorb nutrients better and is cleaned. We recommend you scarify your lawn in the spring (April) and autumn (October). The aerating roller scratches the surface of the lawn, helping water to drain off more easily as well as promoting oxygen intake. Aerate your lawn throughout the growing period. The equipment is intended for private use i.e. for use in the home and gardening environments. Scarifiers for private use are machines whose annual operating time generally does not exceed 10 hours, during which the machine is primarily used to maintain small-scale, residential lawns and home/hobby gardens. Public facilities, sporting halls, and agricultural/forestry applications are excluded.
The operating instructions as supplied by the manufacturer must be kept and referred to in order to ensure that the equipment is properly used and maintained. The instructions contain valuable information on operating, maintenance, and servicing conditions.
Warning! Due to the high risk of bodily injury to the user, the equipment may not be used to grind up branches or hedge clippings. Moreover, the equipment may not be used as a power cultivator to level out high areas such as molehills. For safety reasons, the scarifier may not be used as a drive unit for other equipment or toolkits of any kind, unless specifically advised to do so by the manufacturer.
The equipment is to be used only for its prescribed purpose. Any other use is deemed to be a case of misuse.
The user/operator and not the manufacturer will be liable for any damage or injuries of any kind caused as a result of this.
Please note that our equipment has not been designed for use in commercial, trade, or industrial applications. Our warranty will be voided if the machine is used in commercial, trade, or industrial businesses or for equivalent purposes.
Technical data
- Voltage: …………………………………… 230 V ~ 50 Hz
- Power consumption: …………………………… 1400 W
- Idle speed: ………………………………………3300/min
- Working width: ……………………………………..35 cm
- Number of blades ……………………………16 pieces
- Number of claws: …………………………………….. 24
- Scarifying depth: ..………………+ 3 / -3 / -6 / -9 mm
- LpA sound pressure level: ………………… 79.4 dB(A)
- LWA sound power level: …………………… 99.4 dB(A)
- K uncertainty ………………………………… 1.94 dB(A)
- Vibration on the shaft has.…………………….6.0 m/s2
- K uncertainty …………………………………….2.4 m/s2
- Protection class: …………………………………… II / &
- Protection type: ……………………………………..IPX4
- Weight …………………………………………………11 kg
- Danger! Sound and vibration Sound and vibration values were measured in accordance with EN ISO 3744: 1995, EN ISO 11201: 1995, and EN 1033:1995.
- Keep the noise emissions and vibrations to a minimum.
- Only use appliances that are in perfect working order.
- Service and clean the appliance regularly.
- Adapt your working style to suit the appliance.
- Do not overload the appliance.
- Has the appliance been serviced whenever necessary?
- Switch the appliance off when it is not in use.
- Wear protective gloves.
- Caution! Residual risks
- Even if you use this electric power tool in accordance with instructions, certain residual risks cannot be ruled out.
- The following hazards may arise in connection with the equipment’s construction and layout:
- Damage to hearing if no suitable ear protection is used.
- Health damage is caused by hand-arm vibrations if the equipment is used over a prolonged period or is not properly guided and maintained.
Before starting the equipment
Before you connect the equipment to the mains supply make sure that the data on the rating plate is identical to the mains data.
Warning!
- Always pull the power plug before making adjustments to the equipment.
- The scarifier is delivered unassembled.
- The grass basket and the complete push bar must be assembled and mounted before using the scarifier.
- Follow the operating instructions step-by-step and use the pictures provided as a visual guide to easily assemble the machine.
- Fitting the push bar brackets (see Figs. 5 and 6)




- Remove the quick-release lever (Fig. 5/ Item 13) and the washer (Fig. 5/Item 14)
- Connect the push bar bracket (Fig. 5/Item 7) to the fastening screw. Make sure that the curve in the tube (Fig. 6/Item A) is on the outside.
- Now put the washer back on and tighten it with the quick-release lever.
- The same tilt angle must be set for both push bar brackets!
Fitting the lower push bar (see Fig. 7)
- Slide the lower push bar (Fig. 7/Item 6) onto the push bar brackets. Do not forget to slip the stress-relief clip (Fig. 7/Item 4) onto the tube first.
- Now join the tubes together using the screws (Fig. 7/Item 15), washers (Fig. 7/Item 14), and quick-release levers (Fig. 7/Item 13) supplied.
Fitting the upper push bar (see Fig. 8 to Fig. 10)


- The upper push bar (Fig. 8/Item 3) has two holes one beneath the other for further height adjustment of the push bar.
- Position the upper push bar (Fig. 8 / Item 5) such that its holes line up with the holes of the lower bar.
- Now join the tubes together using the screws (Fig. 8/Item 15), washers (Fig. 8/Item 14), and quick-release levers (Fig. 8/Item 13) supplied.
- Use the cable clips (Fig. 9/Item 12) to attach the power cable to the tubes of the push bars so that it is possible to open and shut the ejector flap (Fig. 10/Item 12).
- Please ensure that the ejector flap can be opened and closed easily!
Assembling the grass basket (see Figs. 11 and -14)



- Pull the grass basket over the metal frame (Fig. 12).
- Pull the rubber clips over the metal frame (Fig. 13).
- To hang the grass basket on the scarifier you must lift the ejector flap (Fig. 14/Item 10) with one hand and with the other hand take hold of the grass bag by the handle and hook it onto the scarifier from above (Fig. 14).
Danger!
- Before you ever hook the grass basket to the scarifier you must ensure that the motor is switched off and the cutting unit is not rotating.
Adjusting the handlebar height (see Fig. 15)
- Undo the quick-release levers (Fig. 15/Item 13) on both sides of the scarifier.
- The height of the handlebar can be set to position 1 or 2 (Fig. 15) during operation. You must then tighten the quick-release fasteners again.
- The same tilt angle must be set on both sides.
Adjusting the scarifier depth (see Fig. 16)
- The scarifier depth is set with the adjustment mechanism.
- Pull the lever in the direction indicated by the arrow (see Fig. 16) and adjust to the required position (+3/ -3/ -6/ -9). Make sure that the lever latches in place correctly!
- +3 = drive/transport position +3 mm
- -3 = scarifi er depth -3 mm
- -6 = scarifi er depth -6 mm
- -9 = scarifi er depth -9 mm
Electrical connection
- The equipment can be connected to any normal socket with 230V AC. It is only acceptable to connect it to a shockproof socket with a 16A circuit breaker. Furthermore, a residual-current-operated protective device with max. 30 mA should be connected upstream.
Power cable
- Please only use power cables that are not damaged.
- The total length of the power cable should not exceed 50 meters; going beyond this distance will reduce the power output of the electric motor.
- The power cable must have a cross-section of 3 x 1.5 mm2.
- The insulating sheath of scarifier power cables is frequently damaged. Some of the causes for this are:
- Cracking from running over the cable
- Pinching when the power cable is dragging under doors and pulled through windows
- Cracking due to the old age of the insulation
- Kinking by improperly fastening or guiding the power cable
- The power cables must, at the very minimum, be of type HO5RN-F and 3-stranded. The cable type must be printed somewhere on the power cable.
- Only purchase power cables that are marked as such! Plugs and socket couplers for the power cables must be made from rubber and be splashproof.
- There is a limit to how long power cables can be. Longer power cables require larger conductor cross-sections. Power cables and connecting lines must be regularly checked for damage.
- Ensure that the lines are de-energized before checking them. Completely unwind the power cable. Also check power cable entry points, plugs, and socket couplers for kinks
Operation
- Connect the machine’s power supply cable to the plug (Fig. 17/Item A) and secure the power cable with the stress-relief clip (Fig 17/Item 4).

- To prevent accidental start-up of the equipment, the push-bar (Fig. 18 / Item 5) is equipped with a safety lock-off (Fig. 18 / Item 2) which must be pressed before the lever switch (Fig. 18 / Item 1) can be pressed. If the lever switch is released, the equipment switches off .

- Repeat this process several times so that you are sure that the machine functions properly. Before you perform any repair or maintenance work on the machine, ensure that the cutting unit is not rotating and that the power supply is disconnected.
Important! Never open the ejector fl ap when the motor is running. A rotating cutting unit can cause injuries.
- Always fasten the ejector fl ap carefully. The fl ap fl ips back to the “Closed” position by the tension springs!
- Always ensure that a safe distance (provided by the long handles) is maintained between the user and the housing. Be especially careful when scarifying and changing direction on slopes and inclines. Maintain a solid footing and wear sturdy, non-slip footwear and long trousers. Always scarify along the incline (not up and down).
- For safety reasons, the scarifi er may not be used to scarify inclines whose gradient exceeds 15 degrees.
- Use special caution when backing up and pulling the scarifi er (tripping hazard)!
- Tips for proper working
- It is recommended that you overlap scarifying paths a little.
- Try to scarify in straight lines for a nice, clean look.
- Insodoing, the aeration swaths should always overlap each other by a few centimeters in order to avoid bare strips.
- As soon as grass clippings start to trail the scarifi er, it is time to empty the grass basket.
- Danger! Before taking off the grass basket, switch off the motor and wait until the roller has come to a stop.
- To remove the grass basket, lift up the ejector fl ap with one hand, while unhooking the basket with the other.
- How frequently you should scarify your lawn is determined primarily by the speed at which the grass grows and the hardness of the soil.
- Keep the underside of the equipment clean and remove soil and grass build-up. Deposits make it more diffi cult to start the aerator and decrease the quality of the scarifying.
- Always scarify along inclines (not up and down). Switch off the motor before doing any checks on the roller.
Danger!
- The roller rotates for a few seconds after the motor is switched off.
- Never attempt to stop the roller.
- In the event that the rotating roller strikes an object, immediately switch off the equipment and wait for the roller to come to a complete stop.
- Then inspect the condition of the roller. Replace any parts that are damaged (see section 8.4). Lay the power cable on the ground in loops in front of the power outlet. Scarify away from the power outlet and cable, making sure that the power cable always trails in the already scarify ed grass so that the equipment does not travel over the cable.
Replacing the power cable
- Danger! If the power cable for this equipment is damaged, it must be replaced by the manufacturer or its after-sales service or similarly trained personnel to avoid danger.
Cleaning, maintenance, and ordering of spare parts
- Danger! Always pull out the main’s power plug before starting any cleaning work.
Cleaning
- Keep all safety devices, air vents, and the motor housing free of dirt and dust as far as possible. Wipe the equipment with a clean cloth or blow it with compressed air at low pressure.
- We recommend that you clean the device immediately each time you have finished using it.
- Clean the equipment regularly with a moist cloth and some soft soap. Do not use cleaning agents or solvents; these could attack the plastic parts of the equipment. Ensure that no water can seep into the device. The ingress of water into an electric tool increases the risk of an electric shock.
Carbon Brushes
- In case of excessive sparking, have the carbon brushes checked only by a qualifi ed electrician.
Danger! The carbon brushes should not be rep laced by anyone but a qualifi ed electrician.
Maintenance
- A worn-out or damaged cutting unit should be replaced by an authorised expert (see adress on the warranty certificate).
- Take care that all fastening elements (screws, nuts, etc.) are firmly tightened, so that you can work safely with the scarifier.
- Store the scarifier in a dry place.
- For longer life, all screw-fastened parts, such as wheels and axles should be cleaned and subsequently oiled.
- Regular servicing of the scarifier not only secures longer endurance and performance but also contributes to an accurate and simple scarification of your lawn.
- At the end of the season, carry out a general check of the scarifier, and remove all residue collected. Before the start of every season, it is absolutely necessary to check the state of the scarifier. Contact our Customer Service (see address on the warranty certificate) if repair work is necessary
- The push bar has a P position (Fig. 15) in order to take up less space during storage. To adopt this position you must loosen the quick-release levers by approx. 3 turns to allow for the higher fastening in the parking position. With the bar in this position, the scarifi er can be stood in a corner in minimum space (Fig. 19). When you return the bar to the working position, remember to tighten the quick-release levers again by 3 turns!

Changing the roller (see Figures 20-23)



Be sure to wear work gloves!
- Only replace the roller with a genuine Einhell roller, as this will ensure top performance and safety under all conditions.
- Proceed as follows to change the scarifier roller or the aerator roller:
- Push the roller lock to the rear.
- Lift the roller at this end and pull it out in the direction of the arrow (Fig. 21 + 22). Push the new roller in the opposite direction onto the square-ended drive. Then push the roller lock downwards (Fig 24).

- Apply grease to the square-ended drive from time to time so that the rollers can be changed easily.
- If the cutting roller is positioned unfavorably, the outer blade might be blocked by the housing. In this case, move the roller half a turn forward!
Ordering replacement parts
Please quote the following data when ordering replacement parts:
- Type of machine
- Article number of the machine
- Identification number of the machine
- Replacement part number of the part required
- For our latest prices and information please go to www.Einhell-Service.com
- Replacement cutting roller Art. No.: 34.059.62
- Replacement aerating roller Art. No.: 34.059.61
- Optional catch basket Art. No.: 34.059.60
Disposal and recycling
The equipment is supplied in packaging to prevent it from being damaged in transit. The raw materials in this packaging can be reused or recycled. The equipment and its accessories are made of various types of material, such as metal and plastic. Never place defective equipment in your household refuse. The equipment should be taken to a suitable collection center for proper disposal. If you do not know the whereabouts of such a collection point, you should ask your local council offices.
Troubleshooting guide
| Fault | Possible causes | Rectification |
| The motor does not start | a) No electricity in the plug b) Cable defective c) Switch, switch/plug block defective d) Connections to motor or capacitor disconnected e) Housing clogged | a) Check line and fuse b) Check c) Have the machine checked by a customer service center d) Have the machine checked by a customer service center e) If necessary adjust working depth. Clean housing so that the roller can run freely |
| Engine performance drops | a) Soil is too firm b) Housing clogged c) Roller badly worn | a) Change working depth b) Clean housing c) Replace the roller |
| Imprecise scarifying result | a) roller worn b) Wrong working depth | a) Replace the roller b) Correct working depth |
| The motor is running, the roller is not rotating | a) Toothed belt is torn | a) By customer service workshop |
- Important notice! To protect the motor itis equipped with a thermal overload switch which cuts out when overloaded and starts again automatically after a short cooling-down period.
For EU countries only
- Never place any electric power tools in your household refuse.
- To comply with European Directive 2012/19/EC concerning old electric and electronic equipment and its implementation in national laws, old electric power tools have to be separated from other waste and disposed of in an environment-friendly fashion, e.g. by taking to a recycling depot.
Recycling alternative to the return request:
- As an alternative to returning the equipment to the manufacturer, the owner of the electrical equipment must make sure that the equipment is properly disposed of if he no longer wants to keep the equipment.
- The old equipment can be returned to a suitable collection point that will dispose of the equipment in accordance with the national recycling and waste disposal regulations. This does not apply to any accessories or aids without electrical components supplied with the old equipment.
- Please note that batteries and lamps (e.g. light bulbs) must be removed from the tool before it is disposed of.
- The reprinting or reproduction by any other means, in whole or in part, of documentation and papers accompanying products is permitted only with the express consent of the Einhell Germany AG. Subject to technical changes
Service Information
- We have competent service partners in all countries named on the guarantee certifi cate whose contact details can also be found on the guarantee certifi cate. These partners will help you with all service requests such as repairs, spare and wearing part orders or the purchase of consumables.
- Please note that the following parts of this product are subject to normal or natural wear and that the following parts are therefore also required for use as consumables.
| Category | Example |
| Wear parts* | V-belt, Roller |
| Consumables* | |
| Missing parts |
- Not necessarily included in the scope of delivery!
- In the effect of defects or faults, please register the problem on the internet at www.Einhell-Service.com.
- Please ensure that you provide a precise description of the problem and answer the following questions in all cases:
- Did the equipment work at all or was it defective from the beginning?
- Did you notice anything (symptom or defect) prior to the failure?
- What malfunction does the equipment have in your opinion (main symptom)?
- Describe this malfunction.
Warranty certificate
Dear Customer,
All of our products undergo strict quality checks to ensure that they reach you in perfect condition. In the unlikely event that your device develops a fault, please contact our service department at the address shown on this guarantee card. You can also contact us by telephone using the service number shown. Please note the following terms under which guarantee claims can be made:
- 1. These guarantee terms apply to consumers only, i.e. natural persons intending to use this product neither for their commercial activities nor for any other self-employed activities. These warranty terms regulate additional warranty services, which the manufacturer mentioned below promises to buyers of its new products in addition to their statutory rights of guarantee. Your statutory guarantee claims are not aff ected by this guarantee. Our guarantee is free of charge to you.
- The warranty services cover only defects due to material or manufacturing faults on a product which you have bought from the manufacturer mentioned below and are limited to either the rectifi cation of said defects on the product or the replacement of the product, whichever we prefer.
Please note that our devices are not designed for use in commercial, trade or professional applica-tions. A guarantee contract will not be created if the device has been used by commercial, trade or industrial business or has been exposed to similar stresses during the guarantee period. - The following are not covered by our guarantee:
- Damage to the device caused by a failure to follow the assembly instructions or due to incorrect installation, a failure to follow the operating instructions (for example connecting it to an incorrect mains voltage or current type) or a failure to follow the maintenance and safety instructions or by ex-posing the device to abnormal environmental conditions or by lack of care and maintenance.
- Damage to the device caused by abuse or incorrect use (for example overloading the device or the use or unapproved tools or accessories), ingress of foreign bodies into the device (such as sand, stones or dust, transport damage), the use of force or damage caused by external forces (for ex-ample by dropping it).
- Damage to the device or parts of the device caused by normal or natural wear or tear or by normal use of the device.
- The guarantee is valid for a period of 24 months starting from the purchase date of the device. Gu-arantee claims should be submitted before the end of the guarantee period within two weeks of the defect being noticed. No guarantee claims will be accepted after the end of the guarantee period. The original guarantee period remains applicable to the device even if repairs are carried out or parts are replaced. In such cases, the work performed or parts fi tted will not result in an extension of the guarantee period, and no new guarantee will become active for the work performed or parts fi tted. This also applies if an on-site service is used.
- To make a claim under the guarantee, please register the defective device at:
www.Einhell-Service.com. Please keep your bill of purchase or other proof of purchase for the new device. Devices that are returned without proof of purchase or without a rating plate shall not be covered by the guarantee, because appropriate identifi cation will not be possible. If the defect is co-vered by our guarantee, then the item in question will either be repaired immediately and returned to you or we will send you a new replacement.
- Of course, we are also happy off er a chargeable repair service for any defects which are not covered by the scope of this guarantee or for units which are no longer covered. To take advantage of this service, please send the device to our service address.
- Also refer to the restrictions of this warranty concerning wear parts, consumables and missing parts as set out in the service information in these operating instructions.
- Declaration of conformity: We declare conformity in accordance with the EU directive and standards for article
































