KORG EFGSJ 1 Analog Polyphonic Synthesizer Touch Sensitive
Location
- Using the unit in the following locations can result in a malfunction.
- In direct sunlight.
- Locations of extreme temperature or humidity.
- Excessively dusty or dirty locations.
- Locations of excessive vibration.
- Close to magnetic fields.
Power supply
- Be sure to turn the power switch to OFF when the unit is not in use. Remove the battery in order to prevent it from leaking when the unit is not in use for extended periods.
- Interference with other electrical devices
- Radios and televisions placed nearby may experience reception interference. Operate this unit at a suitable distance from radios and televisions.
Handling
- To avoid breakage, do not apply excessive force to the switches or controls.
Care
- If the exterior becomes dirty, wipe it with a clean, dry cloth. Do not use liquid cleaners such as benzene or thinner, or cleaning compounds or flammable polishes.
Keep this manual
- After reading this manual, please keep it for later reference.
- Keeping foreign matter out of your equipment
- Never set any container with liquid in it near this equipment.
- If liquid gets into the equipment, it could cause a breakdown, fire, or electrical shock. Be careful not to let metal objects get into the equipment
Parts of the Sledgehammer Pro

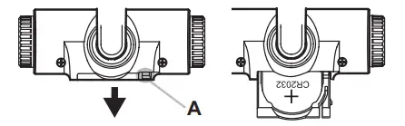
Installing the battery
- While lightly pressing the part marked A, pull the battery holder in the direction of the arrow to slide it out.
- Making sure to observe the correct polarity, insert the battery so that the “+” side of the battery is visible.
- Return the battery holder to its original position.

Tuning
Tuning procedure
- Turn the left shuttle switch upward. Each time you turn the shuttle switch, the Sledgehammer Pro will be turned on or off.
- If the power is left on for approximately 3 minutes without any user input, it will turn off automatically.
- If necessary, change the meter mode and calibration (reference pitch).
- Play a single note on your instrument.
- The note name closest to the detected pitch appears in the note name indicator.
- Tune your instrument to the correct pitch so that the desired note name appears on the display.
- Tune the instrument by playing a single note and checking the meter.
- The tuning indications differ depending on the selected meter mode setting.
Setting the meter mode (*M)
Each time you turn the left shuttle switch downward, the meter mode changes. A number indicating the meter mode appears in the note name indicator for a few seconds.
- 1 (Regular) → 2 (Strobe) → 3 (Half strobe) → 1 (Regular) …
Regular meter
Tune your instrument so that the center LED of the meter display is lit up. The LED illumination will move from the center toward the right if the note is sharp, or from the center toward the left if the note is flat
Strobe meter
Tune your instrument so that the illumination stops flowing in the meter display. Since the strobe meter has higher precision, it allows you to tune with greater accuracy. The illumination will flow from left to right if the note is sharp, or from right to left if the note is flat.
Half-strobe meter
Tune your instrument so that the stream stops and only the center LED is lit up. The right side of the meter display will strobe if the note is sharp, and the left side of the meter display will strobe if the note is flat. When the pitch is correct, only the center LED will light up

Calibration (reference pitch) settings (*M)
Each time you turn the right shuttle switch upward (or downward), the calibration value (reference pitch) increases (or decreases) in 1 Hz steps. The last digit of the setting appears in the note name indicator for a few seconds. 6 (436Hz)… 9 (439Hz) 0 (440Hz) 1 (441Hz) 2 (442Hz) … 5 (445Hz) The setting range is between 436 and 445 Hz.
Attaching to the instrument and range of motion
The Sledgehammer Pro tunes by picking up the vibrations of the instrument. Therefore, be sure to attach the Sledgehammer Pro to the headstock of your instrument in order to tune it. In addition, the Sledgehammer Pro can be freely moved so that the display is easy to read. The Sledgehammer Pro may be damaged if you apply excessive force within its range of motion, or attempt to move it beyond its intended range of motion.
Specifications
- Scale: 12-note equal temperament
- Range (sine wave): A0 (27.50 Hz)–C8 (4186 Hz)
- Precision: +/-0.1 cent
- Reference pitch: A4 = 436–445 Hz (1 Hz steps)
- Dimensions: 62 mm(W) X 62 mm(D) X 53 mm(H)
- 2.44’’ (W) X 2.44’’ (D) X 2.09 ’’ (H)
- Weight: 28 g/0.99 oz. (including battery)
- Battery life: approximately 14 hours (tuner continuously operating, A4 input)
- Included items: CR2032 lithium battery (3V)
FCC
THE FCC REGULATION WARNING (for USA)
NOTE: This equipment has been tested and found to comply with the limits for a Class B digital device, pursuant to Part 15 of the FCC Rules. These limits are designed to provide reasonable protection against harmful interference in a residential installation. This equipment generates, uses, and can radiate radio frequency energy and, if not installed and used in accordance with the instructions, may cause harmful interference to radio communications. However, there is no guarantee that interference will not occur in a particular installation. If this equipment does cause harmful interference to radio or television reception, which can be determined by turning the equipment off and on, the user is encouraged to try to correct the interference by one or more of the following measures:
- Reorient or relocate the receiving antenna.
- Increase the separation between the equipment and receiver.
- Connect the equipment into an outlet on a circuit different from that to which the receiver is connected.
- Consult the dealer or an experienced radio/TV technician for help.
CALIFORNIA USA ONLY
This Perchlorate warning applies only to primary CR (Manganese Dioxide) Lithium coin cells sold or distributed ONLY in California USA. “Perchlorate Material–special handling may apply, See www.dtsc.ca.gov/hazardouswaste/perchlorate.” This device complies with Part 15 of the FCC Rules. Operation is subject to the following two conditions:
- This device may not cause harmful interference, and
- this device must accept any interference received, including interference that may cause undesired operation.
Notice regarding disposal (EU only)
When this “crossed-out wheeled bin” symbol is displayed on the product, owner’s manual, battery, or battery package, it signifies that when you wish to dispose of this product, manual, package or battery you must do so in an approved manner. Do not discard this product, manual, package or battery along with ordinary household waste. Disposing in the correct manner will prevent harm to human health and potential damage to the environment. Since the correct method of disposal will depend on the applicable laws and regulations in your locality, please contact your local administrative body for details. If the battery contains heavy metals in excess of the regulated amount, a chemical symbol is displayed below the “crossed-out wheeled bin” symbol on the battery or battery package.
IMPORTANT NOTICE TO CONSUMERS
This product has been manufactured according to strict specifications and voltage requirements that are applicable in the country in which it is intended that this product should be used. If you have purchased this product via the internet, through mail order, and/or via a telephone sale, you must verify that this product is intended to be used in the country in which you reside.
WARNING: Use of this product in any country other than that for which it is intended could be dangerous and could invalidate the manufacturer’s or distributor’s warranty. Please also retain your receipt as proof of purchase otherwise your product may be disqualified from the manufacturer’s or distributor’s warranty.




















