benchcraft D970-09 Anibecca Bench

IMPORTANT SAFETY NOTICE: READ CAREFULLY BEFORE BEGINNING ASSEMBLY!
- *When assembling products that have electric cords (lamps, light, etc.), always (1) make sure the electrical cord is unplugged before assembly and (2) be careful not to twist the electrical cord during assembly.
- *When assembling shelves or entertainment centers, do not stand on lower shelves in
order to assemble upper shelves-use a step ladder. - Do not stand on tables, including but not limited to, end tables, coffee tables, and dinner tables, as tables are not to support the weight of a person.
*Where assembly instructions state that the assembly requires two or more people, .!Do not attempt by yourself as there is a risk of injury.
NOTE: ASHLEY FURNITURE INDUSTRIES, LLC DISCLAIMS ANY LIABILITY FOR DAMAGES OR INJURIES WHICH MAY OCCUR DUE TO FAILURE TO PROPERLY FOLLOW ASSEMBLY INSTRUCTIONS, PROPERLY ASSEMBLE THE PRODUCT, OR PROPERLY USE THE PRODUCT.
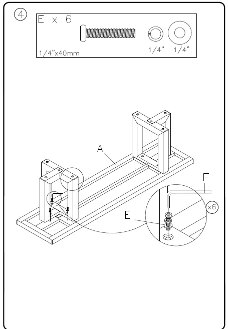
NOTE: YOUR UNIT MAY LOOK DIFFERENT IN APPEARANCE FROM THE ONE SHOWN IN THE ILLUSTRATIONS ON THIS INSTRUCTION SHEET.

NOTE: UNIT SHOULD BE ASSEMBLED BY TWO OR MORE PEOPLE.
DO NOT TIGHTEN ANY BOLTS UNTIL ALL BOLTS HAVE BEEN STARTED 





















