MWB-20100 Compact Bench
Instruction Manual

IMPORTANT: Please read this manual before commencing the assembly of this product.
BEFORE YOU BEGIN
Thank you for selecting the MARCY COMPACT BENCH MWB-20100 by IMPEX® INC. For your safety and benefit, read this manual carefully before using the equipment. As a manufacturer, we are committed to providing you with complete customer satisfaction. If you have any questions or find there are missing or damaged parts, we guarantee you complete satisfaction through direct assistance from our factory. To avoid unnecessary delays, please call our TOLL-FREE customer service number. Our Customer Service Agents will provide immediate assistance to you.
Toll-Free Customer Service Number
1-800-999-8899
Mon. – Fri. 9 a.m. – 5 p.m. PST
www.marcypro.com
[email protected]
IMPORTANT SAFETY NOTICE
This exercise equipment is built for optimum safety. However, certain precautions apply whenever you operate a piece of exercise equipment. Be sure to read the entire manual before you assemble or operate your equipment. In particular, note the following safety precautions:
- Keep children and pets away from the equipment at all times. DO NOT leave children unattended in the same room with the equipment.
- Only one person at a time should use the equipment.
- If the user experiences dizziness, nausea, chest pain, or any other abnormal symptoms, STOP the workout at once. CONSULT A PHYSICIAN IMMEDIATELY.
- Position the equipment on a clear, leveled surface. DO NOT use the equipment near water or outdoors.
- Keep hands away from all moving parts.
- Always wear appropriate workout clothing when exercising. DO NOT wear robes or other clothing that could become caught in the equipment. Running or aerobic shoes are also required when using the equipment.
- Use the equipment only for its intended use as described in this manual. DO NOT use attachments not recommended by the manufacturer.
- Do not place any sharp objects around the equipment.
- Disabled persons should not use the equipment.
- Before using the equipment to exercise, always do stretching exercises to properly warm up.
- Never operate the equipment if the equipment is not functioning properly.
- A spotter is recommended during exercise.
- This equipment is designed and intended for home and consumer use only, not for commercial use.
WARNING: BEFORE BEGINNING ANY EXERCISE PROGRAM, CONSULT YOUR PHYSICIAN. THIS IS ESPECIALLY IMPORTANT FOR INDIVIDUALS OVER THE AGE OF 35 OR PERSONS WITH PRE-EXISTING HEALTH PROBLEMS. READ ALL INSTRUCTIONS BEFORE USING ANY FITNESS EQUIPMENT. IMPEX INC. ASSUMES NO RESPONSIBILITY FOR PERSONAL INJURY OR PROPERTY DAMAGE SUSTAINED BY OR THROUGH THE USE OF THIS PRODUCT.
SAVE THESE INSTRUCTIONS.
EXERCISE GUIDELINES
Building Muscle and Gaining Weight
Unlike aerobic exercise, which emphasizes endurance training, anaerobic exercise focuses on strength training. A gradual weight gain can occur while building the size and strength of muscles. While developing muscle mass, your body adapts to the stress placed upon it. You can modify your diet to include foods such as meat, fish, and vegetables. These foods help muscles recover and replenish important nutrients after a strenuous workout.
Muscle Strength and Endurance
To achieve the greatest benefit from exercise, it is important to develop an exercise program that allows you to work all of the major muscle groups equally.
To increase muscles strength; follow this principle:
Increasing resistance and maintaining the number of repetitions of exercise results in increased muscle strength.
To tone your body, follow the principle: Decreasing resistance plus increasing the number of repetitions of exercise results in increased body tone.
Once you feel comfortable with an exercise, you can change the resistance, the number of repetitions, or the speed at which you do the exercise. It is not necessary to change all three variables. For example, let’s say that you are training at 50 lbs and performing the exercise 10 times in 3 minutes. When this becomes too easy, you may decide to move uplifting 60 lbs for the same number of repetitions in the same amount of time. Lifting more weights fewer times most often develops muscle strength. To gain both muscle strength and endurance, it is recommended that you perform each exercise 15 to 20 reps per set.
Training Intensity
How hard you begin to train depends on your overall level of fitness. The soreness you experienced can be lessened by decreasing the load you place on your muscles and by performing fewer sets. To avoid injury, you should gradually work into an exercise program and set the load to your individual fitness level. The load should increase as your fitness level increases.
Muscle soreness is common, especially when you first start exercising. If you are painfully sore for a long time, it may be time to change your program. Eventually, your muscle system will become accustomed to the stress and strain placed on it.
Beginning a Strength Building Program
Warming Up
To begin strength training, it is important to stretch and perform the light exercises for 5 to 10 minutes.
This helps prepare the body for more strenuous exercise by increasing circulation, raising your body temperature, and developing more oxygen to your muscles.
Workout
For each workout keep in mind that muscle soreness that lasts for a long period is not desirable and may mean that injury has occurred.
Cool Down
At the end of each workout, perform slow stretching exercises for 5 to 10 minutes. Ease into each stretch only going as far as you can. This stage allows your muscles to wind down after training.
To provide a total workout program it is also recommended that 2 to 3 days of aerobic exercise is performed in addition to the strength training.
Drinking-Water
For the body to function properly, it must be properly hydrated. If you are exercising, you should increase your fluid intake. The reason for this is that the water you take in will leave your system through the sweating mechanism that cools your body during exercise. The water you lose through exercise must be replaced so that the muscles can recover properly.
Rest Day
Although you may not feel like doing it, taking a rest day at least once a week is important because it gives your body a chance to heal itself. Continuously working your muscle will result in overtraining that will not benefit you in the long run.
WARNING LABEL PLACEMENT

The warning labels shown here have been placed on the Cross Brace. If the labels are missing or illegible, please call customer service at 1-800-999-8899 for replacements. Apply the labels in the location shown.
IMPORTANT ASSEMBLY INFORMATION
- Tools Required for Assembling the Bench: Two Adjustable Wrenches and Allen Wrenches.
- NOTE: It is strongly recommended that this equipment is assembled by two or more people to avoid possible injury.
- Ensure Carriage Bolts are inserted through the SQUARE holes on components that need to be assembled. Attach washer only to end of the Carriage Bolt.
- Use Allen Bolts or Hex Bolts inserted through the ROUND hole on components that need to be assembled.
- Always wait until all bolts are assembled onto the bench before tightening the bolts. Do not tighten each bolt right after it is installed
Fasten Nuts and Bolts
Securely tighten all Nuts and Bolts after all components have been assembled in the current and previous steps.
NOTE: Do not overtighten any component with pivoting function.
Make sure all pivoting components are able to move freely.
Do not tighten all Nuts and Bolts in this step.
CARE AND MAINTENANCE
- Lubricate moving parts with WD-40 or light oil periodically.
- Inspect and tighten all parts before using the equipment.
- The equipment can be cleaned using a damp cloth and mild non-abrasive detergent.
DO NOT use solvents. - Examine the equipment regularly for signs of damage or wear.
- Replace any defective components immediately and/or keep the equipment out of use until repair.
- Failure to examine regularly may affect the safety level of the equipment.
WEIGHT CAPACITY AND DIMENSION
- Maximum weight capacity on Uprights: 300 lbs
- Maximum user weight on the bench: 300 lbs
- Maximum weight capacity on Bench (including user weight): 600 lbs
- Maximum weight capacity on Leg Developer weight post: 100 lbs
- Assembled Dimension (L x W x H): 68.75” x 29.25” x 63.75”
- Assembled Dimension after fold up (L x W x H): 29.5” x 29.25” x 60”
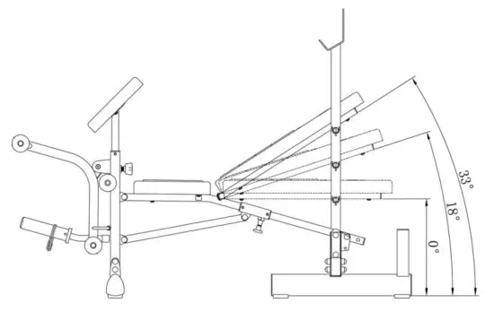
BACKREST ADJUSTMENT ANGLES
The backrest adjustment angle ranges from 0º to 33º.

Folding the Bench
- Pull out the U-shaped Lock Pin (#42) and insert the pin into the hole on the Leg Developer (#13) to lock the Leg Developer in position.
- Place the Backrest Adjustment Bar (#9) in the lowest position. Pull out the Lock Pin (#26) that is inserted in the rear of the Main Seat Support (#6).
- Loosen and pull out the Lock Pin (#26) under Main Seat Support (#6). Pull the Front Post (#7) toward to rear.
- Fold up the Main Seat Support and insert the Lock Pin (#26) into the rear hole on Main Seat Support to lock the Main Seat Support in a vertical position.
- Fasten the Lock Knob (#18) so Front Post won’t slide.
- To un-fold the bench. Pull out the Lock Pin (#26), loosen the Lock Knob (#18), and then Push Front Post all the way to the front. Fasten the Lock Knob (#18) so Front Post won’t slide. Insert the Lock Pin (#26) back into Main Seat Support and lock it in position.

MWB-20100 PARTS LIST
| PART NO. | DESCRIPTION | SIZE | QUANTITY |
| 1 | Right Upright | 1 | |
| 2 | Left Upright | 1 | |
| 3 | Right Base | 1 | |
| 4 | Left Base | 1 | |
| 5 | Cross Brace | 1 | |
| 6 | Main Seat Support | 1 | |
| 7 | Front Post | 1 | |
| 8 | Front Base | 1 | |
| 9 | Backrest Adjustment Bar | 1 | |
| 10 | Main Seat Stabilizer | 1 | |
| 11 | Sliding Block | 1 | |
| 12 | Arm Curl Stand | 1 | |
| 13 | Leg Developer | 1 | |
| 14 | Backrest Support | 2 | |
| 15 | Seat Pad | 1 | |
| 16 | Backrest Board | 1 | |
| 17 | Arm Curl Pad | 1 | |
| 18 | Sliding Block Lock Knob | 1 | |
| 19 | Foam Roll | Ø 3” x 5 ¾” | 6 |
| 20 | Foam Tube | 3 | |
| 21 | Cross Bracket | 4 ⅜” x 1 ½” | 2 |
| 22 | End Cap | 1” x 1” | 4 |
| 23 | End Cap | Ø 1” | 1 |
| 24 | End Cap | Ø ¾” | 6 |
| 25 | End Cap | 1 ½” x 1 ½” | 2 |
| 26 | Lock Pin | M8 | 1 |
| 27 | End Cap | 1 ⅛” x 2” | 1 |
| 28 | Sleeve | 1 ⅝” x 2” | 2 |
| 29 | Sleeve | 1 ⅝” x 2 ⅜” | 2 |
| 30 | Base Cap | 6 | |
| 31 | Lock Knob | M18 | 1 |
| 32 | Olympic Sleeve | Ø 2” x 8” | 1 |
| 33 | Bushing | Ø 1” x Ø ⅜” | 6 |
| 34 | Bushing | Ø 2” x Ø5/8” | 2 |
| 35 | Rubber Bumper | Ø 1 ⅛” x 1 ⅛” | 1 |
| 36 | Bushing | Ø ¾” x Ø ½” | 2 |
| 37 | Cover Cap | M10 | 26 |
| 38 | Axle | M10 x 2 ¼” | 1 |
| 39 | Spring Clip | Ø ⅞” | 1 |
| 40 | Spring Clip | Ø 1 ⅞” | 1 |
| 41 | Spring | Ø ½” x 2 ⅛” | 1 |
| 42 | U-shaped Lock Pin | 1 | |
| 43 | Small Weight Post Sleeve | Ø 1 ⅛” x 8” | 1 |
| 44 | Standard Weight Post Sleeve | Ø 1 ⅛” x 8” | 1 |
| 45 | Philips Screw | M6 x ⅝” | 1 |
| 46 | Allen Bolt | M8 x ¾” | 4 |
| 47 | Allen Bolt | M8 x 1 ⅝” | 5 |
| 48 | Allen Bolt | M10 x ⅝” | 2 |
| 49 | Hex Bolt | M10 x 2 ½” | 4 |
| 50 | Hex Bolt | M10 x 3” | 3 |
| 51 | Hex Bolt | M10 x 3 ½” | 3 |
| 52 | Hex Bolt | M10 x 6 ⅛” | 1 |
| 53 | Carriage Bolt | M10 x 2 ¾” | 4 |
| 54 | Washer | Ø ⅝” | 9 |
| 55 | Washer | Ø ¾” | 28 |
| 56 | Washer | Ø 1” | 1 |
| 57 | Aircraft Nut | M10 | 15 |
| Allen Wrench (Tool) | 4# | 1 | |
| Allen Wrench (Tool) | 5# | 1 | |
| Allen Wrench (Tool) | 6# | 2 | |
EXPLODED DIAGRAM

IMPEX® INC.
LIMITED WARRANTY
IMPEX Inc. (“IMPEX5) warrants this product to be free from defects in workmanship and material, under normal use and service conditions, for a period of two years on the Frame from the date of purchase. This warranty extends only to the original purchaser. IMPEX’s obligation under this Warranty is limited to replacing or repairing, at IMPEX’s option.
All returns must be pre-authorized by IMPEX. Pre-authorization may be obtained by calling IMPEX Customer Service Department at 1-800-999-8899. All freight on products returned to IMPEX must be prepaid by the customer. This warranty does not extend to any product or damage to a product caused by or attributable to freight damage, abuse, misuse, improper or abnormal usage or repairs not provided by an IMPEX authorized service center or for products used for commercial or rental purposes. No other warranty beyond that specifically set forth above is authorized by IMPEX.
IMPEX is not responsible or liable for indirect, special, or consequential damages arising out of or in connection with the use or performance of the product or other damages with respect to any economic loss loss of property, loss of revenues or profits, loss of enjoyments or use, costs of removal, installation or other consequential damages or whatsoever natures. Some states do not allow the exclusion or limitation of incidental or consequential damages. Accordingly, the above limitation may not apply to you.
The warranty extended hereunder is in lieu of any and all other warranties and any implied warranties of merchantability or fitness for a particular purpose are limited in their scope and duration to the terms set forth herein. Some states do not allow limitations on how long an implied warranty lasts. Accordingly, the above limitation may not apply to you.
This warranty gives you specific legal rights. You may also have other rights which vary from state to state.
Register online at www.marcypro.com
IMPEX® INC.
2801 South Towne Avenue
Pomona, CA 91766
ORDERING REPLACEMENT PARTS
Replacement parts can be ordered by calling our Customer Service Department toll-free at 1-800-999-8899
during our regular business hours: Monday through Friday, 9 am until 5 pm Pacific standard time.
[email protected]
- Model
- Description of Parts
- Part Number
- Date of Purchase
IMPEX® INC.
2801 South Towne Avenue, Pomona, California 91766
Tel: (800) 999-8899 Fax: (626) 961-9966
www.marcypro.com
[email protected]

















