saxby 95540 Hero CCT Emergency

Installation
Existing fittings must be completely removed before installation of a new product. Before removing the existing fitting, carefully note the position of each set of wires.
Note that the switch is turned off before installation.
The ceiling surface must be flat and smooth to ensure a good fit.
Ensure that the screws and cable entry points are sealed to maintain the IP rating of the product.
The wattage is changeable between 9/14/18W using the wattage switch on the drive before installation.

- Twist and remove the lamp cover from the product, keep safe for refitting later.
- Turn the clip to loose the LED tray in the rear casing.
- Using the rear casing as a template mark the position to drill out the fixing holes. Take care to avoid damaging any concealed wiring and pipes.
- Fix the rear casing into the position using the installation plugs and screws.
The colour is changeable between 3000/4000/6000K using the CCT switch on the drive before installation.

- Pull the cable through the cable entry hole and seal to maintain the IP rating and wire as detailed Wiring Diagram.
- Refit the LED tray back into the rear casing and lock the clip.
- Twist the lamp cover back onto the product and lock in place.
- Replace fuse or circuit breaker and switch on. Your light is now ready for use.

Wiring
This product is double insulated and must not be earthed.
If there are any incoming earth cables, they must be joined together and well insulated with good quality insulation tape. This is to ensure earth continuity throughout your property.
Having correctly identified the wiring from your existing light fitting, connect to the quick fit connection block in the following way, using the supplied link cables where necessary.

Check that…
You have correctly identified the wires.
The connections are tight.
No loose strands have been left out of the connection block.
Maintained (Unswitched) Wiring
The product is on permanently and comes on during a power failure

Non-Maintained Wiring
The product is normally off and comes on during a power failure

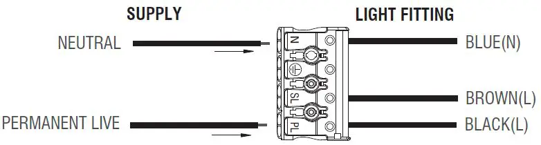
Maintained (Switched) Wiring
The product is used as a normal light – switch on/off, light turns on/off. Comes on during a power failure.

Technical data
Supply Voltage: 240 V~, 50 Hz
Bulb Type: 9/14/18W LED module (SMD) CCT, 3000/4000/6000K
The light source of this luminaire is not replaceable; when the light source reaches its end of life the whole luminaire shall be replaced.

Battery parameters
Lumens 120Lm in EM mode
Duration 3 hours (180 Minutes)
Operating Temperature 0ºC – 50ºC
Maximum Operating Humdit 90%
Change over time Approximately 1s
Battery Specification LifePO4 3.2V 1500mAh
Battery Charge Time 24 Hours
Battery warranty 2 years
Care and Safety
We recommend cleaning with a soft dry cloth. Do not use solvents or abrasive cleaners as these could damage the finish. For your safety, always switch off the power supply before cleaning.
Thank you for purchasing this light fitting. Please read the instruction carefully before use to ensure safe and satisfactory operation of this product. Please retain these instruction for future reference.
Warning
This light fitting is double insulated and does not require connection to an earth circuit.
- Please read these instructions carefully before commencing any work.
- This unit must be fitted by a competent and qualified electrician.
- Install in accordance with the IEE Wiring regulations and current Building Regulations.
- Check the pack and make sure you have all the parts listed.
- To prevent electrocution switch off at the mains supply before installing or maintaining this fitting. Ensure other persons cannot restore the electrical supply without your knowledge.
- If you are in any doubt, please consult a qualified electrician.
- This light fitting should be connected to a circuit with a 30mA RCD fitted.
- If replacing an existing fitting, make a careful note of the connections.
- Waste electrical products should not be disposed of with household waste. Please recycle where facilities exist. Check with your local authority or retailer for recycling advice.
Layout
Plan the desired layout of these fittings carefully, ensuring the cables will reach the distances between each light fitting. Avoid locating any cables in positions that would cause a hazard. Position cables and junction boxes (not supplied) away from areas where they may be at risk from being cut, trapped or damaged.
The mains supply cable must have a minimum cross section area of 1.0mm2.
Cables must be protected using suitable conduit or plastic trunking.
The products can be wall or ceiling mounted. If wall mounting ensure that the power supply is at the bottom.
Individual casings
The following individual casings are available for purchase separately.
95545 : Chrome plain
95546 : White eyelid
95547 : White grill
95548 : Black plain
95549 : Black eyelid
95550 : Black grill
95551 : Anthracite grey plain
95552 : Anthracite grey eyelid
95553 : Anthracite grey grill




















