POWER PROBE VT750LCD Voltage Tester
Safety
Safety Information
To ensure safe operation and service of the Tester, follow these instructions. Failure to observe warnings can result in severe injury or death.
- This meter is designed to be used by skilled persons and in accordance with safe methods of work.
- Avoid working alone so assistance can be rendered. If the operators safety can not be guaranteed, the Tester must be removed from service and protected against use.
- Prior to usage ensure perfect instrument function (e.g. on known voltage source) before and after the test.
- Do not connect the instrument to voltages higher than 750V.
- Do not open the battery cover before take off from voltage source.
- The safety can no longer be insured if the Tester:
• shows obvious damage
• does not carry out the desired measurements
• has been stored for too long under unfavorable conditions
• has been subjected to mechanical stress (i.e. during transport). - All relevant statutory safety regulations must be adhered to when using this instrument.
- The Tester may no longer be used if one or several functions fail or if no functionality is indicated or the Tester looks damaged.
- When using this Tester, only the handles of the probes may be touched do not touch the probe tips (metal part).
- Do not use the Tester if the Tester is not operating properly or if it is wet.
- Use the Tester only as specified in the Instruction card including environmental conditions and the usage in dry environments must be followed or the protection by the Tester might be impaired.
- Use extreme caution when working around bare conductors or bus bar. Contact with the conductor could result in an electric shock.
- Use caution with voltages above SOV AC rms or 11 OV DC. These voltages pose a shock hazard.
- The voltage marked on this meter are nominal voltages or nominal voltage ranges and that this meter is only to be used on installations with the specified nominal voltage or nominal voltage ranges.
- ELV indicator and internal sounder are not to be used for measuring purposes.
- Verify the meter operation by measuring a known voltage and by connecting the test probes together, before use it. If no response, replace the battery first or have the meter services.
SAFETY ADVICES
Depending on the internal impedance of the voltage detector there will be a different capability of indicating the presence or absence of operating voltage in case of the presence of interference voltage.
When in contact with the parts to be tested, the voltage detector may discharge temporarily the interference voltage to a level below the ELV, but it will be back to the original value when the voltage detector is removed.
When the indication “voltage present” does not appear, it is highly recommended installing earthing equipment before work.
When the indication “voltage present” appears on a part that is expected to be disconnected of the installation, it is highly recommended confirming by another means (e.g. use of an adequate voltage detector, visual check of the disconnecting point of the electric circuit, etc.) that there is no operating voltage on the part to be tested and to conclude that the voltage indicated by the voltage detector is an interference voltage.
Symbols and Features
Symbols as marked on the Tester and Instruction manual
![]() | Risk of electric shock |
| See instruction manual | |
| + DC or-DC measurement | |
![]() | Equipment protected by double or reinforced insulation |
| Battery | |
| Earth | |
| AC measurement | |
| Conforms to EU directives | |
![]() | High Voltage Detection |
| ELV Indication | |
![]() | Continuity |
![]() | Phase indicator see “Phase Rotation Test” section for more Information. |
List of Features
- AC Voltage
- DC Voltage
- Continuity
- Resistance
- Single pole phase test
- Phase rotation of a three-phase mains
- Frequency test
- Auto test
- Probe tip torch
- Drop proof 1 meter
- IP 65 Protection
- Auto Power On/Off
- Selectable probe tips 2/4 mm
AC / DC V Measurements


The ELV indicator can report a dangerous voltage> 50 V AC and 120 V DC .
If the tester is used in a noisy background, you need to ensure that the sound level of the tester is perceptible here.
Continuity/ Diode Test
Continuity Tests
Diode Test

The Continuity/
-M test is only possible when batteries are installed and in good condition.
Resistance Measurements

The Resistance test is only possible when batteries are installed and in good condition.
Single-Pole Phase Test
Single-Pole Phase
The single-pole phase test is only possible when batteries are installed and in good condition.
The single-pole phase test is not always appropriate for testing whether a circuit is not live.
For this purpose, the bipolar test is required .
To determine external conductors during phase tests the display function may be impaired (e.g. for insulating body protection or insulating sites) .
Firmly grasp the insulated grips of the Tester probe L2 it is better for increase the sensitivity of single-pole phase test.
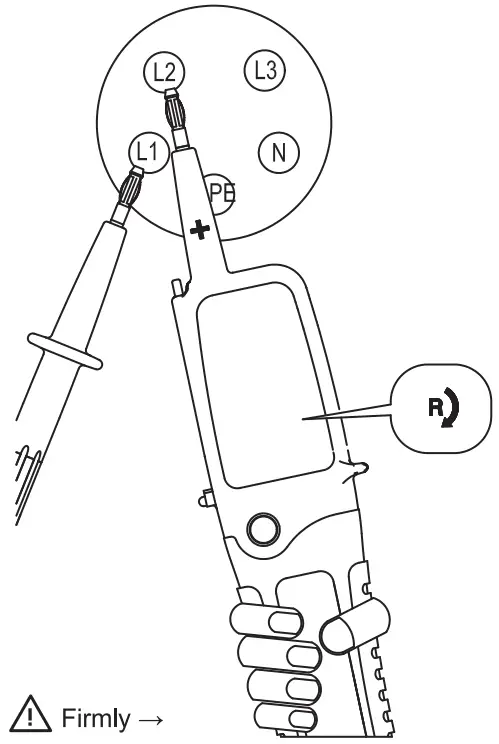
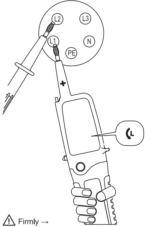
Phase Rotation Test
Rotary phase of a three-phase mains
- Right rotary field

- Left rotary field

Testing of phase-sequence direction is possible from 1 DOV AC voltage (phase to phase) provided the neutral is earthed.
On making contact with both test electrodes (probe tips) to two phases of the three-phase power supply which are connected in clockwise rotation, a
symbol appears in the LCD Display.
If the rotation is anticlockwise, then a
symbol is displayed. In this case both phases of the unit should be switched around.
Note:
Testing the phase rotation always requires a negative phase rotation test!
To ensure a connect test, it is better to test on a known source.
Attention :
Please ensure that the test electrodes (probe tips) make good contact with two phases of a three-phase mains while testing the phase rotation. For absolute determination of a clock-wise phase rotation it is necessary to make a negative phase rotation test after changing the phases. The indication
or
can be affected by unfavorable light conditions, by protective clothing or in insulated locations.
Firmly grasp the insulated grip of the Teste probe L2, it is better for the sensitivity of the phase rotation test.
RCD Voltage Test
Voltage Test with RCD Trip Test
During voltage tests in systems equipped with RCD circuit breakers, a RCD switch can be tripped at a nominal residual current of 1 OmA or 30mA by measuring the voltage between L and PE.
This Tester is equipped with an internal load enabling the tripping of an RCD protection device of 1 OmA or 30mA.
To avoid RCD tripping, a test has to be carried out between Land N during approx. 5sec. Immediately afterwards, voltage testing between Land PE can be carried out without RCD tripping.
Illumination
Probe tip torch
Frequency Tests

Auto Tests

If the instrument shows failure, please don’t use it and send it to our service department for repair.
Battery Replacement
If the symbol ”
” is displayed
- Completely disconnect from the measurement circuit.
- Unscrew the screw by a cross screw driver, then open the battery cover.
- Remove discharged batteries.
- Replace by new batteries, type 1.5V IEC LR03 by respecting correct polarity.
- Close the battery cover and re-screw the screw.

4mm Tips Replacement

Cleaning
Prior to cleaning, remove the instruments from all measurement circuits.
If the instruments are dirty after daily usage, it is advisable to clean them by using a damp cloth and a mild household detergent. Never use acid detergents or dissolvent for cleaning. After cleaning, do not use the voltage tester till it is dried completely.
Transport and Storage
In order to avoid instrument damage, it is advised to remove batteries when not using the instrument over a longer period.
The tester must be stored in dry and closed areas.
In the case of an instrument being transported in extreme temperatures, a recovery time of minimum 2 hours is required prior to instrument operation.
Maintenance
Unauthorized persons shall not disassemble the tester and the supplementary equipment.
When using tester in compliance with the instruction manual, no particular maintenance is required.
Specification
The Instruments
- Voltage range 12 …. 750V AC/DC
- LED/Bargraph resolution ± 12,24,50, 120,230,400, 750V
- LCD voltage range 12V … 750V AC/DC
- LCD resolution 1V
- Accuracy AC± (1.3%+5d) DC±(1.0%+2d)
- Voltage detection Automatic
- Acoustic signal sound AC50V DC 120V
- Polarity detection Full range
- Range detection Automatic
- Response lime <0.1s/BAR <2s/RDG
- Frequency range DC, 45 … 65Hz
- Automatic load (RCD) Yes
- Peak current Is <0.2A / ls(5s) <3.5mA
- Operation time 30sec
- Recovery Time 240sec
- Auto Power On >12VAC/DC
Single- pole Phase Test
- Voltage range 100 … 750VAC
- Frequency range 45 … 65Hz
Resistance Test
- Resistance Range 0 … 2KQ
- Accuracy ± (2%+10d)
- Resolution 1Ω
Frequency Test
- Frequency range 30Hz-999Hz
- Accuracy ±(0.3%+5d)
- Resolution 1Hz
- Vmin (61Hz-999Hz) 20VAC
Continuity Test
- Threshold <2000
- Diode Test 0.1-1.0V
- Resolution 0.1V
- Overvoltage protection 1000VAC/DC
Rotary Field Indication
- Voltage range (LEDs) 100 … 750V
- Frequency range 50 … 60Hz
- Measurement principle Double-pole and firmly hold the grip (l2)
- Power supply 2 x 1.5V IEC LR03 AAA size
- Power consumption Max. 32mA / approx. 94mn Ω
- Operating Temperature -15°C -45°C
- Storage Temperature -20°C – 60°C
- Temperature Coefficient 0.2x(Spec.Accuracyi°C <18°C >28°C
- Humidity Max. 85% relative humidity
- Height above sea level Upto2000m
- Pollution Degree 2
- Type of protection IP65
- CE EN61326
- Safety EN61010 -1
EN61010 -2-030
EN61010 -031
IEC61243 -3
UTE 18 -510
EN60529
GS38 - Weight 240g (incl. Batteries)
- Dimensions 239x68x29mm
Overvoltage category
- Overvoltage class CAT Ill 1000V/CAT IV 600V
- CAT. Application field
CATII The circuits directly connected to Low -voltage Installation.
CATIII The building installation
CATIV The source of the Low – voltage installation.
Customer Service
APAC
MGL APPA Corporation
[email protected]
Flat 4-1, 4/F, No. 35, Section 3 Minquan East Road,
Taipei, Taiwan
Tel: +886 2-2508-0877
CANADA& USA
Power Probe Group, Inc.
[email protected]
2810 Coliseum Centre Drive, Ste. 100. Charlotte,
North Carolina 28217 USA
Tel: + 1 833 533-5899
MEXICO & LATAM
Power Probe Group, Inc.
[email protected]
Colonia Industrial Vallejo Del. Azcapotzalco 02300,
Mexico D.F
Tel: +1 833-533-5899
EMEA
Power Probe Group S.L.U.
[email protected]
Parque Empresarial Argame, 33163 Morcfn.
Asturias, Spain.
Tel: +34985-08-18-70
UNITED KINGDOM
Power Probe Group Limited
[email protected]
14WellerSt, London, SE11QU, UK
Tel: +34985-08-18-70
MGL
Incorporated with MGL
700019857 JULY2021 V1
©2021 MGL International Group Limited. All rights reserved.
Specifications are subject to change without notification.
SKU Number: PPVT750LCDCBINT



























