Dodona 9009020070 Legs Mounting Panel For Classic Bathtubs User Manual
Tools Required
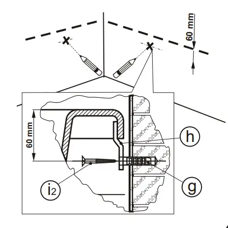
Dimensions
Instructions
Specifications
Download manual
Here you can download full pdf version of manual, it may contain additional safety instructions, warranty information, FCC rules, etc.
To access the pdf donwload links, solve the captcha.

























