USER’S MANUAL
Model: HMW-BBW9500D
Baby Bottle Warmer
HMW-BBW-9500D Baby Bottle Warner
Thank you for choosing product
In order to use this product well, please be sure to read the instruction manual carefully and keep the instruction manual properly. The pictures in this manual are for reference only, the product is subject to the actual product.
Precautions for Use
- Please read the manual carefully before using this product.
- In order to avoid moisture and leakage, please do not put the machine into water for cleaning.
- Do not place the product in the place accessible to infants and children; please unplug the power supply if it is not used for a long time.
- If the power cord is damaged, in order to avoid risks, it must be replaced by the manufacturer, its maintenance department or professionals in similar departments.
- Do not pour milk and food directly into the milk warmer for heating.
- Before feeding, please drop the milk on the hand bowl to check the temperature; pay attention to the food heating time should not be too long, so as not to damage the food nutrition.
- When the product is used in the early stage, slight plastic smell is easy to appear after high temperature, which is anormal phenomenon
- This appliance can be used by children aged from 8 years and above and persons with reduced physical, sensory or mental capabilities or lack of experience and knowledge if they have been given supervision or instruction concerning use of the appliance in a safe way and understand the hazards involved. Children shall not play with the appliance. Cleaning and user maintenance shall not be made by children without supervision.
- This appliance is intended to be used in household and similar applications such as: staff kitchen areas in shops, offices and other working environments; farm houses; by clients in hotels, motels and other residential and breakfast type environments.
- CAUTION: Insure that the appliance is switched off before removing it from its stand.
- Do not touch hot surfaces. Use handles or knobs.
- The use of accessory attachments not recommended by the appliance manufacturer may result in fire. electric shock or injury to persons.
- Do not use outdoors (this item may be omitted if the product is specifically designed for outdoor use).
- Do not let cord hang over edge of table or counter. or touch hot surfaces.
- Do not place on or near a hot gas or electric burner, or in a heated oven.
- Always attach plug to appliance first, then plug cord into the wall outlet. To disconnect, turn any control to “off” . then remove plug form wall outlet.
| Warm Tips | For a better user experience and later maintenance, please use a wet tissue to wipe the inside and outside of the machine for the first time when starting to use the new machine. Please clean the baby bottle basket and cover with water. Fill the scale with water in the bottle warmer and then choose the “Sterilize”mode runs once. At this time, it can check whether the machine is in good condition or not. After the operation, pour out the internal water of the bottle warmer for ventilation and drying and then it can be used normally next time. |
Cleaning and Maintenance
- When cleaning, please unplug the power plug and wait for the heating plate to cool to room temperature before cleaning.
- Do not scratch the heating plate with metal sharp objects.
- Due to the different water quality of the tap water, when the heating plate is used for a period of time and the scale is accumulated. Appropriate amount of vinegar or citric acid can be used to add appropriate amount of water into the bottle warmer. Choose the “Sterilize”function to boil the water and clean it.
Daily Cleaning Method
- Daily cleaning is recommended once every 10-15 days.
- After the bottle basket and cover are cleaned with water, place them for ventilation.
Long-term Maintenance Requirements
- It is recommended to pour a certain amount of cleaning detergent (vinegar, citric acid, etc.) into the water tank every two months after the normal use of the bottle warmer and soak it for more than 10 minutes, and then rinse it with clear water.
Product Specifications
| Product Name | Baby Bottle Warmer | Product Model | HMW-BBW95OOD |
| Rated Power | 120V 500W | Warranty | 1Year |
| Recommended room temperature &humidity | 15-30°C / 30%-80% | Year of Manufacture |
Introduction to use and operation panel
The machine is equipped with six touch buttons: “power button”, “function selection”, “add temperature”, “reduce temperature”, ” reserve ” and “night light”, as shown in the following figure:

- Plug in the power supply and the buzzer will beep once, then the screen will display “OF”. Enter the standby state.
- Press the “POWER
” button to turn on and off the machine. When the machine is turned on, the function indicator lights for Warm Milk, Thaw, Food, and Sterilize are all on and the screen display 00 - Press the “MODE
” to select four functions: Warm Milk, Defrost, Food and Sterilize . Each press only displays one function. Other function lights are off.
3.1Warm Milk: select the warm milk function, the warm “MILK
” lightis on, and the screen displays 40 ‘C by default. At this time, you can use “+” and “-” to adjust and set the temperature from 35 to 50 C.The corresponding indicator flashes 2 times quickly and the buzzer beeps once to enter the heating state. During the heating process, the screen displays the current milk temperature value. And display the set temperature alternately, after reaching the set temperature is no longer displayed alternately.
3.2Thaw: Select the thaw function and the “THAW
” function light is on, then the display shows 37 ‘C by default. At this time, you can use “+” and “-” to adjust the setting temperature from 30 to 45 TC. The corresponding indicator flashes 2 times quickly and the buzzer beeps once to enter the heating state. During the heating process, the screen displays the current milk temperature value. And display the set temperature alternately, after reaching the set temperature is no longer displayed alternately.
3.3Heat Food: Select the Heat Food function and the “FOOD
” light will turn on then the screen will display 75 C by default. At this time, you canuse “+” and “-” to adjust and set the temperature value from 60 to 80 °C. The corresponding indicator flashes 2 times quickly and the buzzer beeps once to enter the heating state. During the heating process, the screen displays the current milk temperature value. And display the set temperature alternately, after reaching the set temperature is no longer displayed alternately.
3.4Sterilize: Add about 150m! of water to the milk warmer and select the sterilize function. The indicator lights
is on and the screen switches to display 100‘Cand then alternately shows the process temperature of the water temperature rise. After the water is boiled, then continue to heat for 10minutes to sterilize. Return to standby after sterilization. - Preset: Press”TIME”button and the” TIME
“indicator will be on. then the screen will display one hour by default. The time can be adjusted by “+,-”. When the booking countdown is completed, the machine starts to heat up.
Note: Please select the function before making an appointment. - Night Light: Press the “LAMP
“button and the night light indicator is on.
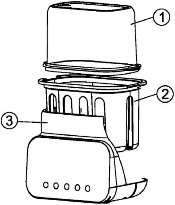
Product Components and Characteristics

| Item | Part Name | Material | Temperature resistance | Quantity |
| 1 | Transparent High Cover | PP | -20-120°C | 1 |
| 2 | Baby BasketBottle | PP | -20-120°C | 1 |
| 3 | Main Body | PP | -20-120°C | 1 |
Assembly and Use Method:

Warranty Card
Thank you for choosing our products. For your rights and interests, please take good care of the warranty card. If there is any quality problem, please contact the dealer.
| User Name | Product Name | ||
| Mobile | Product Model | ||
| Shop | Purchase Date | ||
| Shopping Addess | |||
Warranty:
It is free to provide the maintenance services or replacement within one year from the date of purchase, if there are quality problems or failure problems in normal use condition judged by the technical staff from BAPHIYA.
Free Maintain won’t be given under the following circumstance:
Free Maintain won’t be given under the following circumstance:
- During the warranty period, repaired by technical staff who is not from Baphiya ,installed or used improperly or improper transportation.
- The damage caused by customer inappropriate installation, disassembly , or the usage.
- Warranty card lost or damaged.
Note this product is subject to change without notice during continuous improvement.



















