MSR 10955 PocketRocket Deluxe Fast Billing Canister Stove
POCKETROCKET® DELUXE STOVE
DANGER
FOR OUTDOOR USE ONLY CARBON MONOXIDE HAZARD
This stove can produce carbon monoxide, which has no odor.
Using it in an enclosed space can kill you. Never use this stove in an enclosed space such as a camper, tent, vestibule, car, or home.
FIRE OR EXPLOSION HAZARD If you smell gas:
- Do not attempt to light appliance.
- Extinguish any open flame.
- Disconnect from fuel supply.
- Evacuate immediately.
- Allow gas to dissipate 5 minutes before relighting the apppliance.
Failure to follow these instructions could result in fire or explosion, which could cause property damage, personal injury or death.
FOR YOUR SAFETY
Do not store or use gasoline or other flammable vapors and liquids in the vicinity of this or any other appliance.
CARBON MONOXIDE, FIRE, EXPLOSION HAZARD
There are serious hazards associated with using this stove and fuel. Accidental fire, explosion, and misuse can cause death, serious burns, and property damage. You are responsible for your own safety and the safety of those in your group. Please use good judgment and read these instructions for use carefully. Familiarize yourself with the stove before connecting it to its gas container. Keep these instructions for future reference.
DANGER
This stove is a lightweight, compact device made for OUTDOOR USE ONLY to boil water or cook food. Never use it for any other purpose. Use of stove within any enclosure, or for a purpose other than boiling water or cooking food can cause fire, burns, severe injury or death. Cooking outdoors is more hazardous than cooking as you normally would at home. Please consult with your local outdoor retailer to learn more about cooking outdoors. Seek qualified instruction before you venture outdoors. This stove uses a liquid pressurized gas (LPG) container that is highly flammable and explosive. This stove shall only be used with an 80% isobutane / 20% propane gas cartridge certified to EN 417. It may be hazardous to attempt to fit other types of gas containers. Follow this safety information
- Check that the seals between the stove and the gas container are in place and in good condition before connecting the stove to the cylinder. Do not use this stove if it has damaged or worn seals.
- Gas containers must be changed in a well ventilated location outside and away from any sources of ignition, such as naked flames, pilot lights, electric fires and away from other people.
- Listen and smell for leaking gas. Leaking gas is a serious hazard. LPG is invisible and odorless, and strong odorant additives can fade over time. Leaks are not always detectable by smell. Do not use this stove if it is leaking, damaged, or does not operate properly.
- Check that the stove and fuel container connection is secure and tight. If the connection does not look or feel secure, or if you hear or smell leaking gas and cannot stop the flow of gas, do not use stove or fuel container. Move it to a well-ventilated area away from any ignition source to locate and stop the leak. Use of a leaking stove can cause fire, burns, severe injury or death.
- Check for leaks using soapy water. Do not try to detect leaks using a flame.
- Never use fuel containers larger than 8 ounces (227 grams) or more than 4 inches (10 centimeters) in height without an MSR Universal Canister Stand, because oversized containers decrease stove stability. Never use fuel containers larger than 16 ounces (450 grams).
- Keep stove and fuel container away from other heat sources. Never use any kind of windscreen. If you expose the fuel container to high heat, it will explode or leak and you can be killed or seriously burned.
- Follow all warnings on fuel container regarding use and storage. Canister can be checked for remaining fuel by assembling and attempting to light stove.
- Do not store or use gasoline or other liquids with flammable vapors in the vicinity of this or any other stove.
- Do not disassemble stove beyond what is described in these instructions. DO NOT MODIFY THIS STOVE. Disassembly or modification of stove in any manner not consistent with these instructions voids warranty and can result in an unsafe situation where fire, burns, severe injury or death can occur. No user-serviceable parts.
- Do not use stove if parts are missing or broken, or with replacement parts not specific to your stove model. Use of stove with missing or broken parts, or with replacement parts not specific to your stove model, can result in an unsafe situation where fire, burns, severe injury or death can occur. Cascade Designs, Inc. warrants the use of appropriately-sized MSR® brand cookware only—use of cookware other than MSR® brand cookware is at user’s own risk and discretion.
DANGER
Do not use this stove: (1) before reading and fully understanding this Instruction Manual; (2) if you are not prepared or comfortable attending to a burning and/or hot stove at all times; (3) if you observe leaking fuel; or (4) if you observe any condition with the stove system or in the surrounding environment that would make operation of an open flamed device dangerous. Failure to follow these directions can cause an unsafe situation leading to fire, burns, severe injury or death.
POCKETROCKET® DELUXE INSTRUCTIONS
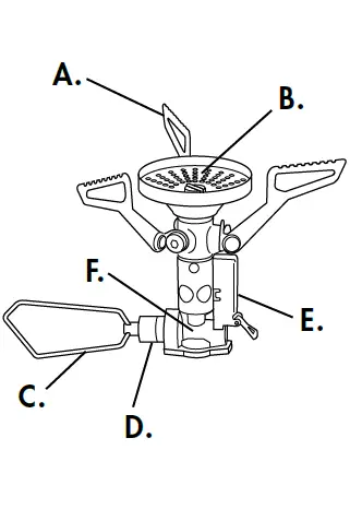
STOVE PARTS:
- Pot Supports
- Burner Head
- Flame Adjuster
- Flame Adjuster Valve
- Piezo Starter
- Pressure Regulator
CONNECT STOVE AND CANISTER
- Unfold Flame Adjuster (C) and close Flame Adjuster Valve (D). 2. Open Pot Supports (A). Pull each Pot Support away from stove. Rotate each Pot Support counterclock-wise until it locks upright into place. 3. Finger-tighten stove onto the top of the canister until the connection is secure.
WARNING Never overtighten fuel canister to stove. Overtightening can damage stove or canister and cause fuel to leak. Leaking fuel can cause fire, burns, severe injury or death. The canister must be constructed and marked in accordance with EN 417. Use extreme caution when using stove in temperatures below freezing. In freezing temperatures O-rings can stiffen and leak fuel. Always check for fuel leaks before and after lighting stove. Use of a leaking stove can cause fire, burns, severe injury or death. Keep children far away from stove and fuel—Cascade Designs, Inc. recommends no less than 10 feet (3+ meters). Never leave a burning or hot stove unattended. An unattended stove can lead to fire or a situation where children, pets, or the unwary can be burned, injured, or killed. - SET UP STOVE

Clear cooking area of combustible materials and flammable liquids or vapors. 2. Place stove assembly on a solid, stable, even surface to ensure stability.
WARNING Keep combustibles at least 4 feet (1.2 meters) away from the top and sides of a burning stove, or a stove that you are in the process of lighting. Keep flammable liquids and vapors at least 25 feet (7.6 meters) away from the top and sides of a burning stove, or a stove that you are in the process of lighting. This stove can ignite combustible materials, flammable liquids and vapors and create a situation where fire, burns, severe injury or death can result.
Never attempt lighting stove if Flame Adjuster Valve is left open. If Flame Adjuster Valve is left open, close it immediately and thoroughly ventilate area before lighting stove. Failure to ventilate area can result in an explosion that can cause fire, burns, severe injury or death.
TURN STOVE ON
USING PIEZO PUSH START
- Open Flame Adjuster Valve (D) (1 ½ turn) to release fuel. 2. Push Piezo Starter Button (E) to light stove. 3. Turn Flame Adjuster Valve to desired flame setting. Proper flame will appear blue. If fuel does not ignite within 5 seconds, close the Flame Adjuster, wait 15 seconds, and repeat substeps above.
USING A MATCH: 1. Hold a lit match over the edge of the Burner Head (B). - Open Flame Adjuster Valve (D) (1 ½ turn) to release and ignite fuel.
- Turn Flame Adjuster Valve to desired flame setting. Proper flame will appear blue.
WARNING
Never place your head or body above the stove while lighting or cooking. Because stove maintains an open flame, placement of head or body above stove is an unsafe practice that can cause fire, burns, severe injury or death.
USE STOVE TO COOK
- Add food or liquid to cookware.
- Place cookware onto the center of the stove. 3. Turn Flame Adjuster Valve (D) to adjust heat.
WARNING Never move a burning or hot stove. Always extinguish stove and cool for at least 5 minutes before moving. Moving a burning or hot stove can cause fire, burns, severe injury or death. Never use cookware with a diameter greater than 8 inches (20.3 centimeters). Never place and operate two or more stoves together. Never operate stove with empty or dry cookware. Never use a reflector or diffuser. Use of stove in any of the preceding manners can result in the fuel canister exploding and causing fire, burns, severe injury or death. Never use cookware of any size that is ill-suited or inappropriate for use with stove or stove pot supports (e.g., cookware with a convex or concave bottom, some enameled cookware, etc.). Use of stove with ill-suited and/or inappropriate cookware can result in cookware and/or stove instability and a situation where hot cookware and/or cookware contents can spill and cause fire, burns, severe injury or death.
TURN STOVE OFF
- Close Flame Adjuster Valve (D) when cooking is done.
- After flames are out, wait 5 minutes for stove to cool.
- Move stove assembly away from any ignition sources and unscrew canister. A small amount of gas may escape when unscrewing stove.
- Fold Flame Adjuster (C) and Close Pot Supports (A). Rotate each Pot Support clockwise. Press each Pot Support toward stove body.
NOTE: If the canister is completely empty of fuel, follow proper disposal requirements in your local area.
WARNING
Always disconnect stove from canister before storing it. Failure to disconnect stove from canister before storing may cause fuel to leak and cause fire, burns, severe injury or death. Always store fuel canisters in a well-ventilated location away from any possible heat or ignition source, such as water heaters, stoves, pilot lights or furnaces, or where temperatures exceed 120 F (49 C). Storing fuel canisters near any heat or ignition source, or where temperatures exceed 120 F (49 C), can result in the canister exploding and causing fire, burns, severe injury or death. Stove service must only be done by an individual authorized by Cascade Designs, Inc. If you have any questions about these instructions, your stove, replacement parts, or repairs, please contact Cascade Designs.
Limited Warranty details at msrgear.com/warranty
For Troubleshooting Solutions, visit: msrgear.com/pocketrocket-deluxe
Cascade Designs, Inc.
4000 First Avenue South,
Seattle, WA 98134 USA
Cascade Designs, Inc., USA – 1-800-531-9531 or 206-505-9500 Cascade Designs, Ltd., Ireland – (+353) 21-4621400
www.msrgear.com | [email protected]
























