
www.starwatersystems.com
POWERFLUSH OPTIMA PRO
MODELS #S2004, S2006

Product information presented here reflects conditions at time of publication.
Consult factory regarding discrepancies or inconsistencies.
![]()
For missing, damaged parts or technical help, Call
1-800-742-5044
before returning product
S2006 Optima Pro Powerflush
ATTACH YOUR RECEIPT HERE
Purchase Date ______________
MODEL NO. _______________
DATE CODE: ______________
DATE INSTALLED: __________
SAFETY INFORMATION
Please read and understand this entire manual before attempting to assemble, operate or install the product. Inspect all materials before installation. If parts are damaged or missing, call 1-800-742-5044 before returning to your retailer.
WARNING
ELECTRICAL SHOCK HAZARD.
To help reduce the risk of electrical shock, a properly grounded receptacle or control box of grounding type must be installed and protected by a ground fault circuit interrupter (GFCI) in accordance with the National Electrical Code and applicable local codes. Never remove ground pin from plug.
ELECTRICAL SHOCK HAZARD.
Make certain that the ground fault interrupter protected receptacle is within reach of the pump’s power supply cord. DO NOT USE AN EXTENSION CORD. Extension cords that are too long or too light do not deliver sufficient voltage to the pump motor. But more important, they could present a safety hazard if the insulation were to become damaged or the connection end were to fall into a damp or wet area.
ELECTRICAL SHOCK HAZARD.
Make sure the pump’s electrical supply circuit is equipped with fuses or circuit breakers of proper capacity. A separate branch circuit, sized according to the National Electrical Code for the current shown on the pump name plate is recommended (see Note 3).
ELECTRICAL SHOCK ALERT. TESTING FOR GROUND.
As a safety measure, each electrical outlet should be checked for ground using an Underwriters Laboratory Listed circuit analyzer which will indicate if the power, neutral and ground wires are correctly connected to your outlet. If they are not, call a qualified licensed electrician.
ELECTRICAL SHOCK ALERT.
FOR YOUR PROTECTION ALWAYS DISCONNECT PUMP FROM ITS POWER SOURCE BEFORE HANDLING. If pump is wired direct, de-energize the circuit at the control box. Grounded pumps are supplied with a 3-prong grounded plug to help protect you against the possibility of electrical shock. DO NOT UNDER ANY CIRCUMSTANCES REMOVE THE GROUND PIN. To reduce the risk of electrical shock, a properly grounded receptacle of grounding type must be installed and protected by a ground fault circuit interrupter (GFCI) in accordance with National Electrical Code and applicable local codes.
WARNING
ELECTRICAL SHOCK ALERT.
Installation and checking of electrical circuits and hardware should only be performed by a qualified licensed electrician.
PROP65 WARNING FOR CALIFORNIA RESIDENTS: Cancer and Reproductive Harm – www.P65Warnings.ca.gov
CAUTION
PRODUCT DAMAGE MAY RESULT
This unit is not designed to handle any material other than human waste and toilet paper. The following list includes, but is not limited to, items that should not be used with this system: Feminine sanitary products, condoms, cotton balls and swabs, baby wipes, paper towels, etc.
PRODUCT DAMAGE MAY RESULT
Check to be sure your power source is adequate to handle the amperage requirements of the motor as indicated on the pump or unit I.D. tag.
PRODUCT DAMAGE MAY RESULT All plumbing (discharge and vent lines) must be installed to meet local codes. Unit must be vented. Do not use an automatic plumbing vent device. Toilet will not flush.
PRODUCT DAMAGE MAY RESULT Maximum operating temperature for models S2004 / S2006 must not exceed 130°F (54°C). Duty cycle should not exceed 30 seconds on/30 seconds off.
PRODUCT DAMAGE MAY RESULT
Do not use cleaning products containing bleach in the toilet tank, toilet or attached fixtures as they will degrade the pump seals.
EXPLOSION ALERT
Risk of explosion. Do not use the pump for flammable liquids such as diesel oil, petrol or similar liquids.
NOTES: Repair and service should be performed by an Authorized Service Station only. (Consult Factory.) Recommended for installations up to 20-ft total dynamic head. Consult Factory if installation is above 15-ft vertical height in 1-in pipe. Mini-grinder Pump is designed for use in Power Flush Optima Pro units only. It is not designed for use in any other application. Mini-grinder pump is rated for 115V, 60 Hz, 9.6 Amps, .5 HP. Pumps with the “UL” mark and pumps with the “US” mark are tested to UL Standard UL778. CSA Certified pumps are certified to CSA Standard C22.2 No. 108. Power Flush Optima units only. It is not designed for use in any other application. The IP rating is certified and issued by the CSA group. IP68 reqires that the product be sealed against all dust and also against water for at least a depth of 2m for 30 minutes. S2004 and S2006 toilets utilize 1.28 gallons per flush. All fixtures connecting to the system must be on the same floor level.
GENERAL PUMP USES
The Powerflush Optima Pro allows you to add a bathroom in a variety of residential locations:
| Basements New Homes Cabins Additions | Workshops Garages Slab Construction |
- The patented grinder/tank system is designed to move waste water and sewage up to existing sewer lines recommended for installations up to 20-ft. total dynamic head.

- Multiple fixtures can drain into Powerflush Optima Pro, allowing you to include a bath or shower as well as a vanity sink. Simply plumb these additional items directly to the grinder/tank unit.

- Exposed Installation (grinder/tank unit is visible behind toilet).

- Hidden Installation (grinder/tank unit is hidden behind wall). For installation behind a wall, extension kit 023260 (sold separately) is required.

PACKAGE CONTENTS
| Part | Description | Quantity |
| A | 1/2 HP mini-grinder pump unit with discharge fittings | 1 |
| B | Rubber coupling | 1 |
| C | Clamps for rubber coupling | 2 |
| * | Installation instructions | 1 |
*Not Shown

NOTE: For installations with pump unit hidden behind a wall, purchase extension kit 023260.

PREPARATION
Before beginning installation of product, make sure all parts are present. Compare parts with package contents list. If any part is missing or damaged, do not attempt to assemble the product.
Estimated Installation Time: 5 hours for non-hidden installation or additional fixtures.
Tools Required for Assembly (not included): tape measure, pipe tape, hacksaw, flathead screwdriver, 2-step PVC glue system (primer and sealer), hydraulic cement or other material

INSTALLATION TIPS
Helpful Hints For Easy Installation
Read all instructions before beginning installation.
Be sure the floor is level within 1/8-in (3 mm).
Install vent pipe seal with flange side of seal on outside of lid.
Use soapy water to lubricate all seals to aid installation.
Install rubber coupling/union in vent line to aid disassembly.
Do not over torque toilet mounting screws.
Do not use an automatic plumbing vent device.
Obtain model number and date code, and record information in the space provided on the front of this manual. Refer to this information when calling factory.
Do’s And Don’ts For Installing A Unit
DO read all installation material with the unit.
DO inspect unit for any visible damage caused by shipping. Contact dealer if unit appears to be damaged.
DO clean all visible debris from the unit.
DO always disconnect pump from power source before handling.
DO always connect to a separately protected and properly grounded ground fault protected circuit.
DO NOT ever cut, splice or damage power cord.
DO NOT carry or lift pump by its power cord.
DO NOT use an extension cord.
DO install a ball or gate valve and a union in the discharge line downstream of the check valve.
DO test pump immediately after installation to be sure that the system is working properly. DO review all applicable local and national codes and verify that the installation conforms to each of them. We DO NOT recommend this product be connected to utilities other than those found in a normal bathroom application. Washing machines and dishwashers are examples of equipment that we Do Not recommend. DO inspect and test system for proper operations at least every 3 months.
DIMENSIONS

LOCATION SELECTION
1. Plan your new installation carefully. Floor: The floor should be structurally sound and level within 1/8-in (3 mm). If the floor is not level, use hydraulic cement or similar material to level the floor. Water: A water supply will be needed to operate the toilet. Usually a 1/2-in (DN15) line with a shut-off valve is sufficient.
Electrical: A receptacle of the appropriate voltage will be needed to supply electrical power to the pump.
Sewage: Access to a sewage line is required. The Power lush Optima Pro requires a 1-in (DN25) (or 3/4-in [DN20] if local code allows it) sewage discharge line to connect to an existing sewage line. A ball or gate valve should be installed in the discharge line.
Vent: Access to a vent pipe is required in some markets. The use of a mechanical vent system is NOT recommended as the toilet will not flush.
NOTE: If a built-in installation is to be used, locate the pump unit in an area that will allow access to the pump and switch.

![]()
WARNING
Always disconnect power source before attempting to install, service or maintain the system. Never handle a pump with wet hands or when standing on wet or damp surface or in water. Fatal electrical shock could occur.
LEVELING PUMP UNIT
CAUTION Do not use wooden shims to level the pump unit.
CAUTION Ensure that nails, screws or other sharp objects do not puncture the pump unit. Level the pump unit to within 1/8-in (3 mm) using hydraulic cement or similar material.

TOILET ASSEMBLY
- Turn the toilet tank upside down and rest on protective padding. Install the tank to bowl gasket over the bottom threads of the flush valve, making sure that the tank gasket covers the flush valve nut and the tapered side is toward the bowl.
CAUTION: Do not use pipe dope on any plastic or rubber parts.
CAUTION: Be careful when tightening bolts or nuts against china to prevent cracking the china.
- Lift the toilet tank right side up and position the tank on the bowl by centering the gasket and aligning holes on the bowl. Install tank to bowl bolts and rubber washers with narrow side down, through the tank and bowl.

- Push down on the top of the toilet tank one side at a time while tightening plastic washers and nuts under the bowl.
Alternate tightening nuts to achieve a watertight seal, while make sure the bowl and tank are level.
CAUTION: Do not over tighten or china may crack.
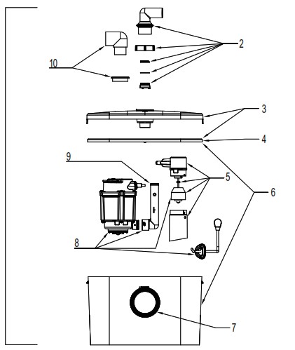
Item Description 1 Toilet tank cover 2 Toilet tank 3 Toilet tank to toilet bowl gasket bolts 4 Rubber toilet tank to toilet bowl gasket 5 Water supply connection 6 Water supply line rubber seal 7 Water supply line adapter 8 Water supply line (not included) 9 Plastic flat washer 10 Plastic nut 11 Bolt cover 12 Toilet bowl 
WATER SUPPLY HOOKUP
- Make sure the incoming water supply is turned off.

- Insert the plastic coupling wing nut, plastic washer and rubber seal over the end of the water supply line (not included).

- Connect the water supply line to the ballcock shank that extends below the toilet tank by tightening the plastic adapter with rubber washer over the end of the ballcock shank.
CAUTION: Do not over tighten. Ballcock shank may split and void the warranty.
ROUGH-IN
CAUTION Toilet assembly is top heavy. Take special precautions to ensure that toilet does not tip over and break. Connect the rear discharge toilet to the front inlet of the Powerflush Optima Pro via hose clamps. Ensure the connections are according to local, regional and state codes.

ROUGH-IN – EXPOSED PUMP UNIT INSTALLATION
- Position the grinder/tank unit a minimum of 1/8-in from the wall with the inlet facing forward. Attach the rubber coupling to the inlet using the worm drive clamp provided.

- Place the toilet in front of grinder/tank unit; aligning the discharge of the toilet with the inlet of the grinder/tank unit.
Check to be sure that the rubber coupling will bridge the gap adequately for final installation. The toilet tank should be a minimum of 1/2-in. from the wall.
CAUTION: Do not connect rubber coupling to toilet at this time.
- Lightly mark the locations of the grinder/tank unit, toilet and closet screw set locations on the floor.

- Lightly mark the wall with the height of the grinder/tank unit and the bottom and sides of the toilet tank to prevent interference from pipe runs during pipe installation. Remove the toilet from the grinder/tank unit and set it aside until piping is installed.

NOTE: Installing the grinder/tank unit behind a wall will require an extension kit (P/N 023260) sold separately.
- Place the toilet assembly a minimum of 1/2-in from the wall and mark the closet screw set locations on the floor.

- Position the grinder/tank unit behind the wall. Measure the appropriate length of 3½-in. Schedule 40 PVC pipe provided with the extension kit and cut it to length. Set toilet aside.
CAUTION: Toilet assembly is top heavy. Take special precautions to ensure that toilet does not tip over and break.
PIPING
- Cut and dry-fit the pipe and fittings as required for 1-in (DN25) diameter discharge pipe (may be reduced to 3/4-in [DN20] diameter if local code allows it).
- While dry-fitting the discharge pipe, position and mark the location of the pump unit discharge fitting.
- Cut and dry-fit 1-1/2-in (DN40) vent pipe as required to ensure that the vent pipe does not interfere with other components. Make the connection to the pump unit with the provided street elbow. A 2-in x 1-in 90º discharge fitting has been provided.
COUTION Proper venting is required - Temporarily set the toilet in place to check that there is no piping interference. Remove the toilet and set it aside.
- Clean, prime and solvent weld the discharge piping and pump unit discharge fitting.
COUTION When applying solvent weld to discharge fitting, ensure that none gets into the check valve assembly. Pay close attention to the proper alignment of the discharge fitting previously marked. - For markets requiring a pipe vent, clean and solvent weld the vent piping as required for proper venting.
Note: Adding other bathroom fixtures: The Power lush Optima Pro system is designed to accept additional bathroom fixtures utilizing the

- Connect the desired inlet pipe from other fixtures to the side inlet(s) of the Powerflush Pro. Use a 1-3/4-in (44 mm) hole saw to cut hole in side inlet(s).
two side inlets. These inlets can be attached using the 2-in MPT (outside diameter) or the 1-1/2-in (DN40) slip (inside diameter). These inlets must have the inner portion drilled out using a 1-3/4-in (44mm) hole saw. This is to ensure there is no leakage problems from inlets not in use. When utilizing side inlets, install a check valve on the incoming line.
COUTION Once the side inlet opening has been drilled out, remove burrs and rough edges to avoid the potential for clogging.
- Connect the discharge pipe and vent pipe to the top of the Powerflush Optima Pro.

- Connect all inlet piping to the Powerflush Pro if desired.

TOILET INSTALLATION
- Pre-drill holes for closet screw sets at the points marked earlier and install screws in holes.

- Place the toilet assembly over the closet screw sets. Install the anchoring hardware and tighten in an alternating pattern. Check for level and shim as required.
Be careful when tightening bolts or nuts against china to avoid cracking the china.
- For exposed installation, Install rubber coupling onto the toilet discharge and grinder/tank unit hub and secure

- For hidden installation, (using optional extension kit 023260) install the rubber couplings to both the grinder/ tank unit and the toilet discharge and secure to extension pipe with worm clamps provided.

- Install the water supply line from the existing water shut-off valve to the toilet water supply connection.

- Open the water supply valve and check for leaks. The toilet tank should fill to the proper level. Adjust if required.

- Flush the toilet and watch for proper operation. Listen for the pump to start. The pump unit requires proper venting in order for toilet to flush. Check for leaks. Repeat flush cycles to assure proper operation.

ADDING OTHER BATHROOM FIXTURES
- Power Flush Optima is designed to accept additional bathroom fixtures utilizing the two side inlets.

- Additional fixtures can be attached either to the 2 in. MPT (outside diameter) or the 1½-in. slip (inside diameter). These side inlets are sealed by the factory to prevent leaks when inlets are not used. Before use, these side inlets must be drilled out using a 1¾-in. hole saw.

- When utilizing side inlets, install a check valve on the incoming line.

POWER
Plug the power cord into a wall socket to provide power to the unit.

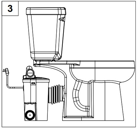
TYPICAL INSTALLATION

MAINTENANCE
WARNING Mechanical and Electrical Hazard. Disconnect power prior to maintenance or opening. This equipment is only to be serviced and maintained by a qualified professional.

- Remove the stack vent pipe and discharge pipe from the top of the Power lush Optima Pro.

- Take the lid off the Power lush Optima Pro.

- Lift the switch housing and pump out of the tank.

- The float sleeve can be removed from the switch housing to clear the float of debris.

- The discharge elbow pipe can be disconnected from the volute of the pump to be cleared of debris.

REPLACEMENT PARTS
| Item | Description | Repair Kit or Part Number |
| 1 | Power lush Optima Pro Complete system | 25566 |
| 2 | Outlet pipe assembly repair kit | 84993 |
| 3 | Tank cover repair kit | 84994 |
| 4 | Tank seal repair kit | 85006 |
| 5 | Switch housing and float repair kit | 84996 |
| 6 | Tank repair kit | 84998 |
| 7 | Bellow repair kit | 84840 |
| 8 | Pump repair kit | 85000 |
| 9 | Discharge elbow repair kit | 85002 |
| 10 | Vent pipe repair kit | 85001 |

PUMP PERFORMANCE

| TOTAL DYNAMIC HEAD / FLOW | |||
| MODEL | 115 V / 60 H | ||
| Feet | Meters | Gallons | Liters |
| 5 | 1.5 | 45 | 170.3 |
| 10 | 3.0 | 39 | 147.6 |
| 15 | 4.6 | 33 | 124.9 |
| 20 | 6.1 | 25 | 94.6 |
| 25 | 7.6 | 13 | 49.2 |
| Shut-off Head | 29.5 ft. (9m) | ||
TROUBLESHOOTING
| Condition | Possible Cause | Remedy |
| Pump will not start or run. | Low voltage, open circuit, failed capacitor | Have a qualified electrician check fuse and circuit. |
| Impeller bound and cutter bound. | Contact the Technical Service Department. | |
| Motor or wiring shorted. | ||
| Debris on float switch. | Remove debris | |
| Pump will not shut off or runs too long before water is pumped. | Debris under float. | Remove debris from around float. |
| Faulty float switch. | Contact the Technical Service Department. | |
| Pump is air locked. | Make sure vent hole in discharge pipe is clear. | |
| Waste material has accumulated blocking flow of material to pump intake. | Hold flush handle down on toilet for 15 seconds. If unit will not clear, unplug and wait 30 minutes. Plug unit back in and repeat. If unit still will not turn off, it will need to be opened and the debris removed. | |
| Pump operates but delivers little or no water. | Debris around intake. | Clean area around intake. |
| Blockage in discharge pipe. | Remove pipe and flush out debris. | |
| Low or incorrect voltage. | Have a qualified electrician check house wiring. | |
| Damaged Impeller. | Contact the Technical Service Department. | |
| Incorrect float adjustment. | Contact the Technical Service Department. | |
| Pump is air locked. | Make sure vent hole in discharge pipe is clear. | |
| Vertical lift too high. | Change discharge piping or contact the Technical Service Department. |
If this checklist does not solve the problem, contact the Technical Service Department at 1-800-742-5044. Do not attempt to service or otherwise disassemble pump. Care of finish: Soap and water is all that is recommended for cleaning the outside of the tank. Other cleaning products may cause discoloration and scratching.
WARRANTY
This product is warranted for two years from the date of purchase. Subject to the conditions hereinafter set forth, the manufacturer will repair or replace to the original consumer, any portion of the product which proves defective due to defective materials or workmanship. This warranty does not cover replacement parts for failure due to normal wear and tear. To obtain warranty service, contact the dealer from whom the product was purchased. The manufacturer retains the sole right and option to determine whether to repair or replace defective equipment, parts or components. Damage due to conditions beyond the control of the manufacturer is not covered by this warranty.
THIS WARRANTY WILL NOT APPLY:
(a) To defects or malfunctions resulting from failure to properly install, operate or maintain the unit in accordance with printed instructions provided;
(b) to failures resulting from abuse, accident or negligence or use of inappropriate chemicals or additives in the water;
(c) to normal maintenance services and the parts used in connection with such service;
(d) to units which are not installed in accordance with normal applicable local codes, ordinances and good trade practices; and
(e) if the unit is used for purposes other than for what it was designed and manufactured.
RETURN OF WARRANTED COMPONENTS:
Any item to be repaired or replaced under this warranty must be returned to the manufacturer at Kendallville, Indiana or such other place as the manufacturer may designate, freight prepaid. THE WARRANTY PROVIDED HEREIN IS IN LIEU OF ALL OTHER EXPRESS WARRANTIES, AND MAY NOT BE EXTENDED OR MODIFIED BY ANYONE. ANY IMPLIED WARRANTIES SHALL BE LIMITED TO THE PERIOD OF THE LIMITED WARRANTY AND THEREAFTER ALL SUCH IMPLIED WARRANTIES ARE DISCLAIMED AND EXCLUDED. THE MANUFACTURER SHALL NOT, UNDER ANY CIRCUMSTANCES, BE LIABLE FOR INCIDENTAL, CONSEQUENTIAL OR SPECIAL DAMAGES, SUCH AS, BUT NOT LIMITED TO DAMAGE TO, OR LOSS OF, OTHER PROPERTY OR EQUIPMENT, LOSS OF PROFITS, INCONVENIENCE, OR OTHER INCIDENTAL OR CONSEQUENTIAL DAMAGES OF ANY TYPE OR NATURE. THE LIABILITY OF THE MANUFACTURER SHALL NOT EXCEED THE PRICE OF THE PRODUCT UPON WHICH SUCH LIABILITY IS BASED.
This warranty gives you specific legal rights, and you may have other rights which vary from state to state. Some states do not allow limitations on duration of implied warranties or exclusion of incidental or consequential damages, so the above limitations may not apply to you.
In those instances where damages are incurred as a result of an alleged pump failure, the Homeowner must retain possession of the pump for investigation purposes.



















































