VOICE ACTIVATED
CEILING FAN
CF00260
CF00266
CF00272
INSTRUCTION MANUAL
CF00200 Series Voice Activated Ceiling Fan
Thank you for purchasing our FORNO VOCE ceiling fan that comes packed with exclusive features:
- Bluetooth Voce system. Take full control of your ceiling fan using just your voice. No need to use any other device like your phone, remote, or any other communication assistant.
- You have the flexibility to control multiple fans that are in the same area using your voice. Or, control them independently if you want.
- Bluetooth Voce app that allows you to securely connect your phone and control your fan with a tap.
- You can also control multiple fans in different rooms.
- It has a Smart Scheduler that allows you to freely set when you want the fan and light to be switched on and off, fan speed, light intensity, weekend, weekday, etc.
- 3 pre-set fan programs:
a. Breeze, which gives you a soothing, sequentially changing breeze speed.
b. Wind, gives you an invigorating, randomly changing wind speed.
c. Eco, will even out your room temperature giving you a more comfortable and energy-efficient environment. - Super Efficient, Silent, and Reliable Brushless DC motor.
- Fully dimmable LED lights.
- Includes a handheld remote control for easy fan speed and lighting adjustment.
- 6 fan speeds in your remote control, but 20 speeds when you use your App for the ultimate comfort.
- Pre-wired remote receiver, making for an easy and faster ceiling fan installation.
- Unique ceiling fan blade design that minimizes air noise.
BEFORE YOU BEGIN
This fan may be installed with a Down Rod
or Flush Mount

READ CAREFULLY AND SAVE THESE INSTRUCTIONS
WARNING
TO REDUCE THE RISK OF FIRE, ELECTRIC SHOCK, OR INJURY TO PERSONS, OBSERVE THE FOLLOWING:
- Use this unit only in the manner intended by the manufacturer. If you have a question, contact the manufacturer
- Before servicing or cleaning the unit, switch the power off at the service panel and lock the service disconnecting means to prevent power from being switched on accidentally. When the service disconnecting means cannot be locked, securely fasten a prominent warning device, such as a tag, to the service panel.
- To Reduce The Risk Of Personal Injury, Do Not Bend The Blade Brackets When Installing The Brackets, Balancing The Blades, Or Cleaning The Fan. Do Not Insert Foreign Objects In Between Rotating Fan Blades
- To Reduce The Risk Of Fire, Electric Shock, Or Personal Injury, Mount To Outlet Box Marked Acceptable For Fan Support And Use Mounting Screws Provided With The Outlet Box.
- To Reduce The Risk Of Electric Shock, Disconnect The Electrical Supply Circuit To The Fan Before Installing Light Kit.
- CAUTION To reduce the risk of injury to people, the fan must be mounted at least 7 ft. (2.1 m) clear distance from the blades to the floor and 30” (0.76 m) clear from any wall or object.
- CAUTION When mounted directly to the building structure, appliance installation shall not expose combustible material, and do not install the appliance to a ceiling with a combustible finish.
- The installation of the appliance cannot leave the wood of the rafters or any thermal insulation exposed to the interior of the room.
- CAUTION All set screws must be checked, and retightened where necessary, before installation.
- All wiring must be in accordance with the National Electrical Code and local electrical codes. Electrical installation should be performed or approved by a qualified licensed electrician
- Switches must be UL/CSA General Use Switches. No dimmers, electronic switches, or rheostats should be used with this fan
- After making electrical connections, spliced conductors should be turned upward and pushed carefully up into the outlet box. The wires should be spread apart with the grounded conductor and the equipment-grounding conductor on one side of the outlet box.
- Electrical diagrams are for reference only. On installation, comply with all your local electrical codes
- Do not operate the Eco Mode while the fan blades are still in regular motion. You must turn the fan off and wait for the blades to stop before you engage Eco mode as this will reverse the movement of the blades.
- To avoid personal injury or damage to the fan and other items, use caution when working around or cleaning the fan. Do not place any object in the path of the blades.
Please open your box very carefully and take out all the components.
Parts List
| Part # | Items | Drawing | Description | Quantity |
| SCE002BRA SCF002SCR-CH, BL, BB | 1 2 | ![]() | Mounting Bracket (1) with 4 Screws (2) | 1 |
| SCF002CON | 3 | ![]() | Pack with 3 Wire Connectors, 2 Metallic Washers and 4 Spring Washers | 1 |
| SCF00260REC SCF00266REC SCF00272REC | 4 | ![]() | Remote Control Receiver | 1 |
| SCF002CANAVH, BL, TT, CP, OR, AG | S | ![]() | Canopy | 1 |
| SCFROD06-WH, BL, TT, CP, OR, AG SCFCLIP SCFPIN | 6 6A 68 | ![]() | Down Rod (6) with Clip (6A) and Pin (6B) | 1 |
| SCF002YOK-WH, BL, TT’ CP, OR, AG | 7 | ![]() | Yoke Cover | 1 |
| SCF002MOT-WH, BL, TT, CP, OR, AG | 8 | ![]() | Motor Assembly | 1 |
| SCF002 | 9 | ![]() | Pack of 7 Blade Screws, Spring Washer and Washers | 1 |
| SCE130260BLA-WH,BL,H,W SCE00266BLA-13, L SCE00272BLA-13, L | 10 | ![]() | Propeller Blades | 3 |
| SCF0021_81P-WH, BL, TT, CP, OR, AG | 11 | ![]() | Lamp Base | I |
| SCF002SHA | 12 | ![]() | Lamp Shade | I |
| SCFREM | 13 | ![]() | Remote Control and Holder | 1 |
| SVCCI | 14 | ![]() | Voice Control Centre (VCC I) | 1 |
You should have received all the parts in the Parts List.
Exploded View

Tools Required
Stop Ladder | Pliers | Measuring Tape |
Driver | Wire Stripper | Electrical Tape |
If you find any part missing please call: 1-866-231-8893
Or contact us at: [email protected] Please do not return this fan to the store before calling
CF00260-XXX – Net Weight: 6.6Kg (14.5lb)
CF00266-XXX – Net Weight: 6.5Kg (14.3lb)
CF00272-XXX – Net Weight: 6.6Kg (14.5lb)
CF00260-XXX is Suitable For Use in Damp Locations
CF00266-XXX is Suitable For Use in Dry Indoor Locations
CF00272-XXX is Suitable For Users in Dry Indoor Locations
WARNING: To avoid the risk of electrical shock, before attempting installation turn off the electricity at the main electrical box or fuse box.
WARNING: Any electrical installation should be done or approved by a licensed electrician.
WARNING: To avoid the risk of electrical shock, this fan should not be installed with any dimmer or another control device.
WARNING: To avoid the risk of personal injury, do not insert or place any object in the path of the blades.
WARNING: To avoid the risk of personal injury, do not bend the brackets or the blades during installation, cleaning, etc.
WARNING: To reduce the risk of fire, electric shock or personal injury, mount the fan directly onto a structural framing member or on an electric box marked Acceptable for Fan Support of 15.9 kg (35 lbs) or less and use the mounting screws supplied with the electric box. You can also support it directly to the building structure. Most electrical outlet boxes commonly used for lighting fixtures are not acceptable for Fan Support and may need to be replaced. If in doubt, consult a qualified electrician.
Installation Preparation
In your panel, turn OFF the switches or fuses that feed electricity to the electric box you will be using to install your fan. Also turn off the wall switch that feeds that box. 
The fan must be mounted with a minimum of 7 ft. (2.1 m) clear distance from the blades to the floor and 30” (0.76 m) clear from any wall or object. 
WARNING: The electrical outlet box should be clearly marked “Suitable for Fan Support”. Failure to do this may result in serious personal injury.
Applies to both: Down Rod Installation Flush Mount
WARNING: Failure to disconnect the power supply to the box may result in serious injury. Turn off circuit breakers or take out fuses now.
This fan can be mounted with the Down Rod (6) in a flat ceiling or a vaulted ceiling as long as the angle of the ceiling is under 19 degrees. 
Make sure that your box is properly grounded and has either a green or a bare wire.
Installing Mounting Bracket

Important:
Partially loosen the screws in the slotted holes of the Canopy. Remove the other 2 screws from the Canopy/Bracket assembly.
Twist and separate the Canopy from the Mounting Bracket. Save the screws.
Pass the wires in the electrical box through the center of the Mounting Bracket. Install the Mounting Bracket onto the electrical box using the screws and washers that came with the box. Please note to put the opening of the bracket towards the top if installing on a vaulted ceiling.
Down Rod Installation
Installing the Down Rod
- Remove the Clip (6A) and Pin (6B) from your Down Rod (6). Save the Clip and the Pin.

- Insert the Canopy (5) and the Yoke Cover (7) following the drawing on the right. Put his assembly aside.

- Loosen the Set Screw and Nut and the Set Screw on the Yoke. Take the Clamp out from the Safety Cable.

- Thread the wires and safety cable that comes from the Motor Assembly through the Down Rod.

- Insert the Down Rod into the Yoke making sure that the wires are not twisted and align the holes for the pin on the Down Rod with the holes in the motor Yoke. Insert the Pin all the way through and put the Clip in place. Secure tightly the 2 Set Screws and Nut. Lower Yoke cover until it rests on the Motor Assembly.

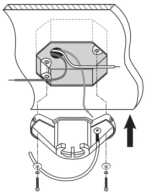
Securing Fan to Bracket

WARNING: Failure to align the hanging ball slot with the hanging bracket tab may result in serious personal injury or death.
- Using a step ladder lift the fan and using the opening in the bracket, insert the hanging ball part of the Down Rod into the bracket and let it rest there. Gently turn the Down Rod until you see and feel that the ball slot engages firmly with the hanging Bracket tab.
- Find a secure place (preferably a joist) and using a wooden screw and washer (not supplied) secure the safety cable to it. Adjust the slack of the safety cable using the clamp. (This step is NOT required in the US, you can cut the safety cable or just coil it around the canopy).
Electrical Installation with Down Rod


WARNING: Failure to disconnect the power supply to the box may result in serious injury. Double check now that the circuit breakers to the box are off.
Insert the 3-piece male connector from the Down Rod to the receiver’s 3-piece female connector. Make sure the Red wire aligns with the Red wire, the Brown with the Brown and the Yellow with the Yellow. Then insert the 2-piece male connector from the Down Rod to the receiver’s 2-piece female connector aligning White with White and Black with Black.
Using the wire connectors:
1. Connect the L (Black) wire from your Receiver to the Live (Black) wire from your ceiling electric box.
2. Connect the N (White) wire from your receiver to the Neutral (White) wire from your ceiling electric box.
3. Connect the green Ground wire that comes from the Ball of the Down Rod to the Green wire that comes from your receiver, the green wire from your bracket, and the green wire (if there is one) that comes from your box and at the same time to the bare or green wire that comes from your electric supply wire bundle.
Gently insert the receiver into the Mounting Bracket with the flat part towards the top. Carefully push wires and wire connectors into the electric box leaving the antenna outside of the Mounting Bracket. Spliced conductors should be turned upward and pushed carefully up into the outlet box. The wires should be spread apart with the grounded
conductor and the equipment-grounding conductor on one side of the outlet box.
Replacing the Canopy
Lift the canopy to Mounting Bracket and align slotted holes in the canopy with loosened screws in Mounting Bracket. Twist the canopy to lock. Tighten all canopy mounting screws securely. Ensure that wires have not been compressed by the canopy.
Flush Mount Installation
Electrical Installation for Flush Mount
WARNING: Failure to disconnect the power supply to the box may result in serious injury. Double check now that the circuit breakers to the box are off. Using the wire connectors:
- Connect the L (Black) wire from your Receiver to the Live (Black) wire from your ceiling electric box.
- Connect the N (White) wire from your receiver to the Neutral (White) wire from your ceiling electric box.
- Connect the green Ground wire that comes from the receiver to the green wire that comes from your Bracket, also to the green wire (if there is one) that comes from your box, and at the same time to the bare or green wire that comes from your electric supply wire bundle.
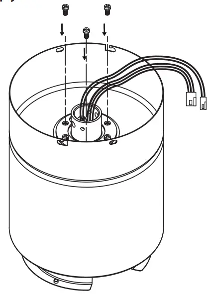
Flush Mount Installation
Remove 3 opposing screws from the Yoke in the top side of the Motor Assembly. Save the screws.
Thread the wires from the Motor Assembly through the center of the canopy.
Place the Canopy so that the 3 large holes in the Canopy align with the 3 heads of the screws you left on the Yoke.
The 3 small holes should align with the threads in the Yoke. Replace the 3 screws you took out in those holes and tighten.
Securing Fan to Bracket, Flush Mount

WARNING: Failure to secure safety cables with solid anchoring places may result in serious personal injury or death.
It is recommended that 2 people are involved in this step. Using a step ladder lift the fan assembly with the canopy attached, find a secure place (preferably a joist) and use a wood screw and washer (not supplied) to secure the safety cable to it. Adjust the slack of the safety cable using the clamp. Even though this step is not required in the US, this eases the installation process.
Gently insert the receiver into the Mounting Bracket with the flat part towards the top. Carefully push wires and wire connectors into the electric box leaving the antenna and
connectors outside of the Mounting Bracket.
Spliced conductors should be turned upward and pushed carefully up into the outlet box. The wires should be spread apart with the grounded conductor and the equipment-grounding conductor on one side of the outlet box. Insert the 3-piece male connector A from the Motor Assembly to the receiver’s 3-piece female connector A. Make sure the Red wire aligns with the Red wire, Brown with Brown, and Yellow with Yellow. Then insert the 2-piece male connector B from the Motor Assembly to the receiver’s 2-piece female connector B. Put the wires back inside the Canopy so that they relaxed.
WARNING: Failure to secure the canopy to the Mounting Bracket may result in serious personal injury or death.
Lift the Motor Assembly aligning the slot with the screws (one on each side) you left loose in the Mounting Bracket.
Once they engage twist the Motor Assembly clockwise.
Insert the two screws you took out in the holes that should be aligned with the threaded holes in the Mounting Bracket.
Tighten SECURELY ALL SCREWS. ENSURE that wires have not been compressed by the Canopy
From here on the installation is the same for both Down Rod and Flush Mount Installation
Installing the Blades for Down Rod and Flush Mount
Take 2 Blade Screws from Pack of Blade Screws (9) and make sure that the spring washer and the flat washer are in place with the flat washer towards the threads of the screw.

Align the window on the lower part of the Motor Assembly with 2 screw holes in the motor.
Insert the 2 Blade Screws with Blade Washers and tighten them securely with a Philips screwdriver.
Check that the 2 screws are tight before you go to the next step.
Rotate the secure blade until you can align another set of screw holes in the motor with the window in the lower part of the Motor Assembly.
HAND TIGHTENS ONLY. DO NOT USE A POWER TOOL TO TIGHTEN BLADE SCREWS.
Repeat the process for the other 2 Blades.
Installing the Light
Remove the 3 screws in the underside of the Motor Assembly.

Connect the wires from the Lamp Base with the wires in the lower part of the Motor Assembly using the pre-installed electric connexions. White with White, Black with Black.
Align the window in the underside of the Motor Assembly with the protrusion in the back of the Lamp Base. Push the Lamp Base up making sure they fit together. Replace the 3 screws you removed. Tighten them.
Lift the Lamp Shade and push it gently into the Lamp Base. Turn clockwise to lock in place.
DO NOT overtighten as this may crack the Shade.
Getting to Know Your Remote Control

You are ready to use your Remote Control!
Checking Your Installation
- Check that the fan is correctly positioned: the blades at least 7ft. (2.1m) off the floor and the tip of the blades at least 30in (0.76m) from any object.
- Check that the supports, bracket, fan blades, and light are securely attached.
- Clean the blades and body of the fan using a soft, lint-free cloth or a soft brush. DO NOT use water as it may damage the internal parts.
- Turn on your circuit breaker switches or replace the fuses in your fuse box.
- Turn on the wall switch that provides power to the box where the fan has been installed.
- Place 2AAA batteries (not included) in your remote control following the polarity indicated in the battery compartment of your remote control.
- Press #1 on your remote control. The fan should start at a low speed and you should feel a gentle breeze going from ceiling to floor. If the fan wobbles, stop the fan and go to the troubleshooting section.
- Press #3 on your remote control. The fan should move on to a medium speed and you should feel a breeze going from ceiling to floor. If the fan wobbles, stop the fan and go to the troubleshooting section.
- Press #6 on your remote control. The fan should move on to a high speed and you should feel a strong breeze going from ceiling to floor. If the fan wobbles, stop the fan and go to the troubleshooting section.
- Press the Light Icon, the light should switch on.
- Press the sign to the right of the light icon, the light should go brighter.
- Press the sign to the left of the light icon, the light should go dimmer.
- Press the On/Off button at the top of your remote control. The fan and the light should turn Off.

Congratulations!
You have completed successfully the functional test of your fan. Now go to the section for setting up your Voice Command Centre (VCC).
Installing the Voice Command Centre (VCC)
Your FORNO Fan comes with a unique Voice Command Centre (VCC) that allows you to take full control of your fan with only your voice. To install this device you will need to follow the following steps:
- Turn OFF the wall switch that provides power to the box where the fan has been installed.
- Select a wall electricity receptacle that is in the room where the fan is within 16ft (5m) of the fan.
- Using a USB plug (not supplied), plug in your VCC to the USB plug and plug both into the selected receptacle. For best results do not place your VCC behind large furniture or appliances.
- Follow the voice instructions that the VCC will give you to set up the room that your fan is in.
- If a room has not been selected within 1 minute of the second time the VCC prompts you to select a room, the system will default to “FORNO Home” as the room for this fan.
- After that is set, you will need to short-press the button at the bottom of the VCC and then long-press for 3 seconds to pair the fan and the VCC. Follow the instructions that the VCC will give you that include turning on the wall switch that provides electricity to your fan.
- The voice instructions and actions are also described below.
- Once the pairing is done you will be able to control your fan by using your voice.
- Please go to the next page for a full list of the voice commands available. The list is also available if you install the Forno APP.

VCC Voice Instructions and Actions
Please make sure that the wall switch where your fan has been installed is Off before you begin.
When you plug in your VCC for the first time it will say:
“Welcome to FORNO VOCE. Depending on the room you are placing me, please say now either FORNO Home, FORNO Dining or
FORNO Bedroom.”
Action: You need to say out loud: “FORNO Home”, “ FORNO Dining” or “FORNO Bedroom” according to the name that fits better the location of your fan. You can only choose and say ONE location.
When the VCC recognizes your voice it will say:
“Welcome to FORNO VOCE World to wake me up you can call Forno Home”. If FORNO Home is the room you selected.
“FORNO Home” will be the wake-up call for this VCC from now on.
It will say “Welcome to FORNO VOCE World to wake me up you can call Forno Dining”. If FORNO Dining is the room you selected.
“FORNO Dining” will be the wake-up call for this VCC from now on.
It will say “Welcome to FORNO VOCE World to wake me up you can call Forno Bedroom”. If FORNO Bedroom is the room you selected. “FORNO Bedroom” will be the wake-up call for this VCC from now on.
This will be the ONLY wake-up call for that VCC from now on. You always need to use this call to put your VCC in alert mode so it can take further commands.
If a room has not been selected within 1 minute of the second time the VCC prompts you to select a room, the system will default to
“FORNO Home” as the room for this fan.
To pair your fan to the VCC do a short press (just a pulse) followed by a long press (3 seconds) of the button at the lower part of the
VCC and it will say:
“If you are pairing a fan, switch on the power to the fan now”.
Action: Switch on the wall switch that provides power to the fan.
The fan will open a pairing window of 30 seconds. The fan will beep when the pairing is done.
You are ready to give voice instructions to your fan!
Note: You can turn the LED light on or off by short pressing the button at the bottom of the VCC.
Voice Commands
Your Forno Voice Command Centre (VCC) will respond and take action to the following voice commands:
| Item | Voice Command | VCC Reply | Action |
| 1 | Forno Home | Hello | VCC is ready and alert, waiting for further commands if this was the “wake-up”call you set |
| 2 | Forno Dining | Forno Dining, Hi | VCC is ready and alert, waiting for further commands if this was the”wake-up” call you set |
| 3 | Forno Bedroom | Forno Bedroom, Yes | VCC is ready and alert, waiting for further commands if this was the “wake-up” call you set |
| 4 | Volume High | Loud | Sets VCC voice Volume at High |
| 5 | Volume Medium | Medium | Sets VCC voice Volume at Medium |
| 6 | Volume Low | Quiet | Sets VCC voice Volume at Low |
| 7 | Fan High Speed | Sure, Fan High | Ceiling Fan turns On at High Speed or goes to High Speed from whatever speed it is at |
| 8 | Fan Medium Speed | OK, Fan Medium | Ceiling Fan turns On at Medium Speed or goes to Medium Speed from whatever speed it is at |
| 9 | Fan Low Speed | Fan Low | The ceiling Fan turns on at Low Speed or goes to Low Speed from whatever speed it is at |
| 10 | Fan Faster | OK, Fan Faster | The fan turns On at a very low speed. If already on, starts going 10% faster speed from where it is at |
| 11 | Fan Slower | Fan Slower | If off, stays off. If on, the fan goes to a 10% slower speed from where it is at |
| 12 | Fan Switch Off | Sure, Fan Turn Off | Fan turns Off |
| 13 | Timer Start | Timer Start | The timer turns on to a countdown of 3 hours |
| 14 | Eco Mode On | Sure, Eco Mode On | Eco Mode (reverse rotation) is started |
| 15 | Breeze Mode On | OK, Breeze Mode On | Breeze Mode turns On. Your fan goes into a sequential speed change that provides a breeze feeling |
| 16 | Wind Mode On | Wind Mode On | Wind Mode turns On. Your fan goes into a random speed change that provides a vigorous feeling |
| 17 | Light High | Sure, Light High | Light turns on at Full power or goes to Full power from wherever it is |
| 18 | Light Medium | OK, Light Medium | Light turns on at Medium power or goes to Medium power from wherever it is |
| 19 | Light Low | Light Low | Light turns on at Low power or goes to Low power from wherever it is |
| 20 | Light Brighter | OK, Light Brighter | The light turns on at Low Power. If already on, the light goes 10% Brighter |
| 21 | Light Dimmer | Light Dimmer | If it is off, it stays off. If on, the light goes 10% Dimmer |
| 22 | Light Off | OK | Light switches Off |
| 23 | Light Switch Off | OK | Light switches Off |
| 24 | GOODBYE | The system Shuts Down after 20 seconds of not receiving a voice command |
You are ready to give voice instructions to your fan!
Before you Begin Setting Up the App
The first phone which registers and pairs with the VCC will become the Main User of the FORNO World App.
Keep in mind that there is ONLY ONE Main User. Please find below a level of authority chart between the users.
| Device | Room | Management | ||||||||||
| Function | Device Control (Fan speed, light, lock) | Delete Device | Add Device | Edit Device Name | Edit I Set Timer | Edit Room Name | Delete Room | Add Room | Change Room Picture | User Management | Language | My Favorite |
| Main User | ✓ | ✓ | ✓ | ✓ | ✓ | ✓ | ✓ | ✓ | ✓ | ✓ | ✓ | ✓ |
| Sub User | ✓ | X | ✓ | X | ✓ | X | X | X | ✓ | X | ✓ | ✓ |
| Data Update Between Main and Sub-Users | Auto | Auto | Auto | Auto | Auto | Auto | Auto | Auto | Specific to each User | NIL | Specific to each User | Specific to each User |
Setting Up the App
Go to the Apple or Google App store. Search for “FORNO World”. You will be able to download a free App that will allow you to fully control your fan (and other FORNO devices that you may purchase). The QR code below will take you to the corresponding site. Download the App and register your product following the App instructions. This is important for Warranty purposes. After you are registered, you will see a screen like this:
- Tap the room that matches your voice selection or your location. Only ONE room can be selected for one VCC. That room/location will become the wake-up call for that VCC: “FORNO Home” for Home, “FORNO Bedroom” for Bedroom or “FORNO Dining” for Dining Room.

- A large photo of the room you picked will flash on your screen and then, you will get a screen like this that says “There is no VCC paired to your phone in this room”.

- Tap “Go to pair VCC”
- Follow the instructions that the App will give you.

- The VCC will say “Pairing Successful” when your Phone pairs with your VCC
- If you have NOT paired your Fan to your VCC before, your Phone will show a screen like this.
- Tap Add Devices bar and follow the instructions that your App will give you to pair your Fan to your VCC.
- Once you have successfully completed the Fan pairing or if you had done this before, you will get to a screen like this.

When this process is completed, you will be able to navigate this user-friendly App that will allow you to Fully control your fan by using your phone. You will have access to many more speeds and light intensities, you can set your timer and do your scheduling in a much more flexible way plus many more features.
You are ready to control your fan using your phone!

https://fornoworld.com/mobile-app-download
Sharing the App
Once you have set up the App you have become the Main User. If you want to integrate other phones to be able to use the flexibility of the App you will need to:
- Have the other family members download the App from the Apple or Google App store.
- On the top right-hand corner of the Main User phone, you will have a Share icon.

- On the top right-hand corner of the Sub User phones, you will have a Scan icon.

- Press the Share icon
on the Main User phone. - The following message will appear:

- A QR code will show up

- Please be sure that your VCC is plugged to the USB plug on the wall.
- Press the Scan icon
in the other Sub User phones and scan the QR code.
Your Sub Users are ready to control the fan using their phone!
Your Sub Users are ready to control the fan using their phone!
They can also do many other things like personalizing their favorites, changing the pictures for the rooms, setting the timers, locking the VCC so it cannot be voice-activated, adding other devices even changing the language they want to have in their App! Please note that only one User can be on the App interacting with the Fan at a time. The User needs to close the App by pressing the button at the bottom of their phone, swipe the App off their phone or let the phone screen time out and go dark before another User can get on the App to control the fan.
Communication Device Cautions
The FCC and the IC require us to place the following warnings in the manuals of every communication device that is tested to meet their standards:
FCC Compliance
Warning: Changes or modifications to this unit not expressly approved by the party responsible for compliance could void the user’s authority to operate the equipment.
NOTE: This equipment has been tested and found to comply with the limits for a Class B digital device, pursuant to Part 15 of the FCC Rules. These limits are designed to provide reasonable protection against harmful interference in a residential installation. This equipment generates, uses, and can radiate radio frequency energy and, if not installed and used in accordance with the instructions, may cause harmful interference to radio communications.
However, there is no guarantee that interference will not occur in a particular installation. If this equipment does cause harmful interference to radio or television reception, which can be determined by turning the equipment off and on, the user is encouraged to try to correct the interference by one or more of the following measures:
- Reorient or relocate the receiving antenna.
- Increase the separation between the equipment and receiver.
- Connect the equipment to an outlet on a circuit different from that to which the receiver is connected.
- Consult the dealer or an experienced radio/TV technician for help.
This device complies with Part 15 of the FCC Rules. Operation is subject to the following two conditions:
- This device may not cause harmful interference, and
- This device must accept any interference received, including interference that may cause undesired operation.
Caution: To maintain compliance with the FCC’s RF exposure guidelines, place the product at least 20cm from nearby persons.
IC Compliance
This device has been tested to meet Industry Canada technical specifications. This device contains license-exempt transmitter(s)/receiver(s) that comply with Innovation, Science, and Economic Development Canada’s license-exempt RSS(s). Operation is subject to the following two conditions:
- This device may not cause interference.
- This device must accept any interference, including interference that may cause undesired operation of the device.
To maintain compliance with the RF exposure guidelines, place the product at least 20cm from nearby persons.
Antennae and Other Communications Information
The VCC has 2 Antennas: 433Mhz and Bluetooth.
Complies with: CAN ICES-3 (B) / NMB-3 (B).
Trouble Shooting
| Problem | # | Solution | |
| A | Fan Does Not Start | 1 | Check circuit breakers or fuses that supply power to the area |
| 2 | Check that the wall switch that provides power to the fan is on | ||
| 3 | Ensure that your remote is under 33’110m) away from your fan or closer if objects are in the way | ||
| 4 | Check batteries in your remote control | ||
| 5 | If you have done all of the above disconnect the circuit breakers or fuses that provide power to the area and check your wiring according to the Electrical Installation diagram | ||
| B | Fan Wobbles | 1 | Check the yoke set screws and tighten |
| 2 | Check the set screw between the hanging ball and down rod and tighten | ||
| 3 | Check that all blade related screws are tight and secure | ||
| 4 | Call our customer service if the wobbling continues | ||
| C | Fan Is Noisy | 5 | Ensure all fan screws are tight |
| 1 | Ensure that the glass shade is positioned properly in the housing and that the clamps are tight | ||
| 2 | Ensure that he canopy is not hitting the ceifing, adjust if necessary | ||
| 3 | Ensure that the outlet box is secure and that the rubber isolating pads that come attached to the Mounting Bracket are in place between it and the electrical outlet box | ||
| 5 | Allow for a 24 hour break in period, most noises in a new fan disappear within this time | ||
| D | Remote Does Not Work | 6 | Check that batteries are installed properly in the battery compartment (AAA not supplied) |
| 2 | Check that batteries are fresh and that there has been no fluid leakage or rust | ||
| 3 | Ensure that your remote is under 33110m) away from your fan or closer if objects are in the way | ||
| 4 | |||
| The Pairing between your remote control and the fan might have been dropped.Tum the switch that provides power to your fan OFF. After S seconds turn it back on again. Immediately press for S seconds the ON/OFF switch in your remote. You will hear a ‘beep from your fan.Your remote has been successfully re-paired. | |||
| E | VCC Does Not Work Properly | 1 | Check that VCC is connected properly to a working USB transformer |
| 2 | Ensure that there is power in the receptacle where you connected the U58 transformer | ||
| 3 | Check-in your App that your device is not locked nor muted | ||
| 4 | Ensure that your VCC is under 33′(10m) away from your fan or closer if objects are in the way | ||
| 5 | Ensure that you are under 16′ (Sm) away from your VCC when you are giving it commands | ||
| 6 | Try changing the cadence (speed) when you are saying the wake-up call or a command | ||
| 7 | Ensure that your set-up was done properly and that you are using the correct wake-up call | ||
| 8 | If you have forgotten the wake-up can unplug your VCC. wait for 10s and then re-plug it. Your VCC will tell you the wake-up call for it | ||
| 9 | |||
| If everything above has failed or if you are installing VCC that has been deleted in the App, you can do 3 quick short presses of the button at the lower part of the VCC, then one long press (3 sec). Your VCC will say ‘Decouplecr and it will be RESET back to original specifications. You will need to install again your VCC. Please go to the appropriate section. | |||
| F | Your App Does Not Work Properly | 1 | Check that VCC is connected properly to a working USB transformer |
| 2 | Ensure that there is power in the receptacle where you connected the U58 transformer | ||
| 3 | Ensure that your phone is under 33’110m) away from your VCC or closer if objects are in the way | ||
| 4 | Ensure that no other User is engaged at this moment with the App | ||
| 5 | If you are having issues or if there is a time lag in the response of your Apo, refresh your App by closing and re-opening it | ||
| 6 | If everything above has failed or if you are installing VCC that has been deleted in the Apo, you can do 3 quick short presses of the button at the lower part of the VCC, then one long press (3 sec). Your VCC will say Trecoupled’ and it will be reset back to its original specifications. You will need to install again your VCC. Please go to the appropriate section. | ||
| G | Light Does not Work Properly | 1 | Check that the connexions between the wires from the motor and the wires from the light are done well (White with White. Black with Black) and secure |
| 2 | If the light flickers, check that all the grounding is done properly.The Receiver, the Ball of the Down Rod. your Box. your bracket and the ground in your electric supply bundle have to be securely connected |
Performance and Energy Information

The Bluetooth Registered word mark and logos are registered trademarks owned by Bluetooth SIG, Inc. and any use of such marks is under license. Android, Google Play, App Store, and their logos are used under license. Made in China
Warranty
CTM Maison Elite Inc. grants this limited warranty to the original purchaser of this ceiling fan from the date of purchase. Proof of purchase is required when requesting any warranty assistance. Motor, Limited Lifetime: If any part of your ceiling fan motor fails during your ownership of the fan due to a defect in material or workmanship, as determined solely by CTM Maison Elite Inc., we will provide you with a replacement fan motor. If no replacement motor can be provided for your fan, we will provide a comparable or superior replacement motor or fan at our sole discretion. Other Parts, Limited One Year: CTM Maison Elite Inc. warrants that all other fan parts, excluding any
glass or ABS blades, to be free from defects in workmanship and material at the time of manufacture for a period of one year. We agree to send a replacement part without charge or at our option replace it with a comparable or superior part.
To the extent permitted by law, CTM Maison Elite Inc. disclaims any and all warranties, including but not limited to those of merchantability and fitness for a particular purpose. There is no other express warranty. The duration of any implied warranty which cannot be disclaimed is limited to the period specified in the express warranty. Some states do not allow a limitation on how long an implied warranty lasts. The time limitation may not apply to you. Some states do not allow the exclusion of incidental or consequential damages, so the above limitation may not apply to you. This warranty gives specific legal rights. You may also have other rights which vary from state to state. The retailer shall not be liable for incidental, consequential, or damages arising out of or in connection with product use or performance except as may otherwise be accorded by law. This limited warranty is nontransferable to the original purchaser of this ceiling fan and will be void if the unit is removed from its original installation.
This warranty does not cover: ordinary wear and tear, minor cosmetic blemishes, batteries, light bulbs, refurbished units, fans that are not owned by the original purchaser, acts of God, changes in brass finish including rusting, pitting, corroding, tarnishing, or peeling. A certain amount of “wobble” is
normal and will not be considered a defect. Damage to any part by accident, misuse, abuse, improper installation, improper care and maintenance, improper electric supply or power surge, failure to follow the instructions in the enclosed manual, or any modification to the unit are not covered by this warranty. All costs of shipping parts, removing, repairing labor, and reinstalling the product are not covered by this warranty. Please do not ship your fan or any fan parts to CTM Maison Elite Inc. Shipment will not be
accepted. This warranty supersedes all prior warranties.
FOR WARRANTY PURPOSES PLEASE REGISTER YOUR PRODUCT USING THE APP
Customer Care
Thank you for purchasing a FORNO product. Please read the entire instruction manual before operating your new appliance for the first time. Whether you are an occasional user or an expert, it will be beneficial to familiarize yourself with the safety practices, features, operation, and care recommendations of your appliance. Both the model number and serial number are listed on the product. For warranty purposes, you will also need the date of purchase. Record this information below for future reference,
SERVICE INFORMATION
Model Number
Use these numbers in any correspondence or
_________________________________ service calls concerning your appliance.
Serial Number_______________________________If you received a damaged appliance, immediately contact the dealer (or builder) that sold you the appliance.
Date of Purchase ________________________________
Purchase Address & Phone _______________________Save time and money. Before you call for service, check the Troubleshooting Guide. It lists the causes of minor operating problems that you can correct yourself.
CUSTOMER SERVICE:
Keep the instruction manual handy to answer your questions. If you don’t understand something or you need more assistance, please call our Customer Service: 1-866-231-8893
Or email: [email protected]
Our contact: CTM Maison Elite Inc.
11420 Albert Hudon, Montréal, Québec H1G 3J6, Canada
The instruction manual can be downloaded from www.fornoworld.com or you can tap on the FORNO
World App to review the manual on your phone.














Stop Ladder
Pliers
Measuring Tape
Wire Stripper
Electrical Tape




























