
CF 1050 L
Instruction Manual


Safety and maintenance
Figure 1.
Figure 2.
Figure 3.
Figure 4.

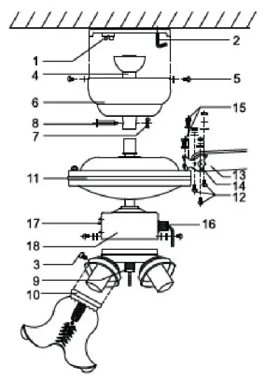
| STRUCTURE (Figure 1.) | |
| 1 | terminal block |
| 2 | ceiling plate |
| 3 | screws and washers for fixing the lamp cover |
| 4 | hanger tube |
| 5 | cover-fixing screws |
| 6 | cover |
| 7 | cotter |
| 8 | fixing pin |
| 9 | luminaire |
| 10 | lamp cover |
| 11 | motor |
| 12 | fan blade-fixing screws |
| 13 | fan blade |
| 14 | blade-holder |
| 15 | screws for fixing the blade-holder to the motor |
| 16 | fan speed cord switch |
| 17 | rotation direction-change switch |
| 18 | control unit |
CEILING FAN
IMPORTANT SAFETY INSTRUCTIONS
READ THE INSTRUCTION MANUAL CAREFULLY BEFORE USE AND RETAIN IT FOR LATER REFERENCE!
WARNINGS
- Before using the product for the first time, please read the instructions for use below and retain them. The original instructions were written in the Hungarian language.
- This appliance may only be used by persons with impaired physical, sensory or mental capabilities, or lacking in experience or knowledge, as well as children from the age of 8, if they are under supervision or have been given instruction concerning use of the appliance and they have understood the hazards associated with use. Children should not be allowed to play with the unit. Children may only clean or perform user maintenance on the appliance under supervision.
- Make sure that the appliance has not been damaged during transit!
- Installation, electric connection can be done only by qualified personnel!
- Do not use in locations where flammable vapors or explosive dust may be present. Do not use near flammable materials or in potentially explosive atmospheres!
- Operate only under constant supervision!
- Do not operate unattended in the presence of children!
- Only for indoor use, in a dry place. Protect from humidity (e.g. bathrooms, swimming pools)!
- It is PROHIBITED to use the unit near bathtubs, basins, showers, swimming pools or saunas!
- It is prohibited to use the appliance in motor vehicles or in confined spaces (<5 m2 ) such as elevators!
- Direction of rotation can only be changed when the fan is stopped! Risk of injury and engine failure!
- A max. 60 W light source can be screwed in each of the 3 luminaires.
- The luminaire is not suitable for looping-in installation.
- If any irregular operation is detected (e.g., unusual noise or burnt odor from unit), immediately switch it off and remove the power plug!
- Make sure that no foreign objects or liquid can enter the appliance through the openings.
- Protect from dust, humidity, sunlight and direct heat radiation!
- Power off the device before replacing the light source and cleaning by switching off the circuit breaker!
- Do not touch the unit or the power cable with wet hands!
- The appliance may only be connected to 230 V~ / 50 Hz mains network!
- The unit is intended for household use. No industrial use is permitted!
- Due to continuous improvements, the technical data and design may change without any prior notice.
- The actual instruction manual can be downloaded from www.somogyi.hu website.
- We don’t take the responsibility for printing errors which may occur, and apologize for them.
ASSEMBLY AND INSTALLATION OF THE UNIT (Figure 3.)
Power off the circuit at the place of the installation by switching off the circuit breaker!
- A. Remove the ceiling plate (2) from the cover (3) by removing the screws (1) from the 2 round holes, and by loosening the 2 other screws.
- B. Use a dowel suitable for the material and the structure of the ceiling. Drill holes corresponding to the dowels into the ceiling, to the place where the suspensions will be. Screw up the ceiling plate (1), use the screws, the plane and spring washers (2, 3, 4) also. Make sure that it is firmly in its place, and that the hook (3) can support the weight of the moving fan.
- C. Insert the hanging tube (2) to the cover (1), pass the wires through the hanging tube. Insert the end of the hanging tube (4) to the shaft of the motor unit (7). Fix it by passing the pin (5) through the tube and at the end of the shaft, then plug the cotter (3) to the fixing pin. Bend the stems of the cotter.
Tighten the security screw (6) also. - D. Temporarily hang the product on the hook of the ceiling plate (1). Use a hole of the cover to this.
Connect the lamp electrically (4. figure). Ask for the help of a specialist!
| Marking of the terminal block | Power cord |
![]() | The lamp switch wire (black or brown) of the wall switch (230 V~ / 50 Hz). |
![]() | The fan switch wire (black or brown) of the wall switch (230 V~ / 50 Hz). |
| N | Neutral wire of 230 V~ / 50 Hz mains network (blue wire). |
![]() | Grounding wire of 230 V~ / 50 Hz mains network (green/yellow wire). |
- E. Hook the fan off from the hook. Insert the cover to the ceiling plate’s two screws, rotate it into its place, and then fix it by tightening all the 4 screws.
Rotate the hanging tube, until the top plastic shape’s (1) rib (3) does not fit into the groove of the cover(2). - F. Screw the blades to the metal blade-holders.
- G. Fix the metal blade-holders to the motor, with screws and spring washers.
- H. Connect the two cord switches.
- I. Connect the electrical connector of the luminaire (4) to the control unit (1). Screw the luminaire to the control unit with 3 screws (3). Secure the lampshades (2) with the screws. Do not tighten over. Insert max. 60 W light sources to the E27 sockets.
CAUTION: RISK OF ELECTRIC SHOCK!
Do not attempt to disassemble of modify the unit or its accessories. In case any part is damaged, immediately power off the unit and seek the assistance of a specialist.
In the event that the power cable should become damaged, it should only be replaced by the manufacturer, its service facility or similarly qualified personnel.
CLEANING, REPLACEMENT OF THE LIGHT SOURCE
In order to ensure optimum functioning, the unit may require cleaning at least once a month, depending on the manner of use and degree of contamination.
- Power off the device by switching off the circuit breaker of its circuit before cleaning and replacing the light source.
- Use a slightly moistened cloth to clean the unit’s exterior. Do not use any aggressive cleaners. Avoid getting water inside of and on the electric components of the appliance.
- If necessary, replace the cooled light source.
- Install the fan again.
TROUBLESHOOTING
| Malfunction | Possible solution |
| The fan does not turn on. | Check the power supply! |
| Turn on/off the switch of rotation direction while the fan is stopped! |
DISPOSAL
Waste equipment must be collected and disposed separately from household waste because it may contain components hazardous to the environment or health. Used or waste equipment may be dropped off free of charge at the point of sale, or at any distributor which sells equipment of identical nature and function. Dispose of product at a facility specializing in the collection of electronic waste. By doing so, you will protect the environment as well as the health of others and yourself. If you have any questions, contact the local waste management organization. We shall undertake the tasks pertinent to the manufacturer as prescribed in the relevant regulations and shall bear any associated costs arising.
Functions
CEILING FAN
FEATURES
• ceiling fan with 3 luminaires • nominal blade diameter: 105 cm • 4 pcs MDF-material blades • 3 fan stages • reversible direction of rotation • with cord switches • E27 sockets
FAN OPERATION
After powering on the fan, you can operate it with the cord switches. By pulling the cord switch of the lamp, you can turn on or off the lighting. The fan speed can be adjusted in 3 stages, which can be operated by the other cord switch. The rotation direction of the fan can be adjusted with the slide switch. ATTENTION! Direction of rotation can only be changed when the fan is not moving. Risk of damage and engine failure! In the summer it is advisable to direct the air flow to the ceiling to create a cool, pleasant ventilation. In contrast to it, in winter, direct the airflow downwards to force the warm air down.
TECHNICAL SPECIFICATIONS
fan power supply: …………………………………………. 230 V~ / 50 Hz / 50 W
touch-protection class: ………………………………….. I.
environmental temperature: …………………………… ta +10 – +40 °C
light source power supply: …………………………….. E27 / 3 x max. 60 W
overall size: …………………………………………………… Ø 105 x 67 cm
length of holder bar: ……………………………………… 35 cm
weight: ………………………………………………………….. 5 kg
maximal fan air-mass flow: ……………………………. F = 107,29 m3/ min
fan electric input power: ………………………………… P = 46,2 W
operating value:……………………………………………….. SV = 2,32 (m3/ min) / W
energy consumption in standby mode: ……………. PSB = 0,0 W
fan sound power level: …………………………………….. LWA = 52,7 dB(A)
maximal air speed: …………………………………………… c = 2,13 m / sec
measurement standard for the operating value: IEC 60879:1986
Producer
SOMOGYI ELEKTRONIC®
www.somogyi.hu






















