RYOBI RY40007/RY40009 40V Brushless Power Head

WARNING: To reduce the risk of injury, the user must read and understand the operator’s manual before using this product.
IMPORTANT SAFETY INSTRUCTIONS
WARNING
When using electric gardening appliances, basic safety precautions should always be followed to reduce the risk of fire, electric shock and personal injury.
READ ALL INSTRUCTIONS
- For safe operation, read and understand all instructions before using this product. Follow all safety instructions. Failure to follow all safety instructions listed below, can result in serious personal injury.
- Do not allow children or untrained individuals to use this unit.
- Check the work area before each use. Remove all objects such as rocks, broken glass, nails, wire, or string which can be thrown or become entangled in any part of the tool.
- Always wear eye protection with side shields marked to comply with ANSI Z87.1. Following this rule will reduce the risk of serious personal injury.
- Use Safety Glasses – Always use face or dust mask if operation is dusty.
- Protect your lungs. Wear a face or dust mask if the op-eration is dusty. Following this rule will reduce the risk of serious personal injury.
- Dress Properly – Use of rubber gloves and substantial footwear is recommended when working outdoors. Wear heavy, long pants, long sleeves, boots, and gloves. Do not wear loose-fitting clothing, short pants, sandals or similar lightweight footwear, jewelry of any kind, or go barefoot. Use of footwear and gloves with electrical protection is recommended. Footwear should protect feet and improve footing on slippery surfaces.
- Secure long hair above shoulder level to prevent entanglement in moving parts.
- Keep children away – Keep all bystanders, children, and pets at least 50 ft. away.
- Stay alert – Watch what you are doing. Use common sense. Do not operate this unit when you are tired, ill, upset, or under the influence of alcohol, drugs, or medication.
- Do not operate in poor lighting.
- Keep all parts of your body away from any moving part.
- Do not operate power tools in explosive atmospheres, such as in the presence of flammable liquids, gases, or dust. Power tools create sparks which may ignite the dust or fumes.
- Do not modify or attempt to repair the appliance or the battery pack (as applicable) except as indicated in the instructions for use and care.
- Avoid body contact with grounded surfaces such as pipes, radiators, ranges, and refrigerators. There is an increased risk of electric shock if your body is grounded.
- Avoid Dangerous Environments – Don’t expose appliance to rain or wet conditions. Water entering an appliance will increase the risk of electric shock.
- Use Right Appliance – Do not use appliance for any job except that for which it is intended. Use the correct tool for your application.
- Don’t Force Appliance – It will do the job better and with less likelihood of a risk of injury at the rate for which it was designed.
- Do not overreach – Keep firm footing and balance. Over-reaching can result in loss of balance.
- Avoid accidental starting – Be sure switch trigger is in the locked or off position before inserting battery pack. Carrying tools with your finger on the switch trigger or inserting the battery pack into a tool with the switch on invites accidents.
- Do not use tool if switch trigger does not turn it on or off. Any tool that cannot be controlled with the switch trigger is dangerous and must be repaired.
- Disconnect power head – Disconnect battery pack from the appliance before storing, servicing, or changing accessories such as cutting line. Such preventive safety measures reduce the risk of starting the tool accidentally.
- Use only identical manufacturer’s replacement parts and accessories. Use of any other parts may create a hazard or cause product damage.
- Use only as described in this manual. Use only manufacturer’s recommended attachments.
- Maintain appliance with care – Replace string head if cracked, chipped, or damaged in any way. Be sure the string head is properly installed and securely fastened. Failure to do so can cause serious injury. Follow instructions for lubrication and changing accessories. Inspect charger cord periodically and, if damaged, have it replaced. Keep power head handles dry, clean, and free from grease and oil.
- Check Damaged Parts – Before further use of the appli-ance, a guard or other part that is damaged should be carefully checked to determine that it will operate properly and perform its function. Check for alignment of moving parts, binding of moving parts, breakage of parts, mounting and any other condition that may effect its operation. A guard or other part that is damaged should be properly repaired or replaced by an authorized service center unless indicated elsewhere in this manual.
- Keep hands and feet away from cutting area.
- Make sure all guards, straps, deflectors and handles are properly and securely attached.
- Use only the manufacturer’s replacement string in the cutting head when using a string trimmer attachment.
Do not use any other cutting attachment, for example, metal wire, rope, or the like. To install any other brand of cutting head to the string trimmer attachment can result in serious personal injury. - Never operate unit without the grass deflector in place and in good condition.
- Maintain a firm grip on both handles while trimming. Keep string head below waist level. Never cut with the string head located over 30 in. or more above the ground.
- Keep all parts of the body away from the saw chain. Do not remove cut material or hold material to be cut when blades are moving. Make sure the switch is off when clearing jammed material. Saw chain continues to move after the switch is turned off. A moment of inattention while operating the extended-reach pruner may result in serious personal injury.
- Carry the extended-reach pruner by the handle with the saw chain stopped. When transporting or storing the extended-reach pruner, always fit the saw chain device cover. Proper handling of the extended-reach pruner will reduce possible personal injury from the saw chain.
- Store idle appliances indoors – When not in use, power head and attachments should be stored indoors in a dry, locked place out of the reach of children.
- Keep the air vents clean and free of debris to avoid overheating the motor. Clean after each use.
- Stop the unit and disconnect the power source when not in use. Carry the unit with the motor stopped.
- Store out of the reach of children.
- Do not hang unit so that the switch trigger is depressed.
- Battery tools do not have to be plugged into an electrical outlet; therefore, they are always in operating condition. Be aware of possible hazards when not using your bat-tery tool or when changing accessories. Following this rule will reduce the risk of electric shock, fire, or serious personal injury.
- Do not use battery-operated appliance in rain.
- Do not grasp the exposed cutting blades or cutting edges when picking up or holding the appliance.
- Keep hands away from blades.
- Do not allow power head to be used as a toy. Close at-tention is necessary when used by or near children.
- Do not handle charger, including charger plug, and charger terminals with wet hands.
- Use extra care when cleaning on stairs.
- Do not use to pick up flammable or combustible liquids, such as gasoline, or use in areas where they may be present.
- Remove or disconnect battery before servicing, cleaning or removing material from the gardening appliance.
- Use this product only with batteries and chargers listed in tool/appliance/battery pack/charger correlation supplement 988000-842.
- Do not dispose of the batteries in a fire. The cell may explode. Check with local codes for possible special disposal instructions.
- Do not open or mutilate the batteries. Released electrolyte is corrosive and may cause damage to the eyes or skin. It may be toxic if swallowed.
- Do not place battery tools or their batteries near fire or heat. This will reduce the risk of explosion and possibly injury.
- Batteries can explode in the presence of a source of ignition, such as a pilot light. To reduce the risk of serious personal injury, never use any cordless product in the presence of open flame. An exploded battery can propel debris and chemicals. If exposed, flush with water immediately.
- Do not crush, drop or damage battery pack. Do not use a battery pack or charger that has been dropped or received a sharp blow. A damaged battery is subject to explosion. Properly dispose of a dropped or damaged battery immediately.
- Exercise care in handling batteries in order not to short the battery with conducting materials such as rings, bracelets, and keys. The battery or conductor may overheat and cause burns.
- Follow all charging instructions and do not charge the battery pack or appliance outside of the temperature range specified in the instructions. Charging improperly or at temperatures outside of the specified range may damage the battery and increase the risk of fire.
- Under extreme usage or temperature conditions, battery leakage may occur. If liquid comes in contact with your skin, wash immediately with soap and water, then neutralize with lemon juice or vinegar. If liquid gets into your eyes, flush them with clean water for at least 10 minutes, then seek immediate medical attention. Following this rule will reduce the risk of serious personal injury.
- Save these instructions. Refer to them frequently and use them to instruct others who may use this power tool. If you loan someone this power tool, loan them these instructions also.
- Do not expose a battery pack or appliance to fire or excessive temperature. Exposure to fire or temperature above 265°F may cause explosion.
ADDITIONAL SPECIFIC SAFETY RULES CAN BE FOUND IN THE APPLICABLE ATTACHMENT’S OPERATOR’S MANUAL
SYMBOLS
| The following signal words and meanings are intended to explain the levels of risk associated with this product. | ||
| SYMBOL | SIGNAL | MEANING |
![]() | DANGER: | Indicates a hazardous situation, which, if not avoided, will result in death or serious injury. |
![]() | WARNING: | Indicates a hazardous situation, which, if not avoided, could result in death or serious injury. |
![]() | CAUTION: | Indicates a hazardous situation, that, if not avoided, may result in minor or moderate injury. |
![]() | NOTICE: | (Without Safety Alert Symbol) Indicates information considered important, but not related to a potential injury (e.g. messages relating to property damage). |
| Some of the following symbols may be used on this product. Please study them and learn their meaning. Proper in- terpretation of these symbols will allow you to operate the product better and safer. | ||
| SYMBOL | NAME | DESIGNATION/EXPLANATION |
![]() | Safety Alert | Indicates a potential personal injury hazard. |
![]() | Read Operator’s Manual | To reduce the risk of injury, user must read and understand operator’s manual before using this product. |
![]() | Eye Protection | Always wear eye protection with side shields marked to comply with ANSI Z87.1. |
![]() | Wet Conditions Alert | Risk of fire and burns. Do not expose battery, battery compartment, or electronic components to rain, water, or liquids. Do not operate on wet ground. |
![]() | Keep Bystanders Away | Keep all bystanders at least 50 ft. away. |
![]() | Ricochet | Thrown objects can ricochet and result in personal injury or property damage. |
![]() | No Blade | Do not install or use any type of blade on a product displaying this symbol. |
![]() | Recycle Symbol | This product uses lithium-ion (Li-ion) batteries. Local, state, or federal laws may prohibit disposal of batteries in ordinary trash. Consult your local waste authority for information regarding available recycling and/ or disposal options. |
| Direct Current | Type or a characteristic of current | |
| No Load Speed | Rotational speed, at no load | |
| Per Minute | Revolutions, strokes, surface speed, orbits etc., per minute | |
| V | Volts | Voltage |
| Hz | Hertz | Frequency (cycles per second) |
| min | Minutes | Time |
FEATURES
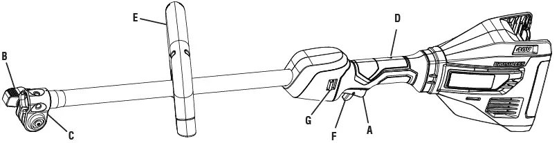
KNOW YOUR POWER HEAD

A – Switch trigger
B – Knob
C – Coupler
D – Rear handle
E – Front handle
F – Trigger lock-out
G – Speed switch
See Figure 1.
The safe use of this product requires an understanding of the information on the tool and in this operator’s manual as well as a knowledge of the project you are attempting. Before use of this product, familiarize yourself with all operating features and safety rules.
HANDLE OVER MOLD
Handle overmold provides added user comfort.
SPEED SWITCH
This tool has a speed selector that allows the operator to choose between and HI and LOW speeds. Using low speed during operation can help extend battery run time, while using high speed will improve power and performance.
TRIGGER LOCK-OUT
The trigger lock-out prevents accidental starting.
VARIABLE SPEED SWITCH TRIGGER
This tool has a variable speed switch that delivers higher speed with increased trigger pressure. Speed is controlled by the amount of switch trigger depression.
ASSEMBLY
UNPACKING
This product requires assembly.
- Carefully remove the product and any accessories from the box. Make sure that all items listed in the Packing List are included.
WARNING
Do not use this product if any parts on the Packing List are already assembled to your product when you unpack it. Parts on this list are not assembled to the product by the manufacturer and require customer installation. Use of a product that may have been improperly assembled could result in serious personal injury. - Inspect the product carefully to make sure no breakage or damage occurred during shipping.
- Do not discard the packing material until you have carefully inspected and satisfactorily operated the product.
- If any parts are damaged or missing, please call 1- 800-525-2579 for assistance.
PACKING LIST
- Power Head
- Front Handle
- Operator’s Manual
WARNING
If any parts are damaged or missing do not operate this product until the parts are replaced. Use of this product with damaged or missing parts could result in serious personal injury.
- Do not attempt to modify this product or create accessories not recommended for use with this product. Any such alteration or modification is misuse and could result in a hazardous condition leading to possible serious personal injury.
- To prevent accidental starting that could cause serious personal injury, always remove the battery pack from the product when assembling parts.
INSTALLING AN ATTACHMENT TO THE POWER HEAD

- A – Button
- B – Guide recess
- C – Coupler
- D – Power head shaft
- E – Knob
- F – Positioning hole
- G – Attachment shaft
See Figure 2.
INSTALLING AN ATTACHMENT TO THE POWER HEAD
See Figure 2.
WARNING:
Read and understand entire Operator’s Manual for each optional attachment used on this power head and follow all warnings and instructions. Failure to follow all instructions could result in electric shock, fire and/or serious personal injury.
- This 40 V power head is designed to be used only with the attachment models that are specified in this Operator’s Manual. It is not designed to be used with brush cutters or other attachment models. Use of other attachments could cause serious personal injuries or property damage.
- Never install, remove, or adjust any attachment while power head is running. Failure to stop the motor can cause serious personal injury. Never operate power head without an attachment.
This 40 V power head may be used with only the following RYOBI EXPAND-IT attachments:
- RY15518, RYEDG11, and RYEDG12 Edgers
- RYAXA22 Blower
- RY15523, RY15523A, RY15526, RY15527, and RYSST44 Straight Shaft String Trimmers
- RY15550 and RYTIL66 Cultivators
- RY15520 and RYPRN33 Pruners
- RYSNW00 Snow Thrower
- RYSWP25 Sweeper
The attachment connects to the power head by means of a coupler device. - Stop the motor and remove the battery pack.
- Loosen the knob on the coupler of the power head shaft and remove the end cap from the attachment.
- Push in the button located on the attachment shaft. Align the button with the guide recess on the power head coupler and slide the two shafts together. Rotate the attachment shaft until the button locks into the positioning hole.
NOTE: If the button does not release completely in the positioning hole, the shafts are not locked into place. Slightly rotate from side to side until the button is locked into place. - Tighten the knob securely.
WARNING:
Be certain the knob is fully tightened before operating equipment; check it periodically for tightness during use to avoid serious personal injury.
REMOVING THE ATTACHMENT FROM THE POWER HEAD
- Stop the motor and remove the battery pack.
- Loosen the knob.
- Push in the button and twist the shafts to remove and separate ends.
ATTACHING THE FRONT HANDLE

- A – Front handle
- B – Bolt
- C – Wing nut
- D – Bracket
See Figure 3.
- Remove wing nut and bolt from the front handle.
- Install the front handle onto the top side of the drive shaft housing in the area indicated by the label.
- Place the bolt through the front handle.
NOTE: The hex bolt head fits inside the hex recess molded into one side of the handle. - Reinstall the wing nut.
- Tighten wing nut securely.
OPERATION
WARNING:
- Read and understand entire Operator’s Manual for each optional attachment used on this power head and follow all warnings and instructions. Failure to follow all instructions could result in electric shock, fire and/or serious personal injury.
- Do not allow familiarity with products to make you careless. Remember that a careless fraction of a second is sufficient to inflict serious injury.
- Always wear eye protection with side shields marked to comply with ANSI Z87.1. Hearing and/or head protection may also be required depending on the type of attachment used and as prescribed in the attachment’s Operator’s Manual. Failure to do so could result in objects being thrown into your eyes and other possible serious injuries.
- Do not use any attachments or accessories not recommended by the manufacturer of this product. The use of attachments or accessories not recommended can result in serious personal injury.
NOTICE:
Before each use, inspect the entire product for damaged, missing, or loose parts such as screws, nuts, bolts, caps, etc. Tighten securely all fasteners and caps and do not operate this product until all missing or damaged parts are replaced. Please contact customer service or an authorized service center for assistance.
INSTALLING/REMOVING BATTERY PACK

- A – Battery pack
- B – Latch
See Figure 4.
WARNING:
Always remove battery pack from your tool when you are assembling parts, making adjustments, cleaning, or when not in use. Removing battery pack will prevent accidental starting that could cause serious personal injury.
To install battery pack:
- Place the battery pack in the power head. Align raised ribs on battery pack with grooves in the power head’s battery port.
WARNING
Make sure the latch on the bottom of the battery pack snaps in place and the battery pack is fully seated and secure in the power head battery port before beginning operation. Failure to securely seat the battery pack could cause the battery pack to fall out, resulting in serious personal injury.
To remove battery pack:
- Press and hold the battery latch button at the bottom of the battery pack.
- Remove battery pack from the power head.
For complete charging instructions, refer to the Operator’s Manuals for your RYOBI battery pack and charger models.
WARNING
To avoid serious personal injury, always remove the battery pack and keep hands clear of the trigger lock-out when carrying or transporting the tool.
STARTING/STOPPING THE POWER HEAD

- A – Trigger lock-out
- B – Switch trigger
- C – Speed switch
See Figure 5.
To start:
- Select the desired operating speed (HI or LOW).
- Press and hold the trigger lock-out.
- Depress the switch trigger.
To stop:
- Release the switch trigger to stop the power head.
- Upon release of the switch trigger, the trigger lock-out will automatically reset to the locked position.
OPERATING THE POWER HEAD
Fig. 6
TYPICAL OPERATING POSITION FOR ATTACHMENTS USED BELOW THE WAIST. SEE YOUR ATTACHMENT OPERATOR’S MANUAL FOR DETAILS SPECIFIC TO YOUR ATTACHMENT.

Fig. 7
TYPICAL OPERATING POSITION FOR ATTACHMENTS USED ABOVE THE WAIST. SEE YOUR ATTACHMENT OPERATOR’S MANUAL FOR DETAILS SPECIFIC TO YOUR ATTACHMENT.

Hold the power head with your right hand on the rear handle and your left hand on the front handle. Keep a firm grip with both hands while in operation. Power head should be held at a comfortable position with the rear handle about hip height.
NOTE: The most common operating positions are shown in the figures referenced. For the operating position for your specific attachment, always refer to the operator’s manual that came with the attachment.
Always operate power head with switch trigger completely depressed. If debris becomes wrapped around the attachment, RELEASE THE SWITCH TRIGGER, remove the battery pack, and remove the debris.
WARNING
Always hold the power head away from the body keeping clearance between the body and the tool. Any contact with an attachment cutting head can result in burns and/or other serious personal injuries.
- Extreme care must be taken when using a blade attachment to ensure safe operation. Read the safety informa-tion for safe operation when using a blade attachment and refer to the safety rules and instructions in your attachment manual. Never use a brush cutter attachment with this power head. Improper operation of a blade or any attachment could result in serious injury.
MAINTENANCE
WARNING
To avoid serious personal injury, always remove the battery pack from the tool when cleaning or performing any maintenance.
- Always wear eye protection with side shields marked to comply with ANSI Z87.1. Hearing and/or head protection may also be required depending on the type of attachment used and as prescribed in the attachment’s Operator’s Manual. Failure to do so could result in objects being thrown into your eyes and other possible serious injuries.
- When servicing, use only identical replacement parts. Use of any other parts can create a hazard or cause product damage.
NOTICE:
Periodically inspect the entire product for damaged, missing, or loose parts such as screws, nuts, bolts, caps, etc. Tighten securely all fasteners and caps and do not operate this product until all missing or damaged parts are replaced. Please contact customer service or an authorized service center for assistance.
GENERAL MAINTENANCE
Avoid using solvents when cleaning plastic parts. Most plastics are susceptible to damage from various types of commercial solvents and may be damaged by their use. Use clean cloths to remove dirt, dust, oil, grease, etc.
WARNING
Do not at any time let brake fluids, gasoline, petroleum-based products, penetrating oils, etc., come in contact with plastic parts. Chemicals can damage, weaken or destroy plastic which can result in serious personal injury.
CLEANING THE POWER HEAD
- Stop the motor and remove the battery pack.
- Clean dirt and debris from the power head using a damp cloth with a mild detergent.
NOTICE:
Do not use any strong detergents on the plastic housing or the handle. They can be damaged by certain aromatic oils such as pine and lemon, and by solvents such as kerosene.
STORING THE POWER HEAD
- Remove the battery pack from the power head before storing.
- Clean all foreign material from the power head.
- Store it in a place that is inaccessible to children.
- Keep away from corrosive agents such as garden chemicals and de-icing salts.
TROUBLESHOOTING
| PROBLEM | POSSIBLE CAUSE | SOLUTION |
| Motor fails to start when switch trigger is depressed. | Battery is not secure.
Battery is not charged. | To secure the battery pack, make sure the latch on the bottom of the battery pack is snapped into place. Charge the battery pack according to the instructions included with your model. |
This product has a Five-year Limited Warranty for personal, family, or household use (90 days for business or commercial use). For warranty details, visit www.ryobitools.com
or call (toll-free) 1-800-525-2579.

RY15526/RY15529
GENERAL SAFETY RULES
WARNING
Read and understand all instructions. Failure to follow all instructions listed below may result in electric shock, fire, and/or serious personal injury.
SAVE THESE INSTRUCTIONS
- Read these instructions and the instructions for the power head thoroughly before using the straight shaft trimmer attachment.
- Know the tool. Read and understand the operator’s manual and observe the warnings and instruction labels affixed to the tool.
- Do not allow children or untrained individuals to use this unit.
- Always wear eye protection with side shields marked to comply with ANSI Z87.1.
- Wear heavy long pants, boots, and gloves. Do not wear loose-fitting clothing, short pants, jewelry of any kind, or go barefoot.
- Secure long hair so it is above shoulder level to prevent entanglement in any moving parts.
- Keep all bystanders, children, and pets at least 50 ft. away. Bystanders should be encouraged to wear eye protection.
- Stay alert, watch what you are doing, and use common sense when operating a power tool. Do not use tool while tired or under the influence of drugs, alcohol, or medication. A moment of inattention while operating power tools may result in serious personal injury.
- Do not operate in poor lighting.
- Do not overreach. Keep proper footing and balance at all times. Proper footing and balance enables better control of the tool in unexpected situations.
- Keep all parts of your body away from any moving part.
- Do not touch areas around the muffler or cylinder of the power head. These parts get hot from operation. Failure to heed this warning could result in possible serious personal injury.
- Always stop the engine and remove the spark plug wire before making any adjustments or repairs except for carburetor adjustments.
- Inspect unit before each use for loose fasteners and damaged or missing parts. Correct before using the trimmer attachment. Failure to do so can cause serious injury.
- Use only original manufacturer’s replacement parts. Failure to do so may cause poor performance, possible injury, and will void your warranty.
- Do not, under any circumstance, use any attachment or accessory on this product, which was not provided with the product, or identified as appropriate for use with this product in the operator’s manual.
- Avoid dangerous environments. Do not use the attachment in damp or wet locations. Do not use in rain.
- Use the right attachment. Do not use attachment for any job except that for which it is intended.
SPECIFIC SAFETY RULES
- Replace string head if cracked, chipped, or damaged in any way. Be sure the string head is properly installed and securely fastened. Failure to do so can cause serious injury.
- Make sure all deflectors and handles are properly and securely attached.
- Use only flexible, non-metallic line recommended by the manufacturer. Never use wire, wire rope, or flail blades, which can break off and become dangerous project- tiles.
- Never operate string trimmer without the grass deflector in place and in good condition.
- Maintain a firm grip on both handles while trimming.
- Keep string head below waist level. Never cut with the string head located over 30 in. or more above the ground.
- Clear the work area before each use. Remove all objects such as rocks, broken glass, nails, wire, or string which can be thrown or become entangled in the cutting line.
- Save these instructions. Refer to them frequently and use them to instruct others who may use this tool. If you loan someone this tool, loan them these in-structions also to prevent misuse of the product and possible injury.
NOTE: SEE YOUR POWER HEAD OPERATOR’S MANUAL FOR ADDITIONAL SPECIFIC SAFETY RULES.
GRASS TRIMMER SAFETY WARNINGS
- Do not use the machine in bad weather conditions, especially when there is a risk of lightning. This decreases the risk of being struck by lightning.
- Thoroughly inspect the area for wildlife where the machine is to be used. Wildlife may be injured by the machine during operation.
- Thoroughly inspect the area where the machine is to be used and remove all stones, sticks, wires, bones, and other foreign objects. Thrown objects can cause personal injury.
- Before using the machine, always visually inspect to see that the cutter or blade and the cutter or blade assembly are not damaged. Damaged parts increase the risk of injury.
- Follow instructions for changing accessories. Improperly tightened blade securing nuts or bolts may either damage the blade or result in it becoming detached.
- Wear eye, ear, and hand protection. Adequate protec-tive equipment will reduce personal injury by flying debris or accidental contact with the cutting line or blade.
- While operating the machine, always wear non-slip and protective footwear. Do not operate the machine when barefoot or wearing open sandals. This reduces the chance of injury to the feet from contact with the moving blade.
- While operating the machine, always wear long trousers. Exposed skin increases the likelihood of injury from thrown objects.
- Keep bystanders away while operating the machine. Thrown debris can result in serious personal injury.
- Always use two hands when operating the machine. Hold the machine with both hands to avoid loss of control.
- Hold the grass trimmer by the insulated gripping surfaces only, because the cutting line or blade may contact hidden wiring. Cutting line or blades contact-ing a “live” wire may make exposed metal parts of the machine “live” and could give the operator an electric shock.
- Always keep proper footing and operate the machine only when standing on the ground. Slippery or unstable surfaces may cause a loss of balance or control of the machine.
- Do not operate the machine on excessively steep slopes. This reduces the risk of loss of control, slipping and falling which may result in personal injury.
- When working on slopes, always be sure of your footing, always work across the face of slopes, never up or down and exercise extreme caution when changing direction. This reduces the risk of loss of control, slipping and falling which may result in personal injury.
- Keep all parts of the body away from the cutting line or blade when the machine is operating. Before you start the machine, make sure the cutting line or blade is not contacting anything. A moment of inattention while operating the machine may result in injury to yourself or others.
- Do not operate the machine above waist height. This helps prevent unintended cutter or blade contact and enables better control of the machine in unexpected situations.
- When cutting brush or saplings that are under tension, be alert for spring back. When the tension in the wood fibres is released, the brush or sapling may strike the operator and/or throw the machine out of control.
- Use extreme caution when cutting brush and saplings. The slender material may catch the blade and be whipped toward you or pull you off balance.
- Maintain control of the machine and do not touch blades and other hazardous moving parts while they are still in motion. This reduces the risk of injury from moving parts.
- Carry the machine with the machine switched off and away from your body. Proper handling of the machine will reduce the likelihood of accidental contact with the moving blade.
- Only use replacement cutting lines, cutting heads and blades specified by the manufacturer. Incorrect replacement parts may increase the risk of breakage and injury.
- When clearing jammed material or servicing the machine, make sure the switch is off and the battery pack is removed. Unexpected actuation of the machine while clearing jammed material or servicing may result in serious personal injury.
SYMBOLS
| The following signal words and meanings are intended to explain the levels of risk associated with this product. | ||
| SYMBOL | SIGNAL | MEANING |
![]() | DANGER: | Indicates a hazardous situation, which, if not avoided, will result in death or serious injury. |
![]() | WARNING: | Indicates a hazardous situation, which, if not avoided, could result in death or serious injury. |
![]() | CAUTION: | Indicates a hazardous situation, that, if not avoided, may result in minor or moderate injury. |
![]() | NOTICE: | (Without Safety Alert Symbol) Indicates information considered important, but not related to a potential injury (e.g. messages relating to property damage). |
| Some of the following symbols may be used on this product. Please study them and learn their meaning. Proper interpretation of these symbols will allow you to operate the product better and safer. | ||
| SYMBOL | NAME | EXPLANATION |
![]() | Safety Alert Symbol | Indicates a potential personal injury hazard. |
![]() | Read Operator’s Manual | To reduce the risk of injury, user must read and understand operator’s manual before using this product. |
![]() | Eye and Hearing Protection | Always wear eye protection with side shields marked to comply with ANSI Z87.1, along with hearing protection when operating this equipment. |
![]() | Keep Bystanders Away | Keep all bystanders at least 50 ft. away. |
![]() | Ricochet | Thrown objects can ricochet and result in personal injury or property damage. |
![]() | No Blade | Do not install or use any type of blade on a product displaying this symbol. |
FEATURES
PRODUCT SPECIFICATIONS
Line Cutting Width …………………………………………………………………………………………………………………………13 in. and 15 in.
Line Diameter:
Gas Power Head …………………………………………………………………………………………………………. 0.080 in. to 0.095 in. max.
Cordless Power Head …………………………………………………………………………….. 0.080 in. max. round or 0.095 in. twisted
Electric Power Head ………………………………………………………. 0.080 in. max. round or 0.080 in. to 0.095 in. max. twisted
KNOW YOUR STRING TRIMMER ATTACHMENT

- A – Hanger cap
- B – Trimmer shaft
- C – Gear head
- D – Bump feed trimmer head housing
- E – Grass deflector
- F – Fixed line/blade housing
See Figure 1.
The safe use of this product requires an understanding of the information on the product and in this operator’s manual as well as a knowledge of the project you are attempting. Before use of this product, familiarize yourself with all operating features and safety rules.
ADJUSTABLE CUTTING DIAMETER
The cutting diameter is adjustable from 13 in. and 15 in. by rotating the line cutoff blade.
BUMP FEED TRIMMER HEAD HOUSING
Use the bump feed trimmer head housing for string trimming when using spooled replacement line.
FIXED LINE/BLADE HOUSING
Install the fixed line/blade housing when using precut trimmer line for string trimming or the provided blades for cutting thicker weeds or pulpy stalks.
GRASS DEFLECTOR
The trimmer includes a grass deflector that helps protect you from flying debris.
ASSEMBLY
UNPACKING
This product requires assembly.
- Carefully remove the items from the box. Make sure that all items listed in the Packing List are included.
WARNING
Do not use this product if any parts in the Packing List are already assembled to your product when you unpack it. Parts on this list are not assembled to the product by the manufacturer and require customer installation. Use of a product that may have been improperly assembled could result in serious personal injury.
- Inspect the unit carefully to make sure no damage occurred during shipping.
- Do not discard the packing material until you have carefully inspected and satisfactorily operated the product.
- If any parts are damaged or missing, please call
1- 800-525-2579 for assistance.
PACKING LIST
RYOBI™ EXPAND-IT Straight Shaft Trimmer Attachment (with Bump Feed Trimmer Head Housing installed)
SPEED WINDER™
Fixed Line/Blade Housing
0.095 in. Spiral Replacement Line
0.095 in. Pre-cut Line Pieces
Trimmer Head Blades
Grass Deflector
Operator’s Manual
WARNING
If any parts are damaged or missing do not operate this product until the parts are replaced. Use of this product with damaged or missing parts could result in serious personal injury.
Do not attempt to modify this product or create accessories not recommended for use with this product. Any such alteration or modification is misuse and could result in a hazardous condition leading to possible serious personal injury.
Do not connect to power head until assembly is complete. Failure to comply could result in accidental starting and possible serious personal injury.
ATTACHING THE GRASS DEFLECTOR

- A – Bolt
- B – Tab
- C – Slot
- D – Grass deflector
See Figure 2.
WARNING
The line cut-off blade on the grass deflector is sharp. Avoid contact with the blade. Failure to avoid contact can result in serious personal injury.
NOTE: Install the grass deflector before the attachment is connected to the power head.
- Remove the bolt from the grass deflector.
- Insert the tab on the mounting bracket in the slot on the grass deflector.
- Align the hole in the mounting bracket with the hole in the grass deflector.
- Insert the bolt through the mounting bracket and into the grass deflector.
- Tighten the bolt securely.
JOINING THE POWER HEAD TO THE STRAIGHT SHAFT TRIMMER ATTACHMENT

- A – Button
- B – Guide recess
- C – Coupler
- D – Power head shaft
- E – Knob
- F – Positioning hole
- G – Attachment shaft
See Figure 3.
WARNING
Never attach or adjust any attachment while power head is running. Failure to stop the engine or motor may cause serious personal injury.
The trimmer attachment connects to the power head by means of a coupler device.
- Remove the hanger cap from the attachment shaft.
- Loosen the knob on the coupler of the power head shaft.
- Push in the button located on the trimmer attachment. Align the button with the guide recess on the power head coupler and slide the two shafts together. Rotate attachment shaft until button locks into the positioning hole.
NOTE: If the button does not release completely in the positioning hole, the shafts are not locked into place. Slightly rotate from side to side until the button is locked into place. - Tighten the knob securely.
WARNING
Be certain the knob is fully tightened before operating equipment. Check it periodically for tightness during use to avoid serious injury.
REMOVING THE ATTACHMENT FROM THE POWER HEAD
For removing or changing the attachment:
- Stop the engine or motor.
- Loosen the knob.
- Push in the button and twist the shafts to remove and separate ends.
INSTALLING THE FIXED LINE/BLADE HOUSING

- A – Lower bump feed trimmer head housing
- B – Upper housing
- C – Arrows aligned

- A – Fixed line/blade housing
- B – Posts
- C – Blades

- A – Posts
- B – Arrows

- A – Posts
- B – Pre-cut line
- C – Eyelet
NOTE: Do not attempt to install line and blades in the fixed line/blade housing at the same time.
- Stop the engine or motor, disconnect the spark plug wire for gas power heads, remove the battery pack for cordless power heads, or disconnect the plug from the power source for electric power heads.
- Remove the bump feed trimmer head housing by rotating the lower housing counterclockwise so the arrow on the upper housing aligns with the outside arrow on the bump feed housing.
NOTE: The housing is spring loaded and will self-eject when unlocked. It is not necessary to remove the upper string head housing from the drive shaft. - If you intend to use the fixed line/blade housing with blades, install the blades onto the posts now.
- Place the blade over the post and press down until it is fully seated.
- Align the posts on the fixed line/blade housing with the arrows on the upper housing.
- Push the housing together and rotate the lower housing clockwise until the arrow aligns with the lock symbol on the upper housing to secure the head in place.
- If you did not install blades and intend to use the fixed line/blade housing with pre-cut line instead, install the line now.
- Fold a piece of pre-cut line in half so each half is equal in length.
- Insert the ends of the line through the eyelets in the post and pull tight.
- Repeat wth the other post.
- The fixed line/blade housing is now ready to use.
OPERATION
WARNING:
Do not allow familiarity with this product to make you careless. Remember that a careless fraction of a second is sufficient to inflict serious injury.
- Always wear eye protection with side shields marked to comply with ANSI Z87.1. Failure to do so could result in objects being thrown into your eyes, resulting in possible serious injury.
- Never use blades, flailing devices, wire, or rope on this product. Do not use any attachments or accessories not recommended by the manufacturer of this product. The use of attachments or accessories not recommended can result in serious personal injury.
NOTICE:
Before each use, inspect the entire product for damaged, missing, or loose parts such as screws, nuts, bolts, caps, etc. Tighten securely all fasteners and caps and do not operate this product until all missing or damaged parts are replaced. Please contact customer service or a qualified service center for assistance.
APPLICATIONS
You may use this product for the purpose listed below:
- Trimming grass and weeds from around porches, fences, and decks when using with trimmer line
- Cutting thicker weeds or pulpy stalks when using blades
LINE TRIMMING CUT-OFF BLADE

- A – Line cut-off blade

A – Screw
B – Line cut-off bladeThe trimmer is equipped with a line trimming cut-off blade on the grass deflector. For best cutting, advance line until it is trimmed to length by the cut-off blade. Advance the line whenever you hear the engine running faster than normal, or when trimming efficiency diminishes. This will maintain best performance and keep the line long enough to advance properly.
This trimmer is currently set at the 13 in. cutting swath. To adjust to a cutting swath of 15 in.:
- Stop the engine or motor.
- Loosen the blade screw then rotate the line cut-off blade 180°.
- Tighten the blade screw.
OPERATING THE TRIMMER


WARNING
Engine housing on gas power heads may become hot during trimmer operation. Do not rest or place your arm, hand, or any body part against the engine housing dur-ing trimmer operation. Only hold the trimmer as shown in figures 10-11, with all body parts clear of engine housing. Extended contact with the engine housing can result in burns or other injuries.
- Always position the unit on the operator’s right side. The use of the unit on the operator’s left side will expose the user to hot surfaces and can result in possible burn injury.
- To avoid burns from hot surfaces, never operate unit with the bottom of the engine above waist level.
Hold the trimmer with your right hand on the rear handle and your left hand on the front handle. Keep a firm grip with both hands while in operation. Trimmer should be held at a comfortable position with the rear handle about hip height.
Always operate trimmer at full throttle for gas power heads or with the switch trigger fully pressed for cordless and electric power heads. Cut tall grass from the top down. This will prevent grass from wrapping around the shaft housing and string head which may cause damage from overheating. If grass becomes wrapped around the string head, STOP THE ENGINE or MOTOR, disconnect the spark plug wire for gas power heads, remove the battery pack for cordless power heads, or disconnect the plug from the power source for electric power heads, and remove the grass. Prolonged cutting at partial throttle will result in lubricant dripping from the muffler.
- Always hold the string trimmer away from the body keep-ing clearance between the body and the product. Any contact with the housing or string trimmer cutting head can result in burns and/or other serious personal injuries.
CUTTING TIPS
A – Dangerous cutting area
B – Direction of rotation
C – Best cutting area

See Figures 10 – 12.
- Avoid hot surfaces by always keeping the tool away from your body. (Proper operating positions shown in figures 10-11.)
- Keep the trimmer tilted toward the area being cut; this is the best cutting area.
- The trimmer cuts when passing the unit from left to right. This will avoid throwing debris at the operator. Avoid cutting in the dangerous area shown in figure 12.
- Use the tip of line to do the cutting; do not force string head into uncut grass.
- Wire and picket fences cause extra line wear and breakage. Stone and brick walls, curbs, and wood may wear line rapidly.
- Avoid trees and shrubs. Tree bark, wood moldings, siding, and fence posts can easily be damaged by the line.
- Do not attempt to touch or stop moving accessory. Coast-ing blades or line can cause injury.
When using blades:
- Do not attempt to use the fixed line/blade housing for edging. This will cause premature wear on the blades.
- Inspect trimmer head before each use and periodically during long periods of use. If either blade is bent, warped, cracked, chipped, or damaged, discontinue use immediately and replace the blades.
- Never cut any material over 1/4 in. diameter.
- After releasing the switch trigger, keep rotating accessory in thicker weeds or pulpy stalks until it stops. Maintain proper control until the accessory has completely stopped rotating.
WARNING
To avoid damaging blades or fixed line/blade housing, allow at least 1 foot of clearance between the blades and any nearby objects. Never use blades near sidewalks, fencing, posts, siding, buildings, or other immovable objects. Damaged blades or accessories can cause serious personal injury.
ADVANCING THE CUTTING LINE ON THE BUMP FEED TRIMMER HEAD
Line advance is controlled by tapping the string head on grass while running motor at full speed.
- Run engine at full throttle for gas power heads or with the switch trigger fully pressed for cordless and electric power heads.
- Tap the bump knob on ground to advance line. The line advances each time the knob is tapped. Do not hold the knob on the ground.
NOTE: The line trimming cut-off blade on the grass deflector will cut the line to the correct length.
NOTE: If the line is worn too short you may not be able to advance the line by tapping it on the ground. If so, STOP THE ENGINE or MOTOR, disconnect the spark plug wire for gas power heads, remove the battery pack for cordless power heads, or disconnect the plug from the power source for electric power heads, and manually advance the line.
To advance the cutting line manually:
- Stop the engine or motor, disconnect the spark plug wire for gas power heads, remove the battery pack for cordless power heads, or disconnect the plug from the power source for electric power heads.
- Push the bump knob in while pulling on line(s) to manually advance the line.
MAINTENANCE
WARNING
Before inspecting, cleaning, or servicing the machine, shut off engine or motor, wait for all moving parts to stop, and disconnect spark plug wire and move it away from spark plug or disconnect from power supply. Failure to follow these instructions can result in serious personal injury or property damage.
Always wear eye protection with side shields marked to comply with ANSI Z87.1. Failure to do so could result in objects being thrown into your eyes, resulting in possible serious injury.
When servicing, use only identical replacement parts. Use of any other parts could create a hazard or cause product damage.
NOTICE:
Periodically inspect the entire product for damaged, missing, or loose parts such as screws, nuts, bolts, caps, etc. Tighten securely all fasteners and caps and do not operate this product until all missing or damaged parts are replaced. Please contact customer service or a qualified service center for assistance
GENERAL MAINTENANCE
Avoid using solvents when cleaning plastic parts. Most plastics are susceptible to damage from various types of commercial solvents and may be damaged by their use. Use clean cloths to remove dirt, dust, oil, grease, etc.
WARNING
Do not at any time let brake fluids, gasoline, petroleum-based products, penetrating oils, etc., come in contact with plastic parts. Chemicals can damage, weaken or de-stroy plastic which could result in serious personal injury.
LINE AND BLADE REPLACEMENT
See Figures 13

- A – Eyelet
- B – Arrows
- C – Pull lines
- D – Rotate the bump knob
See Figures 14

- A – SPEED WINDER™
- B – Bump knob
See Figures 15

- A – Post
- B – Eyelet
- C – Line
See Figures-16.

- A – Blade
- B – Post
Use original manufacturer’s replacement line for best performance. - Stop the engine or motor, disconnect the spark plug wire for gas power heads, remove the battery pack for cordless power heads, or disconnect the plug from the power source for electric power heads.
When using the bump feed trimmer head:
- Rotate the bump knob clockwise as necessary to align the arrows on the bump knob with the arrows on the string head housing.
- Cut one piece of trimmer line 10 ft. long. Insert the line into the eyelet on the string head housing. Push until the end of the line comes out the other side of the housing. Pull the line until equal amounts of line appear on both sides of the housing.
NOTE: Line may jam if more than 10 ft. is loaded. - Either by hand or using the SPEED WINDER™, rotate the bump knob clockwise to wind the line on the spool until approximately 6 in. of line is showing on each side. NOTE: For best results, after every five to seven revolutions of the SPEED WINDER™, pull both line ends taut for best loading results and to help prevent line from tangling.
- Push the bump knob down while pulling on line(s) to manually advance the line.
When using line in the fixed line/blade housing:
- Remove old line from the string head by pulling one side of the line.
- Fold an 11 in. piece of pre-cut line in half so each half is equal in length.
- Insert the ends of the line through the eyelet in the post and pull tight.
- Repeat wth the other post.
When using blades in the fixed line/blade housing:
- Remove the fixed line/blade housing by rotating the lower housing counterclockwise so the posts and the arrows on the upper housing align, then pull the lower housing away from the upper housing.
- Remove the used blades and discard.
- Install the new blades, making sure they are fully seated.
- Reinstall the fixed line/blade housing as previously described.
CLEARING BUMP FEED TRIMMER HEAD LINE JAM AND/OR REPLACE BUMP KNOB
See Figures 17

A – String head housing
See Figures -18.

A – Upper string head housing
B – Spring
C – Lower string head housing
D – Spool
E – Bump knob
F – Spool slots
G – Knob ribs
- Stop the engine or motor, disconnect the spark plug wire for gas power heads, remove the battery pack for cordless power heads, or disconnect the plug from the power source for electric power heads.
- Remove the bump feed trimmer head housing by rotating the lower housing counterclockwise so the arrow on the upper housing aligns with the outside arrow on the bump feed housing.
NOTE: The housing is spring loaded and will self-eject when unlocked. It is not necessary to remove the upper string head housing from the drive shaft. - Push the spool and bump knob through the string head housing and remove the string from the spool.
- If replacing the bump knob, remove the old knob from the spool. Align the knob ribs with the spool slots and place the new bump knob onto the spool. If you are not replacing the bump knob, skip this step.
- Insert the bump knob and spool assembly through the opening in the string head housing.
- Align the arrows on the lower string head housing with the arrows on the upper string head housing.
- Push the housing together and rotate the lower housing clockwise until the arrows on the lower housing are aligned with the lock on the upper housing.
- Install line as described in Line and Blade Replacement.
ATTACHING THE STORAGE HANGER

See Figure 19.
There are two ways to hang the attachment for storage.
- To use the hanger cap, push in the button and place the hanger cap over the end of the attachment shaft. Slightly rotate the cap from side to side until the button locks into place.
- The secondary hole in the attachment shaft can be used for hanging purposes as well.
STORING THE ATTACHMENT - Store the attachment in a well-ventilated place that is inaccessible to children.
- Keep away from corrosive agents such as garden chemicals and deicing salts.
REPLACEMENT PARTS
0.095 in. Spiral Replacement Line (Bulk)……………AC04148
0.095 in. Spiral Replacement Line (Pre-cut) …..AC053N1FL
Replacement Blades ………………………………… AC053N1FB
Available at homedepot.com
TROUBLESHOOTING
| PROBLEM | POSSIBLE CAUSE | SOLUTION |
| Line will not advance | Line is welded to itself. Not enough line on spool. Line is worn too short. Line is tangled on spool. | Lubricate with silicone spray. Install more line. Refer to Line and Blade Replacement earlier in this manual. Pull lines while alternately pressing down on and releas- ing bump knob. Remove line from spool and rewind. Refer to Line and Blade Replacement earlier in this manual. |
| Grass wraps around boom housing and string head | Cutting tall grass at ground level. | Cut tall grass from the top down to prevent wrapping. |
CALL US FIRST
For any questions about operating or maintaining your product, call the RYOBI Help Line!
Your product has been fully tested prior to shipment to ensure your complete satisfaction.
This product has a Five-year Limited Warranty for personal, family, or household use (90 days for business or commercial use). For warranty details,visit www.ryobitools.com or call (toll free) 1-800-525-2579.

WARNING: To reduce the risk of injury, the user must read and understand the operator’s manual before using this product.
IMPORTANT SAFETY INSTRUCTIONS
When using an electrical appliance, basic precautions should always be followed, including the following:
WARNING!
READ AND UNDERSTAND ALL INSTRUCTIONS BEFORE USING THIS BLOWER. To reduce the risk of electric shock, fire and/or serious personal injury.
- Know your power blower. Read operator’s manual carefully. Learn its applications and limitations, as well as the specific potential hazards related to this blower. Following this rule will reduce the risk of electric shock, fire, or serious injury.
- Do not permit children to use blower. It is not a toy. Close attention is necessary when used near children.
- Use only accessories that are recommended by the manufacturer for your model described in this manual. Accessories that may be suitable for one blower may create a risk of injury when used on another blower. Use only as described in this manual.
- Do not handle charger, including charger plug, and charger terminals with wet hands.
- Do not put any object into openings. Do not use with any opening blocked; keep free of dust, lint, hair, and anything that may reduce air flow.
- Do not charge the unit outdoors.
- Keep hair, loose clothing, fingers, and all parts of body away from openings and moving parts.
- Turn off all controls before removing battery.
- Use extra care when cleaning on stairs or steps.
- Do not operate blowers in explosive atmospheres, such as in the presence of flammable liquids, gases, or dust. Blowers create sparks which may ignite the dust or fumes.
- Keep your work area clean and well-lit. Cluttered benches and dark areas invite accidents.
- Keep bystanders, children, and visitors at least 50 ft. away while operating a blower. Distractions can cause you to lose control.
- A battery-operated blower with integral batteries or a separate battery pack must be recharged only with the specified charger for the battery. A charger that may be suitable for one type of battery may create a risk of fire when used with another battery.
- Use battery operated blower only with specifically designated battery pack. Use of any other batteries may create a risk of fire.
- Use this product only with batteries and chargers listed in tool/appliance/battery pack/charger correlation supplement 988000-842.
- Do not operate charger with a damaged cord or plug, which could cause shorting and electric shock. If damaged, have the charger replaced by an authorized service center.
- If appliance is not working as it should, has been dropped, damaged, left outdoors, or dropped into water, return it to a service center.
- Stay alert, watch what you are doing and use common sense when operating a power blower. Do not use blower while tired, upset, or under the influence of drugs, alcohol, or medication. A moment of inattention while operating blowers may result in serious personal injury.
- Secure long hair above shoulder level to prevent entanglement in moving parts.
- Avoid accidental starting. Be sure switch is in the locked or off position before inserting battery pack. Carrying blowers with your finger on the switch or inserting the battery pack into a blower with the switch on invites accidents.
- Use safety equipment. Always wear eye protection. Dust mask, non-skid safety shoes, hard hat, or hearing protection must be used for appropriate conditions.
- Do not wear loose clothing or jewelry. Contain long hair. Loose clothes, jewelry, or long hair can be drawn into air vents.
- Do not use on a ladder, rooftop, tree, or other unstable support. Stable footing on a solid surface enables better control of the blower in unexpected situations.
- Do not use blower if switch does not turn it on or off. A blower that cannot be controlled with the switch is
dangerous and must be repaired. - Disconnect battery pack from blower or place the switch in the locked or off position before making any adjustments, changing accessories, or storing the blower. Such preventive safety measures reduce the risk of starting the blower accidentally.
- When battery pack is not in use, keep it away from other metal objects like: paper clips, coins, keys, nails, screws, or other small metal objects that can make a connection from one terminal to another. Shorting the battery terminals together may cause sparks, burns, or a fire.
- Check for misalignment or binding of moving parts, breakage of parts, and any other condition that may affect the blower’s operation. If damaged, have the blower serviced before using. Many accidents are caused by poorly maintained blowers.
- Keep the blower and its handle dry, clean and free from oil and grease. Always use a clean cloth when cleaning. Never use brake fluids, gasoline, petroleum-based products, or any strong solvents to clean your blower.
Following this rule will reduce the risk of loss of control and deterioration of the enclosure plastic. - Always wear safety glasses with side shields.
Everyday glasses have only impact-resistant lenses. They are NOT safety glasses. Following this rule will reduce the risk of eye injury. - Always wear eye protection with side shields marked to comply with ANSI Z87.1 along with hearing protection when operating this equipment.
- Protect your lungs. Wear a face or dust mask if the operation is dusty. Following this rule will reduce the risk of serious personal injury.
- Protect your hearing. Wear hearing protection during extended periods of operation. Following this rule will reduce the risk of serious personal injury.
- Battery blowers do not have to be plugged into an electrical outlet; therefore, they are always in operating condition. Be aware of possible hazards when not using your battery-powered blower or when changing accessories. Following this rule will reduce the risk of electric shock, fire, or serious personal injury.
- Under abusive conditions, liquid may be ejected from the battery; avoid contact. If contact accidentally occurs, flush with water. If liquid contacts eyes, additionally seek medical help. Liquid ejected from the battery may cause irritation or burns.
- Do not use a battery pack or appliance that is damaged or modified. Damaged or modified batteries may exhibit unpredictable behavior resulting in fire, explosion or risk of injury.
- Do not expose a battery pack or appliance to fire or excessive temperature. Exposure to fire or temperature above 265°F may cause explosion.
- Do not modify or attempt to repair the appliance or the battery pack except as indicated in the instructions for use and care.
- Do not place battery-powered blowers or their batteries near fire or heat. This will reduce the risk of explosion and possibly injury.
- Don’t expose blowers to rain or wet conditions. Water entering a blower will increase the risk of electric shock.
- Wear heavy long pants, long sleeves, boots, and gloves. Avoid loose garments or jewelry that could get caught in moving parts of the machine or its motor.
- Do not operate the equipment while barefoot or when wearing sandals or similar lightweight footwear. Wear protective footwear that will protect your feet and improve your footing on slippery surfaces.
- Keep firm footing and balance. Do not overreach. Overreaching can result in loss of balance.
- Check the work area before each use. Remove all objects such as rocks, broken glass, nails, wire, or string which can be thrown or become entangled in the machine.
- Do not point the blower nozzle in the direction of people or pets.
- Never run the unit without the proper equipment attached. Always ensure the blower tubes are installed.
- When not in use, blower should be stored indoors in a dry, locked up place—out of the reach of children.
- Do not hang unit so that the switch trigger is depressed.
- Keep all bystanders, children, and pets at least 50 ft. away.
- Do not dispose of a severely damaged or worn out battery pack or this blower by incinerating. The battery can explode in fire.
- Stop the motor, wait until all moving parts come to a complete stop, and disconnect from the power supply before cleaning or performing any maintenance.
- Never use water or any liquids to clean or rinse off your product and do not expose the product to rain or wet conditions. Store indoors in a dry area. Corrosive liquids, water, and chemicals can enter the product’s electronic components and cause damage, which can result in a short circuit, increased risk of fire, and serious personal injury. Remove any buildup of dirt and debris by wiping the product clean with a dry cloth occasionally.
- Blower service must be performed only by qualified repair personnel. Service or maintenance performed by unqualified personnel may result in a risk of injury.
- When servicing a blower, use only identical replacement parts. Follow instructions in the Maintenance section of this manual. Use of unauthorized parts or failure to follow Maintenance Instructions may create a risk of shock or injury.
- Never use blower near fires, fireplaces, hot ashes, barbecue pits, etc. Use near fires or ashes can spread fires and result in serious injury and/or property damage.
- Never use blower to spread chemicals, fertilizers, or any other toxic substances. Spreading these substances could result in serious injury to the operator or bystanders.
- Never place blower on any surface, except a hard, clean surface when motor is running. Gravel, sand, and other debris can be picked up by the air inlet and thrown at the operator or bystanders, causing possible serious injuries.
- For household use only.
- Save these instructions. Refer to them frequently and use them to instruct others who may use this tool. If you loan someone this tool, loan them these instructions also.
SYMBOLS
| The following signal words and meanings are intended to explain the levels of risk associated with this product. | ||
| SYMBOL | SIGNAL | MEANING |
![]() | DANGER: | Indicates a hazardous situation, which, if not avoided, will result in death or serious injury. |
![]() | WARNING: | Indicates a hazardous situation, which, if not avoided, could result in death or serious injury. |
![]() | CAUTION: | Indicates a hazardous situation, that, if not avoided, may result in minor or moderate injury. |
| NOTICE: | (Without Safety Alert Symbol) Indicates information considered important, but not related to a potential injury (e.g. messages relating to property damage). | |
Some of the following symbols may be used on this product. Please study them and learn their meaning. Proper interpretation of these symbols will allow you to operate the product better and safer.
SYMBOL NAME DESIGNATION/EXPLANATION
![]() | Safety Alert | Indicates a potential personal injury hazard. |
![]() | Read Operator’s Manual | To reduce the risk of injury, user must read and understand opera- tor’s manual before using this product. |
![]() | Eye and Hearing Protection | Always wear eye protection with side shields marked to comply with ANSI Z87.1 along with hearing protection when operating this equipment. |
![]() | Impeller Blades | Rotating impeller blades can cause severe injury. |
![]() | Wet Conditions Alert | Risk of fire and burns. Do not expose battery, battery compart- ment, or electronic components to rain, water, or liquids. Close cover during use. Do not operate on wet ground. |
![]() | Keep Bystanders Away | Keep all bystanders at least 50 ft. away. |
![]() | Long Hair | Failure to keep long hair away from the air inlet could result in personal injury. |
![]() | Blower Tube | Do not operate without tube in place. |
![]() | Loose Clothing | Failure to keep loose clothing from being drawn into air intake could result in personal injury. |
![]() | Ricochet | Thrown objects can ricochet and result in personal injury or prop- erty damage. |
![]() | Recycle Symbol | This product uses lithium-ion (Li-ion) batteries. Local, state, or federal laws may prohibit disposal of batteries in ordinary trash. Consult your local waste authority for information regarding available recycling and/or disposal options. |
| Some of the following symbols may be used on this product. Please study them and learn their meaning. Proper inter- pretation of these symbols will allow you to operate the product better and safer. | ||
| SYMBOL | NAME | DESIGNATION/EXPLANATION |
| V | Volts | Voltage |
| min | Minutes | Time |
| Direct Current | Type or a characteristic of current | |
| no | No Load Speed | Rotational speed, at no load |
| …/min | Per Minute | Revolutions, strokes, surface speed, orbits etc., per minute |
FEATURES
PRODUCT SPECIFICATIONS
Motor………………………………………………………………………………………………………………………………………………….40 Volts DC
Air Velocity
MPH………………………………………………………………………………………………..145 without speed tip and 190 with speed tip
CFM……………………………………………………………………………………………………………………………………………………………730
KNOW YOUR BLOWER

A – Turbo boost button
B – Variable speed switch trigger
C – Cruise control lever
E – Upper blower tube
D – Blower housing outlet
F – Speed tip
See Figure 1.
The safe use of this product requires an understanding of the information on the tool and in this operator’s manual as well as a knowledge of the project you are attempting. Before use of this product, familiarize yourself with all operating features and safety rules.
BLOWER TUBE
The blower tube can be installed on the blower without using any tools.
BRUSHLESS MOTOR
This product features a brushless motor that maximizes power and performance as well as battery run time.
CRUISE CONTROL
The cruise control feature allows the user to operate the blower without holding the switch trigger.
SPEED TIP
The speed tip increases air velocity during blower operation.
TURBO BOOST
The turbo boost feature temporarily increases air flow to maximum velocity.
VARIABLE SPEED SWITCH TRIGGER
The variable speed switch trigger delivers higher speed with increased trigger pressure and lower speed with decreased trigger pressure.
ASSEMBLY
UNPACKING
This product requires assembly.
- Carefully remove the product and any accessories from the box. Make sure that all items listed in the Packing List are included.
WARNING:
Do not use this product if any parts on the Packing List are already assembled to your product when you unpack it. Parts on this list are not assembled to the product by the manufacturer and require customer installation. Use of a product that may have been improperly assembled could result in serious personal injury.
- Inspect the product carefully to make sure no breakage or damage occurred during shipping.
- Do not discard the packing material until you have carefully inspected and satisfactorily operated the product.
- If any parts are damaged or missing, please call 1-800-525-2579 for assistance.
PACKING LIST
- Blower
- Blower Tube
- Speed Tip (2)
- Operator’s Manual
WARNING:
If any parts are damaged or missing do not operate this product until the parts are replaced. Use of this product with damaged or missing parts could result in serious personal injury.
WARNING:
Do not attempt to modify this product or create accessories not recommended for use with this blower. Any such alteration or modification is misuse and could result in a hazardous condition leading to possible serious personal injury.
WARNING:
To prevent accidental starting that could cause serious personal injury, always remove the battery pack from the tool when assembling parts.
WARNING:
This product is intended for blower use only and is not designed for vacuum use. Do not attempt to remove the main reducer housing that covers the impellers. Removal of the main reducer housing will expose the moving impellers and contact with these impeller blades can result in serious personal injury.
INSTALLING THE BLOWER TUBE
See Figures 2

- A – Speed tip
- B – Cut line
See Figure – 3.

- A – Speed tip
- B – Upper blower tube
- C – Blower housing outlet
- D – Tab
- E – Notch
- With the tab facing down, slide the blower tube over the outlet on the blower housing.
- Push the blower tube on the blower housing outlet until the tab locks into place through the notch in the blower housing.
- To remove the tube, depress the tab and slide tube off.
- To install the speed tip: Align the tab on the speed tip with the notch on the blower tube and press together until the tab locks into place.
- To remove the speed tip: depress the tab and slide the speed tip off.
NOTE: When the speed tip is installed the unit can generate air speeds of 190 mph. To reduce air velocity and increase air volume, cut the speed tip along one of the cut lines. Cut the line closest to the end of the nozzle for a smaller increase in air volume and the line farthest from the end for a greater increase in air volume. Cut portions of the tube cannot be reassembled.
OPERATION
WARNING:
Do not allow familiarity with products to make you careless. Remember that a careless fraction of a second is sufficient to inflict serious injury.
- Always wear eye protection with side shields marked to comply with ANSI Z87.1, along with hearing protection. Failure to do so could result in objects being thrown into your eyes resulting in possible serious injury.
- Do not use any attachments or accessories not recommended by the manufacturer of this product. The use of attachments or accessories not recommended can result in serious personal injury.
- Verify that all guards and tubes are in place prior to use. If the blower is dropped, stop blower and verify that no damage has occurred. If any guard, part, or tube is damaged or missing, do not use blower until it has been repaired or replaced by a qualified service center. Use of blower with damaged or missing guards, parts, or tubes can result in serious personal injury or further damage to the blower.
NOTICE:
Before each use, inspect the entire product for damaged, missing, or loose parts such as screws, nuts, bolts, caps, etc. Tighten securely all fasteners and caps and do not operate this product until all missing or damaged parts are replaced. Please contact customer service or an authorized service center for assistance.
APPLICATIONS
You may use this product for the purposes listed below:
- Clearing leaves and other debris from your lawn
- Keeping decks and driveways free from grass clippings, leaves, pine needles, and other debris
INSTALLING/REMOVING BATTERY PACK
See Figure 4.

- A – Battery pack
- B – Battery port
- C – Latch
- D – Raised rib
WARNING:
Always remove battery pack from your tool when you are assembling parts, making adjustments, cleaning, or when not in use. Removing battery pack will prevent accidental starting that could cause serious personal injury.
To install:
- Place the battery pack in the blower. Align the raised rib on the battery pack with groove in the blower’s battery port. WARNING:
Make sure the latch on the bottom of the battery pack snaps in place and the battery pack is fully seated and secure in the blower battery port before beginning operation. Failure to securely seat the battery pack could cause the battery pack to fall out, resulting in serious personal injury.
NOTICE:
When placing battery pack in the tool, be sure raised rib on battery pack aligns with the bottom of the tool and latches into place properly. Improper installation of the battery pack can cause damage to internal components.
To remove:
- Locate the latch on the bottom of the battery pack and depress to release the battery pack from the blower. WARNING:
Battery tools are always in operating condition. Therefore, switch should always be in the OFF position when not in use or carrying at your side. Remove battery pack when transporting or carrying blower to avoid accidental starting, which could result in serious injury.
For complete charging instructions, see the operator’s manuals for your battery pack and charger.
STARTING/STOPPING THE BLOWER
See Figure 5.

- To start the blower, depress the switch trigger.
- To stop the blower, release the switch trigger.
USING TURBO BOOST
See Figure 5.
- While the switch trigger is depressed, press the turbo boost to increase the air flow to the maximum velocity.
NOTE: The blower will return to normal speed when the button is released.
USING CRUISE CONTROL
- A – Turbo boost button
- B – Variable speed switch trigger
- C – Cruise control lever
- D – To release the cruise control lever
- E – To engage the cruise control lever
See Figure 5.
The cruise control can be used to operate the blower without holding the switch trigger.
To engage the cruise control:
- Depress the switch trigger and stop at the desired speed.
- Push the cruise control lever down.
- Release switch trigger.
- To release the cruise control, pull the cruise control lever all the way up.
OPERATING THE BLOWER
See Figure 6.

- To keep from scattering debris, blow around the outer edges of a debris pile. Never blow directly into the center of a pile.
- To reduce sound levels, limit the number of pieces of equipment used at any one time.
- Use rakes and brooms to loosen debris before blowing. In dusty conditions, slightly dampen surfaces when water is available.
- Conserve water by using power blowers instead of hoses for many lawn and garden applications, including areas such as gutters, screens, patios, grills, porches, and gardens.
- Watch out for children, pets, open windows, or freshly washed cars, and blow debris safely away.
- After using blowers or other equipment, CLEAN UP! Dispose of debris properly.
WARNING:
Battery tools are always in operating condition. Therefore, switch should always be in the OFF position when not in use or carrying at your side.
MAINTENANCE
WARNING:
To avoid serious personal injury, always remove the battery pack from the product when cleaning or performing any maintenance.
- Always wear eye protection with side shields marked to comply with ANSI Z87.1, along with hearing protection. Failure to do so could result in objects being thrown into your eyes resulting in possible serious injury.
- When servicing, use only identical replacement parts. Use of any other parts can create a hazard or cause product damage.
- Never use water or any liquids to clean or rinse off your product and do not expose the product to rain or wet conditions. Store indoors in a dry area. Corrosive liquids, water, and chemicals can enter the product’s electronic components and/or battery compartment and damage electronic components and/or the battery pack, which can result in a short circuit, increased risk of fire, and serious personal injury. Remove any buildup of dirt and debris by wiping the product clean with a dry cloth occasionally.
NOTICE :
Periodically inspect the entire product for damaged, missing, or loose parts such as screws, nuts, bolts, caps, etc. Tighten securely all fasteners and caps and do not operate this product until all missing or damaged parts are replaced. Please contact customer service or an authorized service center for assistance.
GENERAL MAINTENANCE
Avoid using solvents when cleaning plastic parts. Most plastics are susceptible to damage from various types of commercial solvents and may be damaged by their use. Use clean cloths to remove dirt, dust, oil, grease, etc.
WARNING:
Do not at any time let brake fluids, gasoline, petroleum-based products, penetrating oils, etc., come in contact with plastic parts. Chemicals can damage, weaken or destroy plastic which can result in serious personal injury.
STORAGE
- Clean all foreign material from the blower.
- Store indoors in a secure place that is inaccessible to children. Keep away from corrosive agents such as garden chemicals and de-icing salts.
- Do not hang unit so that the switch trigger is depressed.
This product has a Five-year Limited Warranty for personal, family, or household use (90 days for business or commercial use). For warranty details, visit www.ryobitools.com or call (toll free) 1-800-525-2579.
TECHTRONIC INDUSTRIES POWER EQUIPMENT
P.O. Box 1288, Anderson, SC 29622 USA
1-800-525-2579 • www.ryobitools.com

































