Michaela Large Chandelier
Item # RL 5773
User Guide
RL 5773 Michaela Large Chandelier
NOTICE:
This light fixture should be installed in accordance with all applicable, local installation codes, and by a person familiar with the construction and operation of it, as well as the hazards involved. Inspect items and contents carefully. If any damage or defect is found, do not install it. Retain all packaging material until installation is complete and approved.
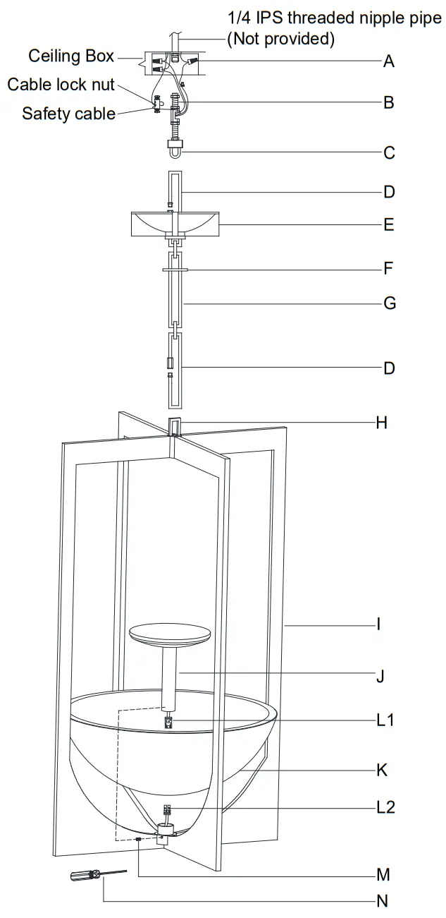
- Carefully remove all parts from the box.
- Place the fixture (I) on a clear flat surface, then install the alabaster shade (K) in the center of the frame.
- Connect the quick connector (L1 & L2) together, then put the stem of the LED module (J) to the bottom of the fixture frame (I) and secure it with the set screw (M) by using the screwdriver (N).
- Remove the collar loop (C) from the chain (G) by unscrewing the quick link (D).
- A 1/4 IPS pipe must be installed through the junction box and secured to a structural member of the building. This item must hang independently of the junction box. Then install the threaded nipple (B) into the 1/4 IPS PIPE.
- Install the canopy (E) to the collar loop (C) and secure it with the collar ring (F). If needed, adjust canopy height by loosening hex nuts and screwing collar loop (C) up or down then re-secure.
- With the fixture desired height, shorten the chain (G) as needed using the chain pliers (not provided).
- Open the chain quick link (D), then attach the chain quick link (D) to the collar loop (C). Secure the chain quick link (D).
- Open the chain quick link (D) from the opposite side then attach it to the fixture top loop (H). Secure the chain quick link (D).
- Weave the fixture wires and safety cable through the chain (G).
- When you reach the canopy and collar loop (C), measure the wires then cut, and be certain to leave enough length to connect the wires in the junction box.
ASSEMBLY INSTRUCTIONS

TO assemble safety cables:
- Join fixture safety cables with safety cables from the ceiling.
- Wrap both safety cables around the cable lock nut.
- Insert screws into both holes on the cable lock nut, and secure screws with a screwdriver.
- Push the cable lock nut into the outlet box.

![]()


















