
USER GUIDE
Skullcandy S2TDW Sesh Earbuds
Auto Pair Mode![]()

Pairing Mode
Auto Power- On![]()

Power – On
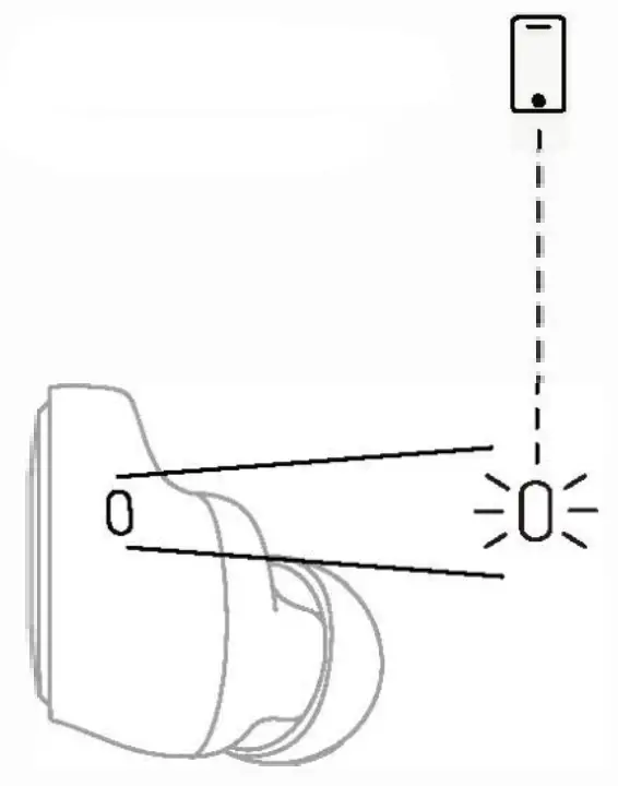
Auto Power- Off![]()

Power – Off
Charge Earbuds![]()

Charge Earbuds
ChargeCase ![]()

Charge Case
Pairing Mode ![]()

Pairing Mode
Pair New Device

Pair New Device
Power-On ![]()
Left Side 01 and Right Side 02

Power-On
Power-Off![]()
Left Side 01

Power- Off
Play/Pause ![]()
Left Side 01 or Right Side 02

Play/Pause
Track Forward ![]()
Track Forward
TrackBack ![]()
Left Side 01

Track Back
Volume Up 
Right Side 02

Volume Up
Volume+
Volume Down

Volume Down
Volume –
Answer/End 
Left Side 01 or Right Side 02

Activate Voice Assistant
Left Side 01 or Right Side 02

Activate voice Assistant
Clear Paired Device
Left Side 01 and Right Side 02 Disconnected Mode

RestDevice
Questions Visit: www.skullcandy.com
Speaker Driver. 6mm, Impedance: 16 Ohms, THD <3%01KHz, Voltage Regulation:
5V, 500mA, Bluet0oth8 5.0, Frequency Band: 2402MHz — 2480MHz, Mairum Power. <408m, Weight. 59.5g.
Skullcandy and other marks are registered trademarks of Skllcandy, Inc. All rights reserved
Maximum operating temperature 45C
FCC Compliance Statement
This device complies with Part 15 of the FCC Rules. Operation is subject to the following two conditions: (1) this device may not cause harmful interference, and (2) this device must accept any interference received, including interference that may cause undesired operation.
Changes or modifications not expressly approved by the party responsible for compliance could void the user’s authority to operate the equipment.
This equipment has been tested and found to comply with the limits for a Class B digital device, pursuant to Part 15 of the FCC Rules. These limits are designed to provide reasonable protection against harmful interference in a residential installation. This equipment generates, uses, and can radiate radio frequency energy and, ff not installed and used in accordance with the instructions, may cause harmful interference to radio communications. However, there is no guarantee that interference will not occur In a particular Installation. If this equipment does cause harmful interference to radio or television reception, which can be determined by turning the equipment off and on, the user Is encouraged to try to correct the interference by one or more of the following measures:
— Reorient or relocate the receiving antenna.
— Increase the separation between the equipment and receiver.
— Connect the equipment Into an outlet on a circuit different from that to which the receiver is connected.
— Consult the dealer or an experienced radio/TV technician for help.
ISED Compliance Statement
This device contains license-exempt transmitter(s/receiver(s) that comply with Innovation, Science and Economic Development Canada’s license-exempt RSS(s). Operation is subject to the following two conditions: (1)This device may not cause interference. (2)This device must accept any Interference, Including interference that may cause undesired operation of the device.
This equipment complies with FCC/ IC RSS-102 radiation exposure limits set forth for an uncontrolled environment. This transmitter must not be co-located or operating in conjunction with any other antenna or transmitter.
Americas
Skullcandy, Inc.
6301 N Landmark Dr.
Park City, UT 84098 U.S.A.
Skullcandy.com
Europe
Skullcandy Europe BV
Postbus 425
5500AK Ve
ldhoven Nederland
Skullcandy.eu
Canada
Skullcandy Canada ULC
329 Railway St. Unit 205
Vancouver, BC. V6A 1A4 Canada
Skullcandy.ca
Contains Li-ion battery. Battery must be
![]()
2 YEAR GLOBAL WARRANTY
The United States of America and Canada Product Purchases Only Skullcandy products are backed by a warranty. If it doesn’t work 2-year the way we promised, we’ll ake it right. For Guarantee Claims, Questions, and Terms & Conditions visit Skullcandy.com/warranty or call us at 1-888-MY SKULL.
Skullcandy products are backed by a 2-year warranty. If it doesn’t work the way we promised, we’ll make it right. Guarantee Claims, For Questions, and Terms & conditions visit Skullcarldy.com/warranty or email us at [email protected]
Warning: To avoid hearing damage, do not listen at high volume levels.
Many electrical items can be repaired or recycled, saving natural resources and the environment, if you do not recycle, electrical equipment will end up in landfills where hazardous substances will leak out and cause soil and water contamination – harming wildlife and also human health. To remind your that old electrical equipment can be recycled, it is now marked with a crossed-out wheeled bin symbol, please do not throw any electrical equipment including those marked with the crossed-out wheeled bin symbol) in your bin.
Skullcandy S2TDW Sesh Earbuds User Guide – Download [optimized]
Skullcandy S2TDW Sesh Earbuds User Guide – Download



















