VERMEIREN
Electra
INSTRUCTION MANUAL

![]()
Instructions to the specialist dealer
This instruction manual is part and parcel of the product and must accompany every product sold.
Version: C, 2016-08
All rights reserved, including translation. No part of this manual may be reproduced in any form what so ever (print, photocopy, microfilm or any other process) without written permission of the publisher, or processed, duplicated or distributed by using electronic systems.
© Vermeiren GROUP 2016
Technical details
WARNING: Risk of unsafe settings Use only the settings described in this manual.
| Make | Vermeiren |
| Address | Vermeirenplein 1/15, B-2920 Kalmthout |
| Type | Walking stick |
| Model | Electra |
| Width | 160 mm |
| Total height | 775 mm — 1000 mm |
| Height handgrip | 765 mm — 990 mm |
| Depth | 39 mm |
| Handgrip length | 120 mm |
| Wei ht | 0.35 k• |
| Maximum user weight* | max. 120 kg |
| Batteries | AAA, 1,5 V (2 batteries) |
| We reserve the right to introduce technical changes. Measurement tolerance +/- 15 mm / 1,5 kg. | |
First of all we wish to thank you for the trust you placed in us by selecting a VERMEIREN product. Before using the walking stick, read the instruction manual carefully: it will familiarise you with this product. Refer to the Vermeiren website for the instructions for the care and safety of the walking stick. Please remember that observance of our hints would keep your walking stick in an excellent condition of preservation and it will function perfectly even after years of use. If you have any further questions, please consult your specialist dealer. To find a service facility or specialist dealer near you, contact the nearest Vermeiren facility. A list of Vermeiren facilities can be found on the last page. Visually impaired people can contact the dealer for the instructions for use.
Components

| 1 = Handgrip 2 = Led light 3 = Buzzer 4 = Warning light 5 = Identification plate | 6 = Frame 7 = Anti-noise ring 8 = Height-adjusting and locking device 9 = Tip |
Explanation of symbols
Maximum mass
CE conformity
Check after delivery
Unpack your product and verify if the delivery is complete. Following items should be included:
- 1 walking stick + Handgrip with LED light, warning light
- Tip
- Height adjustment system
- Manual
The two AAA batteries of 1,5 V are not included with the delivery.
Verify your product for transport damage. If you find any damages after delivery proceed as follows: contact the transporter have a list made of any problems contact your supplier
Intended use / environment
WARNING: Risk of falling – Do not use the walking stick if you have weak arm, wrist joint function or poor equilibrium.
A walking stick give the user support during walking and makes it easier to walk. These support can be useful for balance problems or pain when walking.
The walking stick can be used indoor and outdoor. Be extra careful that you do not slip when using on wet surfaces.
However, it cannot be used by persons with a visible weakened hand-/arm function, wrist joints. The walking stick is not suited to use in high mountains, or on rough underground (big stones, …).
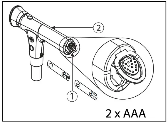
Placing / Removing batteries
To place the batteries use instructions below:
- Open the flap on
1the backside of the handgrip2, by moving the locking mechanism upwards. - Remove first the old batteries (if available).
- Place the new batteries in the direction like shown in the figure below.
- Close the flap on
1the backside of the handgrip2, by moving the locking mechanism downwards.
Operating LED light and warning light
To operating the LED light and warning light use instructions below:
- Press once on the button
1, the LED light lit. - Press again or twice on the button , the LED light and warning light lit at the same time.
- Press again or three times on the button
1, the LED light and warning light goes out.
Operating the buzzer
To operating the buzzer use the instructions below:
- Press the panic button
2, the buzzer shall be activated. - Press the panic button again
2to turn the buzzer off.
Angle adjustment LED light
It is possible to adjust the angle of the LED light with the instructions below:
- Grasp the LED light with your hand.
- Move these downwards or upwards until the desired angle (4 positions: 0° / – 15° / – 30° / -45°).

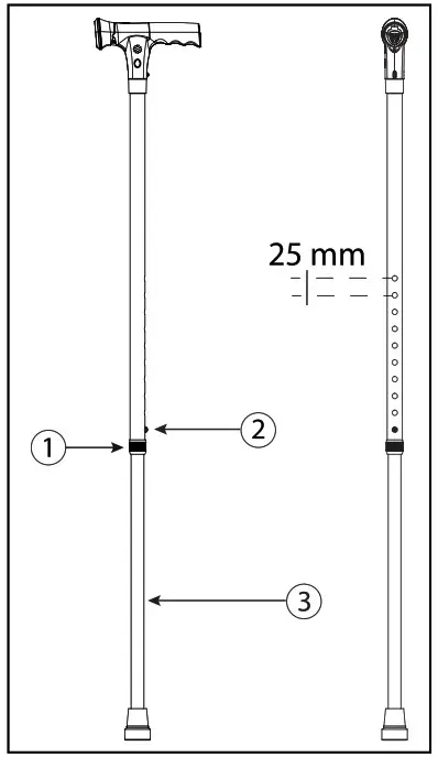
Height adjustment walking stick
CAUTION: Risk of falling – Check that the spring pins are good clicked back.
Before using the walking stick you must adjust these in the correct height. Adjust the height of the walking stick according following instructions:
- Unscrew the anti-noise ring
1. - Press on the spring pin
2. - Pull / push the lower tube
3until the desired height (10 different positions: increments of 25 mm).
Ensure that the height of your wrist is at the same height of the handgrip when you leave your arms loose next your body. Ensure that your body is in an upright position. - Check that the spring pin
2is good clicked back. - Tighten the anti-noise ring
1again firmly.
Walking
CAUTION: Risk of falling – Do not place the walking stick too far to the front.
Follow the advice of your doctor or physiotherapist how you must walk with the walking stick. When you have no advice, you can use the instructions below:
- Always walk upright with the walking stick right next to your body.
- Put the walking stick while walking never further than your front leg.
- Be careful with wet/slippery ground.
- Do not place the walking stick in a curve while walking otherwise you can slip out. Place the walking stick on the side of your unaffected leg or the side were you need support. Place your affected leg forward simultaneously with the walking stick and then your unaffected leg.
Walking on stairs
When there is a handrail available, you can use these as support and on the other side you can use the walking stick. Ensure that the handrail is on the healty side of your body, if possible.
Lean on the handrail and place the walking stick on the first step. Place your unaffected leg on the first step and put your affected leg beside them.
Safety instructions
- Let someone assist you if this is the first time you are using the walking stick.
- Note that you use your walking stick on a good surface. (Not with too many gravel).
- Be extra careful on a wet / slippery ground.
- Before every usage, check if the walking stick is adjusted in the correct height.
- Check that the spring pins for the height adjustment are good clicked back and the anti noise-ring is firmly secured.
- Do not place the walking stick in a curve or too far from your body to avoid risk of falling.
- Do not use the walking stick as a toy.
- Do not hold the handgrip with wet hands. If you do so, you can lose your grip and lose your balance.
- Do not take to big steps with the walking stick.
- The max. user weight of the product is 120 kg.
- Risk of burns Be careful when using in hot or cold environments (sunshine, extreme cold, saunas, etc.) for a sufficient amount of time and when touching – Surfaces can assume the environment temperatures.
- Take note of the instructions for care and service. The manufacturer is not liable for damage caused by improper servicing/care.
Maintenance
For the maintenance manual of the walking sticks refer to the Vermeiren website: www.vermeiren.com.
Manufacturer
Vermeiren GROUP
Vermeirenplein 1 / 15
B-2920 Kalmthout
Tel: +32(0)3 620 20 20
Fax: +32(0)3 666 48 94
website: www.vermeiren.be
e-mail: [email protected]




















