INSTRUCTIONS FOR:
AIR OPERATED OIL PUMP
Model: AK450DP
Thank you for purchasing a Sealey product. Manufactured to a high standard this product will if used according to these instructions and properly maintained, give you years of trouble-free performance.
IMPORTANT: PLEASE READ THESE INSTRUCTIONS CAREFULLY. NOTE THE SAFE OPERATIONAL REQUIREMENTS, WARNINGS & CAUTIONS.
USE THE PRODUCT CORRECTLY AND WITH CARE FOR THE PURPOSE FOR WHICH IT IS INTENDED. FAILURE TO DO SO MAY CAUSE DAMAGE OR PERSONAL INJURY AND WILL INVALIDATE THE WARRANTY. PLEASE KEEP INSTRUCTIONS SAFE FOR FUTURE USE.
SAFETY INSTRUCTIONS
Maintain the pump in good condition (use an authorized service agent).
Replace or repair damaged parts. Use recommended parts only. Non-authorized parts may be dangerous and will invalidate the warranty.
Keep the pump clean for the best and safest performance.
Wear appropriate protective clothing.
Install the pump in an appropriate working area. Keep the area clean and tidy, free from unrelated materials, and ensure there is adequate lighting.
Maintain correct balance and footing. Ensure the floor is not slippery and wear non-slip shoes.
Keep children and unauthorized persons away from the working area.
Dispose of waste liquids in accordance with local authority regulations.
• WARNING! Turn off the air supply and de-pressurize the output line before removing the pump unit from any installation or mobile system.
Failure to comply with this instruction may damage the unit and will invalidate the warranty.
When not in use ensure the air supply is turned off.
DO NOT allow unauthorized persons to operate the pump.
• WARNING! DO NOT tamper with, or open, the pump unit. To do so will invalidate the warranty.
DO NOT point airline at yourself, other persons, or animals.
DO NOT use the pump to draw off any liquids other than oils.
• WARNING! DO NOT allow uncontrolled discharge of fluids thus polluting the environment.
DO NOT force the pump to achieve a task it was not designed to perform.
DO NOT operate the pump when you are tired, under the influence of alcohol, drugs, or intoxicating medication.
DESCRIPTION & APPLICATION
2.1. Description
AK450DP is designed as a high volume transfer pump for the discharge of waste oil from Sealey models AK450DX, AK464DX, and other similar types of oil drainers. The pump is supplied with a wall mounting bracket and 2½ meters of flexible hose with a dry-fit quick coupling to attach it to the drainer unit. 2 meters of flexible air supply hose with air management system are also included. The pump may be plumbed into a run of pipe-work to a waste oil storage point. Recommended pipe diameter is 3/4″ or larger.
The delivery performance will be affected by the length and diameter of the delivery lines.
SPECIFICATION
| Ratio | 1:1 |
| Maximum air pressure | 8 bar (120psi) |
| Operating air pressure | 6 bar ( 90psi) |
| Minimum air pressure | 2 bar ( 30psi) |
| Max. output pressure | 8 bar (120psi) |
| Max. free flow delivery | 35L/m |
| Free flow delivery at 6 bar | 35L/m |
| Air consumption at 6 bar | 8cfm |
| Air inlet port | 1/4″ BSP |
| Output port | 3/4″ BSP |
| Suction port | 3/4″ BSP |
| Max. sound level at 1m | 75dB(A) |
ASSEMBLY & INSTALLATION

4.1. Contents: Remove items from the carton, identify and check pieces for any damage. Contact the supplier immediately if you experience a problem.
| 1. Pump 2. Filter-regulator 3. Lubricator 4. Pressure gauge 5. Mounting bracket, filter-regulator | 6. Air inlet hose and fitting 7. Suction hose and fittings 8. Wall bracket, pump 9. Hex plug, regulator 10. Fitting, air system – 2 off |
4.2. Assembly
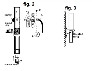
4.2.1. The air control unit items (fig.1. 2 & 3) have polycarbonate bowls and must not be installed where the bowls may be exposed to materials incompatible with polycarbonate such as certain solvents and chemicals, or where fumes can weaken the bowls. If this is unavoidable, an extension airline hose may be placed between the pump unit and the air control unit, but should not exceed 2 meters (6½ft) in length. Note that a mounting bracket (fig.1.5) is supplied to provide support for the remote positioned air control unit.
*WARNING! Clean new airlines ensuring all metal shavings have been removed before connecting the pump and control unit. Any dirt in the inlet lines could damage the unit and may invalidate the warranty.

4.2.2. Connect filter regulator to lubricator using one of the fittings (10). Note the airflow direction arrows on each unit and that lubricator must be between the pump and filter regulator. Using the second fitting (10) connect the lubricator outlet to the pump air inlet.
4.2.3. Screw gauge (4) into filter-regulator port, choosing the port which will provide easiest gauge visibility in the final installed position. Plug the remaining gauge port with plug (9).
Screw air hose (6) into the filter-regulator inlet port. Secure all connections (but do not overtighten).
4.3 Installation. Wall mounting.
DO NOT install the unit where it may be damaged by moving apparatus or may endanger personal safety.
4.3.1. Secure wall mounting bracket (fig.1.8) to the wall, as shown in fig.3, ensuring wall and attaching screws are adequate to take the weight of the pump and the pull of the suction and output hoses.
Remove the knurled mounting ring from the pump body and pass the pump unit through the mounting bracket and secure it with the knurled ring.
4.3.2. Attach suction hose (fig.2.7) to the inlet at the base of the pump unit. Attach output line (¾” bore – not supplied, see fig.2) to the pump output port.
4.3.3. The bowl of the filter regulator (fig.2.2) is fitted with an automatic drain valve the outlet of which may be piped away using a suitably sized flexible tube.
4.3.4. Remove lubricator (fig.2.3) oil filler plug and fill with good quality air tool oil (Sealey ATO/500 500ml size or ATO/1000 1L size) checking the maximum level marked on the side of the unit.
Note: The installation of a wall bracket next to the pump, to support the suction hose when not in use, is recommended.
4.3.5. Use PTFE tape or similar on all connections to ensure leak-free joints.
OPERATING INSTRUCTIONS
5.1. Air regulator
The regulator should be set at 6 bar/90psi. It is important to maintain the correct operating pressure to ensure that the control valves and connectors are not damaged and to prevent leakage in the delivery lines.
5.1.1. Connect the suction hose (fig.2.7) to the oil drain unit and ensure the outlet hose will dispose of the waste in accordance with local authority regulations. DO NOT pollute the environment by the uncontrolled discharge of waste products.
* WARNING! Do not operate pump dry – suction line must be connected to drainer before turning on.

5.1.2. Before turning on the air supply for the first time ensure that the pressure regulator knob (fig.4.A) is unwound (anticlockwise) so that there is no load on the regulator spring. Turn on the air supply. The regulator output gauge (fig.2.4) should show zero. Turn regulator knob clockwise, slowly, until the gauge shows 6 bar (90psi) – pump will start at approx. 2 bar. Lock knob with locking ring (fig.4.B) to prevent accidental movement.
Note: When resetting the regulated pressure always start from below the new required pressure and adjust up.
5.1.3. Check that there are no leaks from any of the hoses or fittings.
5.1.4. When pumping is complete turn the airline of. Disconnect suction hose from drain unit and store. Wipe up any spillage.
Note: Waste oil will not pump if its viscosity is too high.
MAINTENANCE
* WARNING! Ensure that the pump is disconnected from the airline and that there is no pressure in the output line before attempting any service or maintenance.
Note: It is essential that dirt and moisture are kept out of the air supply to the pump. Drain the air supply system and clean filters regularly.
6.1. Airline lubricator and water trap (fig.2.3)
This unit is designed to automatically lubricate the pump via the air supply. The unit must be kept topped up with good quality air tool oil (Sealey reference: ATO/500 – 500ml size or ATO/1000 – 1L size). To adjust the oil flow turn the oil regulator on the top of the unit.
Turn screw anticlockwise to increase the flow and clockwise to decrease flow – set to minimum flow for this application. At regular intervals check that water is draining from the filter regulator since it is essential that water does not enter the pump.
6.2. Cleaning.
Clean pump and air units with a clean damp cloth. Mild detergents may be used to remove oil.
DO NOT use solvents or abrasives and do not get the pump or air units wet.
TROUBLESHOOTING
| THE PROBLEM | THE CAUSE | THE SOLUTION |
| 1. Air motor does not operate. | 1.1. Air pressure is too low. 1.2. Muffler is blocked. 1.3. Internal defect | 1.1. Adjust air pressure to above 2 bar/30psi. (5.1). 1.2. Contact service agent. 1.3. Contact service agent. |
| 2. Poor performance | 2.1. Muffler is blocked. 2.2. Waste fluid to be pumped is below 15ºC. 2.3. Viscosity too high for pump | 2.1. Contact service agent. 2.2. Increase oil temperature by moving drain unit to warmer area. 2.3. Check viscosity of waste oil. |
Declaration of Conformity We, the UK distributor, declare that the product listed below is in conformity with the following standards and directives
AIR OPERATED OIL PUMP
Model AK450DP
98/37/EC Machinery Directive
The construction file for this product is held by the Manufacturer and may be inspected on request by contacting Jack Sealey Ltd.
Signed by Mark Sweetman
1st October 1999
For Jack Sealey Ltd. Sole distributor of Sealey Power Products.
NOTE: It is our policy to continually improve products and as such we reserve the right to alter data, specifications, and component parts without prior notice.
IMPORTANT: No liability is accepted for incorrect use of this equipment.
WARRANTY: Guarantee is 12 months from purchase date, proof of which will be required for any claim.
INFORMATION: For a copy of our latest catalog call us on 01284 757525 and leave your full name and address, including postcode.
Sole UK Distributor, Sealey Group,
Bury St. Edmunds, Suffolk.
01284 703534
01284 757500
E-mail: [email protected]
AK450DP – 0444 – (2) – 190899



















